1911 Encyclopædia Britannica/Sights
SIGHTS, the name for mechanical appliances for directing the axis of the bore of a gun or other firearm on a point whose position relative to the target fired at is such that the projectile will strike the target.
Gun Sights. — Until the 19th century the only means for sighting cannon was by the "line of metal" — a line scored along the top of the gun, which, owing to the greater thickness of metal at the breech than at the muzzle, was not parallel to the axis. "Some allowance had to be made for the inclination of the line of metal to the axis" (Lloyd and Hadcock, p. 32). The line of metal does not come under the definition of sights given above. In the year 1801 a proposal to use sights was sent to Lord Nelson for opinion, and elicited the following reply: "As to the plan for pointing a gun, truer than we do at present, if the person comes, I shall, of course, look at it, or be happy, if necessary, to use it; but I hope we shall be able, as usual, to get so close to our enemies that our shot cannot miss the object" (letter to Sir E. Berry, March 9, 1801). Three weeks later the fleet under Sir Hyde Parker and Nelson sailed through the Sound on its way to Copenhagen. In replying to the guns of Fort Elsinore no execution was done, as the long range made it impossible to lay the guns (Lloyd and Hadcock, p. 33).
The necessity for sights follows directly on investigation of the forces acting on a projectile during flight. In a vacuum, the projectile acted on by the force of projection begins to fall under the action of gravity immediately it leaves the bore, and under the combined action of these two forces the path of the projectile is 9. parabola. It passes over equal spaces in equal times, but falls with an accelerating velocity according to the formula h = 1/2gt2, where h is the height fallen through, g the force of gravity, and t the time of flight. From fig. 1 it will be seen that in three seconds the projectile would have fallen 144 ft. to G; therefore to strike T the axis must be raised to a point 144 ft. vertically above G.

Fig. 1—Elevation.
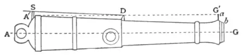
This law holds good also in air for very low velocities, but, where the velocities are high, the retardation is great, the projectile takes longer to traverse each succeeding space, and consequently the time of flight for any range is longer; the axis must therefore be directed still higher above the point to be struck. The amount, however, still depends on the time of flight, as the retardation of the air to the falling velocity may be neglected in the case of flat trajectory guns. Owing to the conical shape of the early muzzle-loading guns, if one trunnion were higher than the other, the "line of metal" would no longer be in the same vertical plane as the axis; in consequence of this, if a gun with, say, one wheel higher than the other were layed by this line, the axis would point off the target to the side of the lower wheel. Further, the inclination of the line of metal to the axis gave the gun a fixed angle of elevation varying from 1° in light guns to 21/4° in the heavier natures. To overcome this a "dispart sight" (D) was introduced (fig. 2) to bring the line of sight (A′DG′) parallel to the axis (AG).

Fig. 2.—Dispart and Tangent Sights.
AG is the axis of the bore, ab the dispart, A′DG′ is parallel to AG D is the dispart sight, S the tangent sight, A′DS the clearance angle! At greater elevations than this the muzzle notch is used; to align on the target at lesser angles the dispart sight is so used. Guns without dispart sights cannot be layed at elevations below the clearance angle.
The earliest form of a hind or breech sight was fixed, but in the early part of the 19th century Colonel Thomas Blomefield proposed a movable or tangent sight. It was not, however, till 1829 that a tangent sight (designed by Major-General William Millar) was introduced into the navy; this was adopted by the army in 1846. In the case of most guns it was used in conjunction with the dispart sight above referred to- The tangent sight (see fig. 3) was graduated in degrees only. I here were three patterns, one of brass and two of wood. As the tangent sight was placed in the line of metal, hence directly over the cascable, very little movement could be given to it so that a second sight was required for long ranges. This was of wood; the third sight, also of wood, was for guns without a dispart patch which consequently could not be layed at elevations below the dispart angle.
Graduation of tangent sights.

Fig. 3.—Early Tangent Sight.
Referring to fig. 1 it will be seen that in order to strike T the axis must be directed to G′ at a height above T equal to TG, while the line of sight or line joining the notch of the tangent sight and apex of the dispart or foresight must be directed on T. In fig. 4 the tangent sight has been raised from O to S, the line of sight is SMT, and the axis produced is AG'. D is the dispart, M the muzzle sight, OM is parallel to AG'. Now the height to which the tangent sight has been raised in order to direct the axis on G′ is evidently proportional to the tangent of the angle OMS = AXS. This angle is called the angle of elevation; OM is constant and is Fig 3 called the sighting radius. If. the dispart sight were Early Tangent being used, the sighting radius would be OD, but, as Sight at the range in fig. 4, the line of sight through D fouls the metal of the gun, the muzzle sight M is used. The formula for length of scale is, length = sighting radius X tangent of the angle of elevation. In practice, tangent sights were graduated graphically from large scale drawings. It will be seen from fig. 4 that if the gun and target are on the same horizontal plane the axis can be equally well directed by inclining it to the horizontal through the requisite number of degrees. This is called " quadrant elevation, and the proper inclination was given by means of the gunner's quadrant," a quadrant and plumb bob, one leg being made long to rest in the bore, or by bringing lines scribed on the breech of the gun in line with a pointer on the carriage; these were called quarter sights."
Such were the sights in use with smooth-bore guns in the first half of the last century. Tangent sights were not much trusted at first. Captain Haultain, R.A., says in his description of testing sights (Occasional Papers, R.A. Institute, vol. i.): "Raise the sight, and if it keeps in line with a plumb bob, it can be as confidently relied upon as the line of metal, if the trunnions are horizontal. If the scale is only slightly out of the perpendicular, a few taps of the hammer will modify any trifling error."

Fig. 4.—Theory of Tangent Sight.
The introduction of rifling necessitated an improvement in sights and an important modification in them. It was found that projectiles fired from a rifled gun deviated laterally from the line of fire owing to the axial spin of the projectile, and that if the spin were right-handed, as in the British service, theSights for rifled guns. deviation was to the right. This deviation or derivation is usually called drift (for further details see Ballistics). The amount of drift for each nature of gun at different ranges was determined by actual firing. To overcome drift the axis must be pointed to the left of the target, and the amount will increase with the range.
In fig. 5 (plan) at a range HT, if the axis were directed on T, drift would carry the shot to D, therefore the axis must be directed on a point D such that D′T = DT. HFT is the line of sight without any allowance for drift, causing the projectile to fall at D. Now if the notch of the tangent sight be carried to H′ in order to lay or, T, the fore-sight, and with it the axis, will be moved to F′, the line of fire will be HF′D′, and the shot will strike T since D′T = DT. Left deflection has been put on; this could be done by noting the amount of deflection for each range and applying it by means of a sliding leaf carrying the notch, and it is so done in howitzers; in most guns, however, it is found more convenient and sufficiently accurate to apply it automatically by inclining the socket through which the tangent scale rises to the left, so that as the scale rises, i.e., as the range increases, the notch is carried more and more to the left, and an increasing

Fig. 5.—Drift.
The height of tangent scale for any degree of elevation is given with sufficient accuracy by the rough rule for circular measure h= a×R/3×1200 where a is the angle of elevation in minutes, h the height of the tangent scale, and R the sighting radius; thus for 1° h= 60×R/3600 = R/60. Now supposing the sight is inclined 1° to the left, which will move the notch from H to H′ (see fig. 6); as before HH′ = R/60, but in this case R=h=R/60∴ HH′ = R/60×60, the resultant angle of deflection is HFH′, and this can be determined by the same formula a = h×1200×3/R, but in this case h=HH′=R/60×60 ∴a=R×3600/R×3600=1′, so that if the sight is inclined to the left 1° it will give 1′ deflection for every degree of elevation.

Fig. 6.—Correction for Drift.

Fig. 7.
By the same formula it can be shown that 1′ deflection will alter the point of impact by 1 in. for every 100 yds. of range; thus the proper inclination to give a mean correction for drift can be determined. In the early R.B.L. guns this angle was 2° 16′. With rifled guns deflection was also found necessary to allow for effect of wind, difference of level of trunnions, movement of target, and for the purpose of altering the point of impact laterally. This was arranged for by a movable leaf carrying the sighting V, worked by means of a mill-headed screw provided with a scale in degrees and fractions to the same radius as the elevation scale, and an arrowhead for reading. Other improvements were: the gun was sighted on each side, tangent scales dropping into sockets in a sighting ring on the breech, thus enabling a long scale for all ranges to be used, and the foresights screwing into holes or dropping into sockets in the trunnions, thus obviating the fouling of the line of sight, and the damage to which a fixed muzzle sight was liable. The tangent sight was graduated in yards as well as degrees and had also a fuze scale. The degree scale was subdivided to 10′ and a slow-motion screw at the head enabled differences of one minute to be given; a clamping screw and lever were provided (see fig. 7).
Fore-sights varied in pattern. Some screwed in, others dropped into a socket and were secured by a bayonet joint. Two main shapes were adopted for the apex—the acorn and the hogsback. Instruction in the use of sights was based on the principle of securing uniformity in laying; for this reason fine sighting was discountenanced and laying by full sight enjoined. "The centre of the line joining the two highest points of the notch of the tangent sight, the point of the fore-sight and the target must be in line" (Field Artillery Training, 1902) (see fig. 8).

Fig. 8.—Laying by Full Sight.
Since the early days of rifled guns tangent sights have been improved in details, but the principles remain the same. Except for some minor differences the tangent sights were the same for all natures of guns, and for all services, but the development of the modern sight has followed different lines according to the nature and use of the gun, and must be treated under separate heads.
Sights for Mobile Artillery.
With the exception of the addition of a pin-hole to the tangent sight and cross wires to the fore-sight, and of minor improvements, and of the introduction of French's crossbar sight and the reciprocating sight, of which later, no great advance was made until the introduction of Scott's telescopic sight. Field artillery sights. This sight (see Plate, fig. 9) consists of a telescope mounted in a steel frame, provided with longitudinal trunnions fitting into V's in the gun. These V's are so arranged that the axis of the sight frame is always parallel to that of the gun. By means of a cross-level the frame can be so adjusted that the cross axis on which the telescope is mounted is always truly horizontal. Major L. K. Scott, R.E., thus described how he was led to think of the sight: "I had read in the Daily News an account of some experimental firing carried out by H.M.S. ' Hotspur ' against the turret of H.M.S. 'Glatton.' At a range of 200 yds. on a perfectly calm day the 'Hotspur' fired several rounds at the 'Glatton's' turret and missed it." Major Scott attributed this to tilt in the sights due to want of level of mounting (R.A.I. Proceedings, vol. xiii.). Tilt of sights in field guns owing to the sinking of one wheel had long been recognized as a source of error, and allowed for by a rule-of-thumb correction, depending on the fact that the track of the wheels of British field artillery gun-carriages is 60", so that, for every inch one wheel is lower than the other, the whole system is turned through one degree—
a = h×1300×3/60=h×60′ or 1°, as h is 1 inch.
Referring to the calculations given above, this is equivalent to 1′ deflection for every degree of elevation, which amount had to be given towards the higher wheel. This complication is eliminated in Scott's sight by simply levelling the cross axis of the telescope. Other advantages are those common to all telescopic sights. Personal error is to a great extent eliminated, power of vision extended, the sight is self-contained, there is no fore-sight, a fine pointer in the telescope being aligned on the target. It can be equally well used for direct or indirect, forward or back laying. A micrometer drum reads to 2', while the vernier reads to single minutes so that very fine adjustments can be made.
Disadvantages of earlier patterns were, the telescope was inverting, the drum was not graduated in yards, and drift not allowed for. These defects were all overcome in later patterns and an important addition made, viz. means of measuring the angle of sight. In speaking of quadrant elevation a briefScott's sight. reference was made to the necessity for making an allowance for difference of level of gun and target. Figs. 10 to 13 explain this more fully, and show that for indirect laying the angle of sight must be

Figs. 10, 11, 12, 13.
added to the angle of elevation if the target is above the gun, and subtracted if vice versa. In Scott's sight, mark iv., there is a longitudinal level pivoted at one end and provided with a degree scale up to 4°; the level is moved by a spindle and micrometer screw reading to 2′. If now the telescope be directed on the target and this level be brought to the centre of its run, the angle of sight can be read—if afterwards any range ordered is put on the sight and the gun truly layed, this bubble will be found in the centre of its run—so that if thereafter the target becomes obscured the gun can be relayed by elevating till the bubble is in the centre of its run, or at a completely concealed target the angle of sight can, if the range and difference of level are known or can be measured from somewhere near the gun, be put on by means of the micrometer screw, and the gun subsequently layed by putting the range in yards or degrees on the sight drum and elevating or depressing till the bubble is central. The disadvantages that still remain are that the sight has to be removed every time the gun is fired, and the amount of deflection is limited and has to be put on the reverse way to that on a tangent scale. Scott's sight, though no longer used with quick-firing guns, is the precursor of all modern sights.

Fig. 9.—SCOTT'S TELESCOPIC SIGHT.
By permission of the Controller, H.M. Stationery Office.

Photo, Friedr. Krupp, A.G.
Fig. 14.—KRUPP INDEPENDENT LINE OF SIGHT.
of the mounting, so that the necessity of removing a delicate telescopic sight every round disappeared, and telescope sights on the rocking-bar principle (see below) were introduced for 4·7-in. Q.F. guns on field mountings; these sights admit of continuous laying, i.e. the eye need not be removed when the gun is fired. The increased importance of concealment for one's own guns and the certainty of being called upon to engage concealed targets, brought indirect laying into great prominence (see also Artillery). This form of laying is of two kinds: (1) that in which the gun can be layed for direction over the sight on the target itself, or on some aiming point close by, but from Indirect laying. indistinctness or other causes quadrant elevation is preferred; and (2) that used when the target is completely hidden and an artificial line of fire laid out and the guns layed for direction on pointers, or the line transferred to a distant aiming point. The old method of giving quadrant elevation by clinometer was obviously too slow. Scott's sight (see above) was the first attempt to obtain indirect laying for elevation by means of the sight itself, and in that sight the angle of sight was taken into account; in modern guns this is effected by what is technically called the “independent line of sight” (see Ordnance: Field Equipments). It is obtained by different means in different countries, but the principle is the same. There must be two sets of elevating gears, one which brings the axis of the gun and the sights together on to the target, thus finding the angle of sight and also pointing the axis of the gun at the target, and a second by which, independent of the sight which remains fixed, the elevation due to the range can be given to the gun and read by means of a pointer and dial marked in yards for range. This latter is shown in the Krupp equipment (Plate, fig. 14), in which the sight is attached to the cradle, but does not move with it. The hand-wheel that screws the gun and cradle down at the same time screws the sight up, and vice versa. When the target is completely concealed it is necessary to lay the gun on an aiming point more or less out of the line of fire, or to lay on a “director” with a large amount of deflection, and to align aiming posts with the sights at zero to give the direction of the target, and afterwards perhaps to transfer the line of sight to some other distant object, all of which require a far greater scope of deflection than is afforded by the deflection leaf. In the South African war improvised detachable deflection scales of wood or iron placed over the fore-sight, called gun arcs, were used, but this device was clumsy, inaccurate and insufficient, as it only gave about 30° right or left deflection, and only a sight that admitted of all-round laying could really satisfy the requirements. “The goniometric sight in its simplest form is a circular graduated base plate on which a short telescope or sighted ruler is pivoted. Besides the main graduations there is usually a separate deflection scale” (Bethell). In this form, which is found in British field artillery, the goniometric or dial sight is used for picking up the line of fire. In the pillar sight used in the French 80- and 90-mm. Q.F. guns it is used for laying for direction.
The collimateur, or sight proper, has a lateral movement of 9°, and is actuated by the drum on the right turned by the mill-headed screw. The drum is divided into 100 graduations, each equal to 5·4′. The gonio plate below is divided into 4 quadrants, and each quadrant into 10 spaces of 9 each numbered in hundreds from o to 900. The stem is turned by pressing down on the mill-headed screw. The collimateur which is used in many sights is a rectangular box closed at one end by a darkened glass with a bright cross. Its use is graphically described in a French text-book thus: "The layer, keeping his eye about a foot from the collimateur and working the elevating wheel, makes the horizontal line dance about the landscape until it dances on to the target ; then working the traversing gear he does the same with the vertical line; then bringing his eye close, he brings the intersection on to the target." In the Krupp arc sight (see Plate, fig. 14), the goniometric sight is placed on the top of the arc. In the French field Q.F. artillery the intermediate carriage (see description and diagram in article Ordnance: Field Equipments) carries the sight.

From Treatise on Service Ordnance.
Fig. 15.
Mountain artillery sights. Fig. 15 shows the reciprocating sight for the 2·5-in. gun. The sight drops through a socket in a pivoted bracket which is provided with a level and a clamp; the level is fixed at the correct angle for drift; if the sight (as is especially liable to be the case on steep hillsides) is tilted away from the angle it can be restored by moving the bracket till the bubble of the spirit-level is central, and then clamping it.
With howitzers indirect laying is the rule, elevation being usually given by clinometer, direction by laying on banderols marking out the line of fire; then, when the direction has been established, an auxiliary mark, usually in rear, is selected and the line transferred to it. At night this mark is replaced by a lamp installed in rear and in line with the sights. The normal method of laying these is from the fore-sight over the tangent sight to a point in rear. Special sights were designed for this purpose by Colonel Sir E. H. French, called cross-bar sights, and were in the Siege artillery sights. year 1908 still in use with British 6-in. B.L. howitzers. The principle of these sights (see fig. 16) is that the tangent sight has a steel horizontal bar which can slide through the head of the tangent scale for deflection, and is graduated for 3 left and 1° right deflection. One end of the bar is slotted to take the sliding leaf; this end of the bar is graduated from 0° to 6°, and in conjunction with the fore-sight affords a lateral scope of 6° on either side of the normal for picking up an auxiliary mark. The fore-sight

Fig. 16.
has a fixed horizontal bar slotted and graduated similarly to the slotted portion of the tangent sight. The leaves are reversible, and provided with a notch at one end and a point at the other, so that they can be used for either forward or reverse laying. The leaf of the fore-sight has a pinhole, and that of the tangent sight cross-wires for fine reverse laying. Fore-sights are made right and left; tangent sights are interchangeable, the graduations are cut on the horizontal edges above and below, so that the sight can be changed from right to left or vice versa by removing and reversing the bar. Howitzer sights are vertical and do not allow for drift; they are graduated in degrees only. Goniometric sights have recently been introduced into British siege artillery. The pattern is that of a true sight, that is to say, the base plate is capable of movement about two axes, one parallel to and the other at right angles to the axis of the gun, and has cross spirit-levels and a graduated elevating drum and independent deflection scale, so that compensation for level of wheels can be given and quadrant elevation.
In smooth-bore days the term mortar meant a piece of ordnance of a peculiar shape resting on a bed at a fixed angle of quadrant elevation of 45°. It was ranged by varying the charge, and layed for line by means of a line and plumb bob aligned on a picket. The term mortar, though not used Laying Mortars. in the British service, is still retained elsewhere to signify very short, large-calibre howitzers, mounted on a bed with a minimum angle of elevation of 45 , which with the full charge would give the maximum range. Range is reduced by increasing the angle of elevation (by clinometer) or by using reduced charges. In the 9·45-in. Skoda howitzer, which is really a mortar as defined above, direction is given by means of a pointer on the mounting and a graduated arc on' the bed. For a description of Goerz panoramic, “ghost” and other forms of sights, see Colonel H. A. Bethell, Modern Guns and Gunnery (Woolwich, 1907), and for sights used in the United States, Colonel O. M. Lissak, Ordnance and Gunnery (New York and London, 1907).
Sights for Coast Defence Artillery (Fixed Armaments).

From Treatise on Service Ordnance.
Fig. 17.
In coast defence artillery, owing to the fact that the guns are on fixed mountings at a constant height (except for rise and fall of tide) above the horizontal plane on which their targets move, and that consequently the angle of sight and quadrant elevation for every range can be calculated, developments in sights, in a measure, gave way to improved means of giving quadrant elevation. Minor improvements in tangent sights certainly were made, notably an automatic clamp, but quadrant elevation was mainly used, and in the case of guns equipped with position-finders (see Range-finder) the guns could be layed for direction by means of a graduated arc on the emplacement and a pointer on the mounting. A straight-edge or vertical blade (see fig. 17) was placed above the leaf of the tangent sight, and in some cases on the fore-sight as well, to facilitate laying for line. This enabled the gun to be layed from some little distance behind, so that the layer could be clear of recoil, and continuous laying was thus possible. The arrangements for giving quadrant elevation consisted of an arc, called index plate (see fig. 18), on the gun, graduated in degrees read by a “reader” on the carriage. A yard scale of varnished paper, made out locally for quadrant elevation with regard to height of site, was usually pasted over this. A correction for level of tide was in many cases necessary, and was entered in a table or mounted on a drum which gave several corrections that had to be applied to the range for various causes. One great drawback to this system was that elevation was given with reference to the plane of the racers upon which the mounting moved, and as this was not always truly horizontal grave errors were introduced. To overcome this Colonel H. S. Watkin, C.B., introduced a hydroclinometer fixed on the trunnion. It was provided with a yard scale calculated with reference to height of site, and elevation was read by the intersection of the edge of the liquid with the graduation for the particular range. Special sights were introduced to overcome the difficulties of disappearing guns, large guns firing through small ports, &c. Such were the Moncrieff reflecting sights, and the “chase sights” for the 10-in. gun in which the rear sight, equipped with a mirror, was placed on the chase, and the

Fig. 18.—Sketch of Index Plate and Reader.
fore-sight on the muzzle, &c. In the early days of B.L. guns very little change was made in the pattern of sights. Shield sights were introduced for disappearing mountings to admit of continuous laying for line, and a disk engraved for yards of range duly corrected for height, and called an “elevation indicator,” replaced the index plate and reader. As in mobile artillery, the introduction of trunnionless guns brought about a revolution in laying and sights. Smokeless powder also made rapid firing a possibility and a necessity. Continuous laying and telescopic sights became possible. The reduction of friction by improved mechanical arrangements, and the introduction of electric firing, enabled the layer not only to train and elevate the gun himself, but also to fire it the moment it was truly " on " the target. The rocking-bar sight, which had been for some time in use in the navy, was introduced. In this sight both hind and fore sights are fixed on a rigid bar pivoted about the centre; the rear end is raised or depressed by a rack worked by a hand-wheel; ranges are read from the periphery of a drum ; the fore-sight and leaf of the hind-sight are provided with small electric glow lamps for night firing. In addition to these open sights the bar also carries a sighting telescope. The advantages compared with a tangent sight are that only half the movement is required to raise the sight for any particular range; the ranges on the drum Rocking-bar sight. are easier to read, and if necessary can be set by another man, so that the layer need not take his eye from the telescope. The pattern of telescope used in coast defence is that designed by Dr Common. It is an erecting telescope with a field of view of 10° and a magnification of 3 diameters, and admits plenty of light. The diamond-shaped pointer is always in focus ; focusing for individual eyesight is effected by turning the eye-piece, which is furnished with a scale for readjustment. A higher power glass has since been introduced for long ranges.
The improvements in gun mountings mentioned above led the way to the introduction of the automatic sight. The principle of combined sight and range-finder had long been known, and was embodied in the so-called “Italian” sight, but, on account of the slow rate of fire imposed by black powder, the rapidity of laying conferred by its use was of no great advantage, and it was unsuited to the imperfect mechanical arrangements of the gun mountings of the time. When cordite replaced black powder, and the gun sights and all in front of the gun were no longer obscured by hanging clouds of smoke, it became a desideratum, and, as the automatic sight, it was reintroduced by Sir G. S. Clarke, when he, as superintendent of the Royal Carriage Factory, had brought gun mountings to such a pitch of perfection that it could be usefully employed.
An automatic sight is a sight connected in such a manner with the elevating gear of the gun, that when the sight is directed on the water-line of a target at any range the gun will have the proper quadrant elevation for that range. Colonel H. S. Watkin, C.B., describes the theory of the sight thus (Proceedings R.A.I. 1898).

Fig. 19.—Theory of the Automatic Sight.
Conditions.—The gun must be at a certain known height above sea-level—the greater the height the greater the accuracy. The racer path must be level. Let FB (fig. 19) represent a gun at height BD above water-level DC, elevated to such an angle that a shot would strike the water at C. Draw EB parallel to DC. It is clear that under these conditions, if a tangent sight AF be raised to a height F representing the elevation due to the range BC, the object C will be on the line of sight. Then ABF = angle of elevation; EFB = quadrant angle; BCD = angle of sight; EBF=ABF−ABE; and since ABE = BCD,it also equals ABF-BCD. BCD can always be calculated from the formula, angle of sight in minutes = h (in feet) ×1146/R (in yards) (h=height of gun above sea-level; R= range). An automatic sight based on the Italian sight was tried in 1878–1879. In this (see fig. 20) a rack I, fixed to the carriage, caused a pinion H on the gun to revolve. Fixed to the pinion were three cams, for high, low and mean tides. The tangent scale moved freely in a socket fixed to the gun ; its lower end rested on one of the cams, cut to a correct curve. It followed that when the gun was elevated or depressed, the rack caused the pinion to revolve, and the sight was thus raised or lowered to the proper height to fulfil the conditions given above ; but, as Colonel Watkin said, owing to want of level of platform and other causes it was not satisfactory.

Proceedings R.A. Institute.
Fig 20. “Italian” Sight.
With the introduction of quick-firing guns it was felt that the layer should have the same control over his gun as a marksman had over his rifle, and this would be afforded by a satisfactory automatic sight. The principle of the modern automatic sight is made clear in figs. 21 and 22, which show a combined rocking-bar and automatic sight.
The rocking-bar consists of a carrier a fixed to the cradle, a rocking-bar d pivoted to the carrier at e, a sight bar f carrying the sights and sighting telescope. The rocking-bar is moved by a rack g into which a pinion on a cross-spindle j gears ; the cross-spindle is moved by means of a worm-wheel into which a worm on the longitudinal

From War Office Handbook.
Fig. 21.
spindle of the hand-wheel gears ; one end of the cross-spindle moves the range drum 2′. The worm and hand-wheel are thrown into and out of gear by means of the clutch t. When the hand-wheel is thrown out of gear the sights can only be moved by means of the elevating gear of the gun. The line of sight and the elevation of the gun henceforth are inseparable. The automatic sight consists of a bent lever roller cam m, also secured by the bolt e to the carrier; the lower end of the lever carries the cam roller n, which is constrained to move in the cam p by means of the spring in the spring-box g; the rear end of the horizontal arm of the lever is formed into jaws v; the same action of the clutch t which releases the worm and hand-wheel forces a catch on a vertical stem u into the jaws of the lever, and fixes the rocking and sight bars rigidly to it. The movement of the sights can now only be effected by means of the elevating gear of the gun, acting by means of the movement of the vertical arm of the bent lever, and its movement is constrained to follow the cam, which is cut in such a way that for any given elevation of the gun the sight bar is depressed to the angle of sight for the range corresponding to the elevation; b′ is a lever for making allowance for state of tide, and c′ is the scale on which the rise and fall in feet above and below mean sea-level are marked. In later patterns, the sight is automatic pure and simple, the lever is rigidly attached to the rocking-bar, and the range scale and gear for raising the sights dispensed with, much as shown in fig. 23. In the larger natures of

From War Office Handbook.
Fig. 22.
gun there is a rocking-bar sight on one side and an automatic sight on the other. The automatic sight has, however, distinct limitations ; it depends for its accuracy on height of site, and at long ranges even from a high site it cannot compare for accuracy with independent range-finding and careful laying or accurately applied quadrant elevation; it is also useless when the water line of the target is obscured, as may often be the case from the splashes caused by bursting shell. Improved communications between range-finder and gun, range and training dials placed on the mountings where they can be read by the layers, and more accurate elevation indicators have made laying by quadrant elevation, and in certain cases giving direction by means of graduated arc and pointer, both accurate and rapid, so that once more this system of laying is coming into favour for long ranges.

Fig. 23.
Naval Sights.
In the navy the conditions of an unstable platform rendered quadrant elevation of little use, and necessitated a special pattern of tangent sight to facilitate firing the moment the roll of the ship brought the sights on the target. A diagram of the Foote-Arbuthnot, or H, or naval tangent sight, is given below (fig. 24).
The fore-sight was a small globe, and in the original patterns this was placed on a movable leaf on which deflection for speed of one‘s own ship was given, while deflection for speed of enemy’s ship and wind were given on the tangent sight. The yard scales were on detachable strips, so that fresh strips could be inserted for variations in velocity. In subsequent patterns all the deflection was given on the tangent sight, which was provided with two scales, the upper one graduated in knots for speed of ship, and the lower one in degrees. Night sights were introduced by Captain McEvoy in 1884. They consist of an electric battery cable and lamp-holders and small glow lamps; that for the hind-sight is coloured.
Turret Sights.—In turrets or barbettes two sets of sights are provided, one for each gun. They are geared so as to work simultaneously and alike. Toothed gearing connected with the gun mountings actuates a rack attached to the standards carrying the sights, so that any movement of the gun mounting is communicated to the sights. The sights themselves fit into sockets cut at the proper angle for drift, and are raised in their sockets the requisite amount for the range by means of a small hand-wheel; they are thus non-recoiling sights. The layer has under his control the hand-wheel for setting the range on the sights, another hand-wheel for elevating the gun and the sights on to the l^foeAnt/e target, and a third for traversing the turret. [graduated The introduction of trunnionless guns was followed by that of rocking-bar sights (described above). Sighting telescopes were also introduced.

Fig. 24.
In the navy one of the first essentials is rapidity of fire; to attain this the duties of laying are subdivided; one man laying for elevation, elevating and firing, a second laying for line and traversing, and a third putting on the elevation ordered or communicated by electric dial. To ensure the sights on each side reading together they are connected by rods. To facilitate the setting of the range the ranges are shown on a dial which can be read from the side of the mounting, from where also the sight can be set. (R. M. B. F. K.)
Military Rifle Sights.
With smooth-bore arms of short range, the soldier needed little more, in the way of sights, than the rough equivalent of the dispart of cannon, viz. patches at the breech and muzzle with notch and blade (fig. 25). But some form of sight was almost invariably employed with rifled firearms, even of early date, and when about 1780–1800 the rifle came into use as a military weapon, sights were introduced with it. The sights of the Baker, Brunswick, and other rifles did not differ in principle from the now common form of elevating back-sight (fig. 29), that is, the elevation was given on an upright adjustable back sight. But this refinement was long looked upon as a mere fad, both by the soldiers who used the smooth-bore (or converted rifle) musket, and by experienced short-range snap-shooters. In this connexion Major-General John Gibbon, U.S.A., records that in the American Civil War hunters and others who served in the western regiments habitually knocked off the back-sights of the rifles that were issued to them, preferring to do without them. But, as rifles improved and came into general use for all troops, sights became indispensable, and to-day as much care is

Fig. 25.

Fig. 26.

Fig. 27.
taken over the sighting as over the “proof” of a military rifle. The modern rifle has invariably a back-sight and a fore-sight. The latter is, as a general rule, fixed and unalterable, its size, position on the barrel, &c, being practically ascertained, as accurately as possible, for the lowest elevation on the back-sight. Some fore-sights have, however, a lateral motion giving within narrow limits the deflection found to be necessary for the variation of each rifle from the average. The shape of the part seen through the notch or

Fig. 28.

Fig. 29.
aperture of the back-sight in aiming varies a good deal. Two of
the commonest forms are shown in fig. 26, called the “barleycorn,”
and 27, called the " bead." The fore-sight of the Krag-Jorgensen
rifle, used in the United States army until 1906, consisted of a blade
with parallel sides. The shape of the part seen when aiming indicates
whether the proper amount of the fore-sight is taken up into the
line of vision from the back-sight to the target. A “full” sight is
shown in fig. 8 above. The position of the fore-sight at or near

Fig. 30.

Fig. 31.

Fig. 32.
the end of the barrel renders it peculiarly liable to injury, and in some rifles therefore it is provided with guards or ears; these, however, have the disadvantage that more or less of the light that would otherwise light up the sight is intercepted by the guards. The fore-sight of the British service " short " Lee-Enfield (1903) has guards and also a lateral adjustment of the barleycorn. Backsights are of many different patterns, almost any two being unlike. Examples taken, except fig. 28, by permission from the Text Book of Small Arms (1909), are given in fig. 28 (German Mauser pattern), fig. 29 (“long” hand-loader Lee-Enfield), fig. 30 (“short” Lee-Enfield), fig. 31 (Dutch service rifle), and fig. 32 (Russian “three-line” rifle). Fine lateral adjustments are provided on the “short” Lee-Enfield, and on many other military sights of modern date. See for further details Rifle.
Authorities Consulted.—Owen, Modern Artillery; Lloyd and Hadcock, Artillery, its Progress and Present Position; Lissak, Ordnance and Gunnery; Colonel H. A. Bethell, Modern Guns and Gunnery; Proceedings and Occasional Papers, R.A. Institute, and War Office publications.