United States patent 771917
| No. 771,917. | Patented Oct. 11, 1904. | |
| R. L. de Moura. Wave Transmitter. | ||
| NO MODEL. |
2 SHEETS-SHEET 1. | |
![]() | ||
| No. 771,917. | Patented Oct. 11, 1904. | |
| R. L. de Moura. Wave Transmitter. | ||
| NO MODEL. |
2 SHEETS-SHEET 2. | |
![]() | ||
| No. 771,917. | Patented October 11, 1904. | |
UNITED STATES PATENT OFFICE. ROBERTO LANDELL DE MOURA, OF NEW YORK, N. Y. WAVE-TRANSMITTER. SPECIFICATION forming part of Letters Patent No. 771,917, dated October 11, 1904. Application filed February 9, 1903. Serial No. 142,440. (No model.) | ||
To all whom it may concern:
Be it known that I, Roberto Landell de Moura, a citizen of the Republic of Brazil, and a resident of the borough of Manhattan, 5city of New York, county and State of New York, have invented a new Wave-Transmitter, of which the following is a specification.
My invention relates to the transmission of intelligence from one point to another 10without the intermediation of wires, or, in brief, to signaling through space.
It has for its object the production of improved results with simplified apparatus, utilizing certain principles of my own discovery.
15Heretofore when signals were to be transmitted the transmission has been accomplished by means of manually-operated apparatus. In some cases this has been replaced by automatic mechanism; but the 20management of such mechanism or the manipulation of a key requires a certain amount of skill and experience in the operator. According to my invention, I primarily produce electrical oscillations and flickerings of light by25means of sonorous vibrations, which may be those of the human voice or of other sounds. I then employ these electrical or light oscillations so produced for telegraphing or telephoning through space. In such 30transmission, and particularly in telephoning, I may use devices similar to those described in my prior application, filed October 4, 1901, Serial No. 77,676. In order to produce the two kinds of oscillations mentioned, I have devised35 an arrangement of circuits and certain apparatus which I denominate a phonetic interrupter."
My phonetic interrupter consists, essentially, of a pair of contacts responsive to the40tones of the voice or to vibrations communicated from any source controlling the primary circuit of a high-wound induction-coil whose said primary is connected to the primary of a Ruhmkorff coil for transmitting.45 The sonorous vibrations at the interrupter are transformed into electric or light waves, which upon passing to the receiving-station are there received and causal to affect suitable apparatus whereby they may render themselves apparent through the medium of 50a telephone-receiver, a lamp, a Morse register, or the like.
My invention is fully described in the following specification and illustrated in the accompanying drawings, in which--55
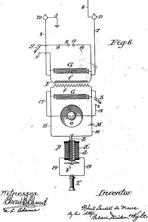
Figure 1 is a sectional view of my phonetic interrupter with the parts shown in full. Fig. 2 is an adjusting-key for the core of the induction-coil. Figs. 3 and 4 are diagrams showing the connections of the primary circuit of60 the interrupter. Fig. 5 is a diagram of the transmitting - circuits, with the apparatus shown in place. Fig. 6 is a similar diagram showing the connections of the apparatus more in detail.65
Referring to Fig. 1, A is a non-conducting case or shell, and A¹ is a cap therefor. This cap is formed so as to inclose a resonating-chamber}}, at the bottom of which lies a perforated disk A², corresponding to the mouthpiece70 of the ordinary telephone and fulfilling the same function when the cap A¹ is removed. Lying beneath the disk A² and supported by the shell is a diaphragm u, having at its central point a slight depression a¹.75
Arranged within the shell and supported between suitable heads is an induction-coil D, having the primary winding d and the secondary winding d¹ with a core of soft iron d². This core is made hollow, and within it80 lies a central spindle B, supported at its upper end by the perforated end of the core and at its lower end adjustably held therein by means of the nut l, threaded into the lower end of the core, and the guide b⁴. The spindle85 has a head B¹, by which it may be manipulated, the function of the adjustment being to permit the air-gap between the tip of the spindle at bx and the diaphragm a at a¹ to be arranged so that the vibrations of articulate90 speech will cause a regular, rapid, and continuous moving and breaking of the circuit. By means of the key K (shown in Fig. 2) the nut b may be screwed home when the spindle is adjusted, the prongs k and K of the95 key finding registering openings in the nut at b³.
Fitted to the apex of the cap A¹ is a flexible tube C, with a mouthpiece c. When the apparatus is to be used, the user speaks according to a predetermined code or in such other manner as may be agreed upon into the 5mouth-piece c. The sonorous waves propagated through the tube and passing through the central aperture of the cap A² impinge upon the diaphragm a, producing a corresponding vibration thereof, whereby if the adjustments 10have been correctly made a very rapid serïes of makes and breaks or successive contacts will take place between the diaphragm and the tip b², corresponding in frequency to the waves originating them. These makes and 15breaks produce impulses or variations of current in the primary circuit 1 2, the connections of the circuit being clearly shown in Figs. 3 and 4. In Fig. 3 the terminal wire 2 from the local battery m is connected to the 20spindle B at its lower end or head, while the primary wire 1 passes direct to the winding and thence ton connection with the diaphragm. In Fig. 4 the primary wire 1 passes through the coil to the diaphragm, and wire 2 is 25connected to the tipb² of the spindle. Obviously in either case the effect of makes and breaks will be to cause pulsations of current in the primary winding corresponding very closely to the tones of the speech or sounds which 30caused them. It is of course impossible to get any adjustment short of a perfect contact that will give all of the overtones and will render the articulation perfect; but, on the other hand, in order to obtain the discharge 35effects, to which I shall presently allude, I find it is better to have positive breaks than mere changes in resistance in the circuit. It goes without saying that I can adjust the contacts so as to produce constant contacts and 40variable pressure, which are the requisites for perfect microphonic working; but for practical purposes I find it is better to produce the impulses in the manner I have described.
Referring now to Fig. 5, I will describe the 45connections of my apparatus to produce an operative system. As Fig. 6 shows the same parts in more detail reference may also be had thereto from the detail connections. In these figures F is a Ruhmkorff or other high-power 50induction-coil adjusted to produce a spark of some length- say from one-quarter inch upward. The primary winding f of this coil is connected in a circuit 15 16, containing the main battery M and the phonetic interrupter 55A. The secondary winding of the coil F. which is marked f’, is connected by wires 7 and 8 to the terminals 21 and 20 for the radiating bodies or wires, which may be the usual or any special desired form of aerial conductor, 60with or without earth on one side. Adapted to be bridged across this circuit 7 8 by the closing of the switch S’ on its contact s’ is a pair of sparking terminals 12, the bridge-wires being marked 9 10. A condenser G’ of suitable capacity is also connected across the 65secondary circuit by means of wires 13 and 14. The primary circuit 15 16. passes from the Ruhmkorff coil to the primary terminals of the induction coil D in the phonetic interrupter. The secondary winding d’ is 70connected in a local circuit 19, which contains a telephone-receiver T. and the primary circuit contains a lamp E, which may serve for both sending and receiving messages. A condenser G of suitable capacity is also bridged across the75 primary circuit.
The operation of the system thus described is as follows: For transmitting Hertz waves corresponding to sonorous vibrations the switch S’ is closed, the switch S is opened, and80 the operator proceeds to produce sounds in the desired manner into the mouthpiece e of the phonetic interrupter. A succession of impulses is thus produced in the primary circuit of the coil F, whose effect is increased by the85 presence of the condenser G, which takes up the extra current, assists in the rapid demagnetization of the core of the induction-coil, and also prevents sparking between the diaphragm and the tip-terminal. These impulses90 in the primary, which are very rapid, with proper adjustment reaching between five hundred and nine hundred per second, produce very high potential impulses in the secondary. To produce oscillations of light by means of95 the interrupter in the sending-station, I use the natural human voice, preferably because the flickerings produced corresponding in form and frequency to the initial sounds and being property retranslated through the100 agency of suitable apparatus at the receiving-station enable the original sounds to be recognized more or less perfectly, and while many words or tones can be recognized for their intrinsic value, as well as for any arbitrary105 code value that may be assigned to them apart from this, a sufficient number of distinctive words can be selected to make a complete and very efficient code.
Obviously as a substitute for the human110 voice other sources of sonorous vibrations may be employed. Thus to produce electrical oscillations by means of the same interrupter I may use at the sending-station a source of sound consisting of a musical instrument115 similar to a small organ, having a set of reeds or pipes with controlling devices and one or more acoustic tubes connected to the mouthpiece of the interrupter-tube. The diaphragm of the interrupter being thus120 strongly vibrated causes oscillations of light or electricity which may be received after transmission by means of any suitable sensitive device. In addition to this method of transmitting by means of electric or luminous125 waves, as I have said, certain of the features herein may be utilized in connection with my other systems. In one of those systems I employ waves or flickerings of light for the purpose of transmitting code-signals. In the 5present case I may employ the lamp E in a similar manner, producing the initial changes in current by the phonetic interrupter. Should the pulsations of light be too rapid, the adjustment of the fixed terminal and the 10diaphragm may be changed until the amplitude of vibration is great enough to eliminate all but the fundamental tones. In fact, the diaphragm may be weighted, if desired, or its pulsations may be otherwise retarded. In 15case of transmitting by light-waves I use the reflector and may also use screens of various materials, such as slides of colored glass. And, if desired, I may substitute for the lamps shown a cathodic lamp of the kind described in my 20other application or other kind of light.
It will be observed that the most important and, in fact, the essential feature of my invention consists in the employment of a make-and-break transmitter worked by sonorous 25vibrations, causing the transmitted electromagnetic or light waves to correspond closely to the sound-waves by which they are produced.
Having thus described my invention, what 30I claim, and desire to secure by Letters Patent, is--
1. In a system of signaling without connecting-wires, an induction-coil, a discharge-circuit connected to the secondary of said coil, 35with a circuit-interrupter and a source of current connected to the primary of said coil and means to actuate said circuit-interrupter to make and break the primary circuit in accordance with sonorous vibrations, whereby 40current-pulsations may be produced in the primary corresponding or approximating to the sounds by which they are produced, substantially as described.
2. In a system of electric signaling without 45connecting-wires, an induction-coil, a discharge-circuit having a terminal radiating-wire connected to the secondary of said coil, a suitable source of current, connected to the primary of the coil; and means for making 50and breaking the primary circuit adapted to be actuated by sonorous vibrations, substantially as described.
3. In a system of electric signaling, without connecting-wires, a primary 55energizing-circuit, a secondary discharge-circuit, means for rapidly and repeatedly making and breaking the primary circuit, said means arranged and adapted to be brought into operation by sonorous vibrations, substantially as described.
604. In a system of electric signaling without wires, an induction-coil, a secondary discharge-circuit therefor, a primary circuit and a source of current, a phonetic device having contacts included in said primary circuit, and means to periodically open and close said contacts,65 and thereby to produce corresponding current-pulsations in the primary and secondary circuits, substantially as described.
5. In a system of electric signaling without wires, an induction-coil and a sceondary discharge - circuit70 therefor, a primary circuit therefor with a source of current and a periodic circuit-interrupter therein, together with means connected to said primary circuit for producing light-rays of variable intensity corresponding75 to the current-pulsations in the primary and secondary circuit, substantially as described.
6. A phonetic interrupter or make - and -break transmitter for signaling-circuits, comprising80 a casing or shell, an induction-coil therein, a pair of contacts mounted thereon, circuit connections to the secondary circuit and other circuit connections through the primary to the pair of contacts, substantially as85 described.
7. In a system of electric signaling without wires, the combination of the following instrumentalities; an induction-coil, a secondary discharge - circuit for said coil, adjustable discharge90 - terminals and a condenser bridged across said circuit, a primary circuit and a source of current therein, a periodic circuit-interrupter in said primary circuit, an electric lamp bridged across said primary circuit and95 a condenser also bridged across the primary circuit, substantially as described.
8. A phonetic interrupter for wireless telegraphy comprising a shell or casing, a diaphragm, a perforated cap covering the diaphragm100, a sound - chamber formed within a second cap, with a conducting-tube and mouthpiece therefor; an adjustable contact-spindle extending into close proximity to the diaphragm and forming therewith the terminals105 of a primary circuit, together with means to lock said spindle to the core when a adjusted, substantially as described.
9. In a system of electric signaling without wires, an electric lamp, a circuit and a source110 of current therefor, and a periodic circuit-interrupter in said circuit adapted when actuated to make and break the same, with means to actuate said interrupter by sonorous vibrations or musical tones, whereby variations in115 the radiation from said lamp may be produced, corresponding to the said vibrations or tones, substantially as described.
10. In a system of electric signaling without wires, an electric lamp, a circuit and a source120 of current therefor, a periodic interrupter in said circuit adapted when actuated to make and break the same, a condenser bridged across the circuit, and means to actuate the interrupter by sonorous vibrations or musical125 tones, whereby a series of current-pulsations may be produced with corresponding variations in the radiation from the lamp, substantially as described.
11. In a transmitting apparatus for wireless 5signaling systems, a primary circuit, a periodic interrupter and an electric lamp therein, a secondary circuit having discharge-terminals adapted to produce electromagnetic waves, an induction-coil having its windings in the primary and secondary circuits respectively, and10 means to actuate said circuit-interrupter by sonorous vibrations, substantially as described.
In testimony whereof I have hereunto subscribed my name.
Roberto Landell de Moura.
- Witnesses:
- Daniel B. Tamagno,
- Eugene M. Berard.
This work is in the public domain in the United States because it was published in 1904, before the cutoff of January 1, 1930.
The longest-living author of this work died in 1928, so this work is in the public domain in countries and areas where the copyright term is the author's life plus 96 years or less. This work may be in the public domain in countries and areas with longer native copyright terms that apply the rule of the shorter term to foreign works.
Public domainPublic domainfalsefalse
.jpg)
.jpg)