Page:Popular Science Monthly Volume 65.djvu/390

This page has been validated.
386
POPULAR SCIENCE MONTHLY.

oxygen contain, for each unit weight of nitrogen, 0.57, 1.14, 1.72, 2.29 or 2.86 unit weights of oxygen.[1] Between these combinations there is no intermediate proportion. This peculiarity is characteristic of chemistry in contradistinction to physics, where the more simple continuous and gradual transition from one state to another prevails. This difference between the two sister sciences has often caused controversies in the domain of physical chemistry. The occurrence of discontinuous changes and of multiple proportions has frequently been assumed, when a closer investigation has found nothing of the sort.

The law of multiple proportions is the one fundamental conception upon which modern chemistry is built up. Another is the law of Avogadro, which asserts that equal volumes of different gases under like conditions of temperature Fig. 1. and pressure contain the same number of molecules. This conception, dating from the beginning of the nineteenth century, was at first strongly combated, and it was its great value in explaining the new discoveries in the rapidly growing domain of organic chemistry which led to its general acceptance in the middle of the past century, after Cannizzaro had argued strongly in its favor.

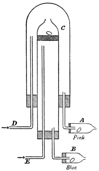
There were, however, some difficulties to be removed before Avogadro's law could be accepted. For instance, it was found that the molecular volume of sal-ammoniac, NH4Cl, in the gaseous state was greater than might be expected from its chemical composition. This led to the supposition that the molecules of sal-ammoniac when in the gaseous state are partially decomposed into ammonia, NH3, and hydrochloric acid, HCl. Indeed v. Pebal and v. Than succeeded in showing that this really happens. They used an apparatus that is shown in the annexed figure (Fig. 1). Two coaxial tubes are placed the one inside the other by means of a cork. The outer tube was closed at its upper end; the inner one was open and contained at C a diaphragm of asbestos and above that a piece of sal-ammoniac. The upper end was


  1. To explain this we suppose, in accordance with Dalton, that the molecules of the different combinations of nitrogen with oxygen contain two atoms of nitrogen and one, two, three, four or five atoms of oxygen.