Page:Popular Science Monthly Volume 63.djvu/555

This page has been proofread, but needs to be validated.
HERTZIAN WAVE WIRELESS TELEGRAPHY.
551

HERTZIAN WAVE WIRELESS TELEGRAPHY. V.

By Dr. J. A. FLEMING, F.R.S.,

PROFESSOR OF ELECTRICAL ENGINEERING, UNIVERSITY COLLEGE, LONDON.

QUITE recently, Sir Oliver Lodge and Dr. Muirhead have employed as a self-restoring coherer or kumascope a steel disc revolved by clockwork, the edge of which just touches a globule of mercury covered with a thin film of paraffin oil. The contact is made between the mercury and the steel by the electric wave generating an electromotive force in the aerial, sufficient to break through the thin film of oil. When the wave stops, the circuit is again interrupted automatically.

This device is used without a relay to actuate directly a syphon recorder as used in submarine telegraphy. The working battery employed with it must only have an electromotive force of about a tenth of a volt. It may be used also with a telephone in circuit and can therefore be employed either for telegraphic or telephonic reception.[1]

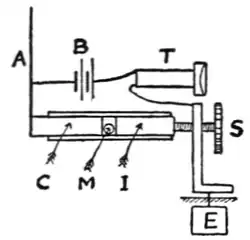
One of the most sensitive of these self-restoring kumascopes is the carbon-steel-mercury coherer, the invention of which has been attributed to Castelli, a signalman in the Italian Navy,[2] but also stated on good authority to have been the invention of officers in the Royal Italian Navy, Fig. 17. Italian Navy Self-Restoring Kumascope. C, carbon plug; I, iron plug; M, mercury globule; A, aerial; B, battery; T, telephone; S, adjusting screw. and has therefore been called the Italian Navy Coherer.[3] This instrument has been arranged in several forms, but in the simplest of these it consists of a glass tube, having in it a plug of iron and a plug of arc-lamp carbon, or two plugs of iron with a plug of carbon between them. The plugs of iron, or of iron and carbon, are separated by an exceedingly small globule of mercury, the size of which should be between one and a half and three millimeters. The plugs closing the tube must be capable of movement, one of them by means of a screw, as shown in the diagram (Fig. 17), taken from a patent specification communicated to Mr. Marconi by the


  1. See Proc. Roy. Soc. London, Vol. LXXI., p. 402.
  2. See Report by Captain Quintino Bonomo, 'Telegrafia senza fili,' Rome, 1902; L'Elettricista, Ser. II., Vol. I., pp. 118, 173.
  3. See Royal Institution, Friday evening discourse, by Mr. Marconi, June 13, 1902. Also The Electrician, Vol. XLIX., p. 490. Also a letter to the Times of July 3, 1902, by the Marchese Luigi Solari.