Page:Popular Science Monthly Volume 57.djvu/606
plosion takes place. By many engineers this arrangement is regarded as superior to the electric spark on account of its simplicity.
Gasoline motors are made with one, two or more cylinders, hut in each cylinder the action that takes place is that described above. The actual construction of a motor is not so simple as might be assumed from the appearance of Fig. 1; many details are required which are not here shown. A more perfect idea of the actual construction of a gasoline motor can be had from Fig. 2, which is a working drawing of a recent European invention. In this design it will be noticed that the cylinder is cooled by radiation into the surrounding air, the exterior surface being increased by numerous circular ribs and also by extending a hollow trunk from the upper side of the piston, so as not only to increase the radiating surface, but also to allow the hot air to escape from the chamber T in which the crank discs revolve. In this drawing E is the explosion chamber, corresponding to Q in Fig. 1, and

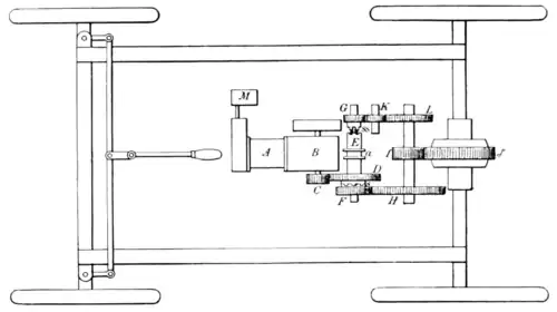
Fig. 3. Reversing Mechanism.
the valve s is the counterpart of f, while s’ corresponds to the valve h. The upper pipe t is the pipe e of Fig. 1 and the lower pipe t' is the pipe r of the same figure. Although the crank discs, connecting rods and other details are different in shape, it will readily be seen that their relation to each other is the same.
Since a gasoline motor cannot start of its own accord, it is necessary in vehicles in which they are used so to arrange the driving gear that the motor may be kept in motion all the time and always in the same direction, hence, to reverse the direction of the carriage, reversing mechanism, independent of the motor, must be provided. The most simple mechanism for a gasoline vehicle employing spur gearing exclusively is shown in diagrammatic form in Fig. 3. In this figure A represents the cylinder of the motor, B the crank disc chamber and M the vaporizing receptacle, which is generally called the carburator. The pinion C, on the end of the motor shaft, meshes into a gear D which is mounted upon a sleeve E which revolves freely round shaft G. This