Page:Popular Science Monthly Volume 55.djvu/361
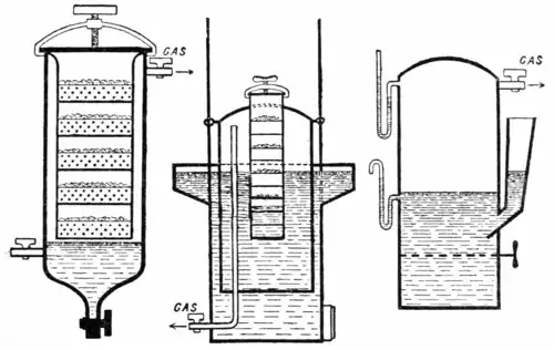
center of the mass of carbide, the acetylene generated has to pass through the external layers, which, as shown, may be at high temperatures, above that at which acetylene decomposes; thus a considerable amount of gas is lost, and the tar formed may distill into
![]() | ||||
| Type II, A. | Type II, B. | Type III. | ||
| Types of Generators. | ||||
the generator and tubes, clogging the tubes. A more serious evil is the deterioration in the illuminating quality of the gas. Samples of the gas were taken as the maximum temperature was approached, and analyzed with this average result: Acetylene, seventy per cent; other hydrocarbons, eleven per cent; hydrogen, nineteen per cent. This reduces the illuminating value from two hundred and forty to one hundred and twenty-six candles. The hydrocarbons consist largely of benzene, which requires three times as much air for complete combustion as acetylene does. The best possible acetylene burner smokes when the acetylene contains benzene.
At first sight these experiments would seem absolutely to condemn generators of class II, yet the fact remains that some excellent generators are of this type. Under certain conditions excessive overheating may be avoided. The rising bell shown in II, B should be discarded. Generators in which the water rises from below, and slowly attacks the carbide, can be made safe if the water is never driven back from the carbide, and the carbide is in separated layers as in II, A. Under these conditions the water is always in excess at the point where it attacks the carbide, so that the evaporation, by rendering heat latent, keeps the temperature down, the temperature
