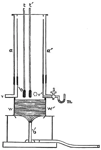
Page:Popular Science Monthly Volume 18.djvu/387
A standard barometer, wrapped in cotton-wool and cloth to prevent rapid change, in the temperature of its mercury, and made by James Green, is hung on the same level as the boiling-point apparatus, and the thermometers are read alternately with the barometer. The cathetometer is used for reading thermometers in both the boiling and freezing-point apparatus.
For the calibration of tubes, two microscopes have been mounted so that the position of the two ends of a short mercury-column may be
Fig. 3.

read at the same time by means of eye-piece micrometers. The observatory is having built a comparator especially for this work, which will soon be mounted in its place.
By far the most valuable apparatus in connection with this work is the collection of foreign standards which have been obtained to represent the work of foreign observatories. This collection comprises seventeen standards of the highest class, eight working standards, and forty-five comparison thermometers. The makers comprise noted artists of Europe, and among them are the Kew Observatory; Baudin, Fastré, Tonnelot, and Alvergniat, of Paris; Fuess, and Greiner & Geissler, of Berlin; and Casella, of London.
The comparison of the important standards was undertaken by the Kew Observatory in England, the Seewarte at Hamburg, and the Imperial Commission of Weights and Measures, under Dr. Foerster, at Berlin. There can be little doubt, therefore, that the observatory of Yale College possesses an accurate copy of the standard thermometers now in use in the prominent observatories in Europe.
It is the object of the observatory to make this service as widely