Page:Collected Physical Papers.djvu/189

This page has been validated.
COLLECTED PHYSICAL PAPERS
169

ations can be deduced from the observed deflections of the galvanometer. When these are rapid, the observation requiring great alertness becomes very fatiguing. This difficulty is still greatly accentuated when simultaneous time-observations have to be taken. It thus becomes necessary to have at least two observers; the process of observation is very tedious, and the accumulation of results extremely slow. But in the apparatus now to be described, the mode of procedure has been very much simplified, affording facilities for quick and accurate record of responsive reactions.

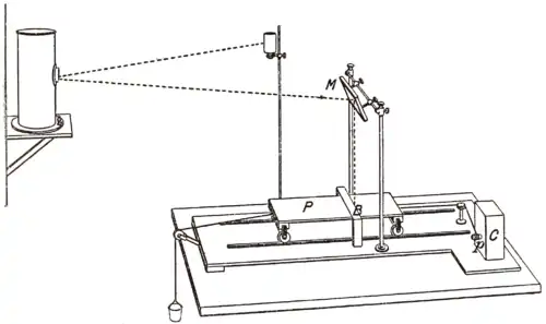
The moving platform of the apparatus carries a squared paper (divided into 1/10 inch) on which the record is made. The platform moves uniformly by clock-work, and the rate of travel of the paper may be

Fig. 32. The Recording Apparatus. P is the platform moving on rails and carrying the squared recording paper. C, the clock-work. M, the mirror to reflect the galvanometer spot of light on the platform.

roughly adjusted by means of different-sized pulleys, or more finely by the clock-work governor. The usual