Light waves and their uses/Lecture VII
LECTURE VII
APPLICATION OF INTERFERENCE METHODS TO ASTRONOMY
Our knowledge of the heavenly bodies is still very limited. The little that we have learned has been acquired almost entirely with the assistance of the telescope, or the telescope compounded with the spectroscope. Without these, the stars and the planets would always remain, even to the most perfect unaided vision, as simple points of light. With these aids we are every year adding very much to our knowledge of their constitution, their form, their structure, and their motions. For example, the spectroscope gives information concerning the elements contained in the sun and the stars; for by means of the dark or bright lines in the spectrum we are able to identify elements by the position of their spectral lines, and from this identification we are able to infer, with almost absolute certainty, the presence of the corresponding material in the heavenly body which is examined. The same is true of comets and nebulæ. By the general character of the spectrum we may also distinguish whether these bodies are in the form of incandescent gases, or whether they are in solid or liquid form; and we can, to a certain extent, infer their temperature. We can even determine whether the body is approaching or receding. For example, if the body is approaching, the waves are crowded together so that their wave length will be shortened, and hence they have a correspondingly altered position in the spectrum, i. e., the line will be shifted toward the blue end of the spectrum. If the body is receding, the spectral line is shifted in position toward the red end of the spectrum.
By the telescope we have discovered that all the planets, including many of the minor planets, have discs of appreciable size. We have found markings on the planets, have discovered the satellites of Jupiter and the rings of Saturn, and have observed various interesting details concerning the structure of these rings. The strange markings on the planet Mars, which bear such a remarkable resemblance to the works of intelligent beings, are among the most interesting of the recent revelations of the telescope.
It is hard to realize that such observations concern bodies that are distant millions of miles from us; in fact, the distance is so great that it can be more readily expressed by the time light takes to reach us from these bodies. In some cases this may be as much as several years. We can compare this distance with the circumference of the earth, by considering that light or a telegram will go around the earth seven times in a second, while from these bodies it would take several hours for light to reach us. Yet these are our nearest neighbors, or, rather, members of our immediate family. Our farther neighbors are so remote that probably the light from many of them has not yet reached us. To these more distant bodies our own little family of planets is probably invisible; even the sun itself is a second-rate star. If, however, Jupiter were sufficiently bright, then the sun and Jupiter together would form what is called a "double star," and to an inhabitant of a distant planet which might be traveling about this distant star it would appear as a double star with a separation of about one second, which may be expressed as the angle subtended by two luminous points about one-half inch apart when at a distance of three miles. They would therefore be entirely invisible to the naked eye as separate objects.
One of the most serious difficulties in the way of further progress in the investigation of the telescopic characteristics of the planets and of the constitution of star systems, is what is called bad "seeing." It must be remembered that light, in order to reach a telescope, must pass through from forty to one hundred miles of atmosphere. This atmosphere is not homogeneous. If the atmosphere were homogeneous, there would not be any very serious objection. The intensity of the light from the object would be practically as great as if there were no air present. But the air is unequally heated, and therefore has unequal densities in different portions. Hence the different portions of a beam of light which have passed through different parts of the atmosphere and reached different parts of the objective of the telescope would be differently retarded, and these differences in retardation would not be constant, but would vary, sometimes rapidly and sometimes slowly, producing what is technically called "boiling."
This unsteadiness of the image is the most serious difficulty with which astronomers have to contend; there is no instrumental remedy. The best that can be done is to choose an appropriate site, and it seems to be the general opinion of astronomers that such a site is best chosen on some very high plateau or tableland. By some it is considered that a high mountain top is a desirable location, and there is no question that such a site possesses very marked advantages in consequence of the rarity of the air. If the air were very rare, "boiling" would have less effect than it has in dense air. But to compensate this advantage we have the very bad effect of currents of heated air traveling up the side of the mountain. As a matter of fact, however, even in the worst locations, there are occasional nights when the astronomer has almost perfect seeing—when even the largest instruments attain almost their theoretical limit of accuracy. This theoretical efficiency may be most conveniently tested by observations on double stars.
The resolving power, as shown in one of the preceding lectures, depends on the size of the diffraction rings which are produced about the image of a star. It was also shown that the smallest angle which a telescope could resolve was that subtended at the center of the lens by the radius of the first dark ring,
FIG. 90 and this angle is equal to the ratio of the length of the light wave to the diameter of the objective. For example, if we consider a 4-inch glass, the length of the light wave being of an inch, this angle would be . If the lens were a 40-inch glass, the angle would be something like , which can be represented by the angle subtended by a dime at the distance of fifteen miles. Hence, if we had two such dimes placed side by side, the largest glass would scarcely separate them.
Fig. 90 is an actual photograph of the image of a point of light taken with an aperture smaller than that of a telescope, but otherwise under the same conditions under which a telescope is used. It is easy to see that, surrounding the point of the image, there is a more or less defined white disc, and beyond this a dark ring. Outside of this dark ring there are a bright ring and another dark ring. Theoretically, there are a great number of those rings; practically, we see only one or two under the most favorable conditions.
This figure represents the appearance of the image of one of Jupiter's satellites as it would be observed in one of the largest telescopes under the most favorable conditions. If it be required to measure the diameter of one of these very distant objects, a pair of parallel wires is placed as nearly as possible upon what is usually called the edge of the disc, as shown in Fig. 91. The position
FIG. 91 of this edge varies enormously with the observer. One observer will suppose it well within the white portion; another, on the edge of the black portion. Then, too, the images vary with atmospheric conditions. In the case of an object relatively distinct there may be an error of as much as 5 to 10 per cent. In many cases we are liable to an error which may amount to 15 per cent., while in some measurements there are errors of 20 to 30 per cent.
Suppose the object viewed were a double star. In general, the appearance would be very much like that represented in Fig. 92, except that, as before stated, in the actual case the appearance would be
FIG. 92 troubled by "boiling." It will be noted that as long as the diffraction rings are well clear of each other we need not have the slightest hesitation in saying that the object viewed is a double star.
Fig. 93 represents under exactly the same conditions two points, artificial double stars, but very much closer together. In this case the diffraction rings overlap each other. It will be seen that the central spot is elongated, and the expert astronomer may decide that the star is double. This elongation can under favorable circumstances be detected even a considerable time after the
FIG. 93 diffraction rings merge into each other. If the atmospheric conditions were a little worse, such a close double would be indistinguishable from the single star, and if the stars were a little closer together, it would be practically impossible to separate them.
Fig. 94 represents the case of a triple star whose components are so close together as to be barely within the limit of resolution of the telescope. In this case the object would probably be taken as triple because its central portion is triangular. If the three stars were a little closer together, it would be impossible to say whether the object viewed were a single or a double star, or a triple
FIG. 94 star, or a circular disc.
If now, in measuring the distance between two double stars, or the diameter of a disc such as that presented by a small satellite or one of the minor planets, instead of attempting to measure what is usually called the "edge" of the disc—which, as before stated, is a very uncertain thing and varies with the observer and with atmospheric conditions—we try to find a relation between the size and shape of the object and the clearness of the interference fringes, we should have a means of making an independent measurement of the size of objects which are practically beyond the power of resolution of the most powerful telescope. The principal object of this lecture is to show the feasibility of such methods of measurement. For this purpose, however, the circular
FIG. 95 fringes that we have been investigating are not very well adapted; they are not very sharply defined; there is not enough contrast between them. However, there is a relation which can be traced out between the clearness of the diffraction fringes and the size and shape of the object viewed. This relation is very complex.
The result of such calculation is that the intensity is greatest at the center, whence it rapidly falls off to zero at the first dark band. It then increases to a second maximum, where it is not more than one-ninth as great as in the center. What we should have to observe, then, is the contrast between these two parts—one but one-ninth as marked as the other and confused more or less by atmospheric disturbances. In case of a rectangular aperture the intensity curve is somewhat different, in that the maxima on either side of the central band are considerably greater, so that it is somewhat easier to see the fringes. In case of the rectangular aperture the fringes are parallel to the long sides of the rectangle. The appearance of the diffraction phenomenon in this case is illustrated in Fig. 95. The pattern consists of a broad central space, whose sides are parallel to the sides of the rectangular slit, and of a succession of fringes diminishing in intensity on either side. The corresponding intensity curve is shown in Fig. 96.[1]
If we had two such apertures instead of one, the appearance would be all the more
FIG. 96 definite; but the two apertures together produce, in addition, interference fringes very much finer than the others, but very sharp and clear. The intensity curve corresponding to these two slits is shown in Fig. 97. In this case it is easy to distinguish the successive maxima, and the atmospheric disturbances are very much less harmful than in the case of the more indefinite phenomenon.
Fig. 98 represents the appearance of the diffraction pattern due to two slits when a slit, instead of a point, is used as the source of light. The appearance of the two patterns is not essentially different, that due to the slit being very much brighter. In the case of a point source there is so little light that it is more difficult to see the fringes. Here the same large fringes are visible as before, but over the central bright space there is a number of very fine fringes. The two central ones are particularly sharp, so that it is easy to locate their position if necessary, but still easier to determine their visibility. This clearness
FIG. 97 is the essential point we have to consider, because the size of the object determines the clearness of the fringes. We find that if we gradually increase the width of the source, the fringes grow less and less distinct, and finally disappear entirely. If we note the instant when the fringes disappear, we can calculate from the dimensions of the apparatus the width of the source. Or, if we alter the dimensions of the apparatus and observe when the fringes cease to be visible in our observing telescope, we have the means of measuring the diameter of the source, which may be a double star, or the disc of one of Jupiter's satellites, or one of the minor planets.
We may get some notion
FIG. 98 of the relation which exists between the clearness of the fringes and the size of the object when the fringes disappear, by considering a simple case like that of a double star. Suppose we have two slits in front of the object glass of a telescope focused on a single star. At the focus the rays from the two slits come together in condition to produce interference fringes, and the fringes always appear when the source is a point. Suppose we have in the field of view another star. It will produce its own series of fringes in the focus of the telescope. We shall then have two similar sets of fringes in the field of view. If, now, the two stars are so near together that the central bright fringes of the two systems coincide, then the two sets of fringes will reinforce each other. If, however, one of the stars is just so far away from the other that the angle between them is equal to the angle between the central bright band and its first adjacent minimum, then the maximum of one system of fringes will fall upon the minimum of the other set, and the two will efface each other so that the fringes disappear. Hence the fringes disappear when the angle subtended by the source is equal to the angle subtended by half the breadth of the fringes, viewed from the objective. This angle is easily calculated. Thus if l represent the wave length and s is the distance between the two slits, then the angle is equal to 1/2·l/s. Hence, if we know the length of the light wave (we can take it as one fifty-thousandth of an inch if we choose), by measuring the distance between our slits when the fringes disappear we have the means of measuring the angular distance between double stars.
In the case of a single-slit source we can also get some sort of an idea of the conditions which prevail when the fringes disappear. For we may conceive the slit source to be divided into a number of line sources, parallel and adjacent to each other. Then each line source would form its own set of fringes, and when the angle between the two outside lines, i. e., the edges of the slit, is equal to the angle subtended by the distance of the first dark band from the center, the fringes again overlap in such a way as to disappear. The value of this angle is easily found to be l/s. So, supposing that we had such an object in the heavens as a narrow band of light, we have the means of finding its width. If, instead of a slit, we used a circular opening as a source, there is a little more difficulty in the mathematical analysis. In this case the coefficient of l/s, instead of being 1 as in the second case, or as in the first case, is found to be 1.22. In observing such an object we measure the distance between our two slits when the interference fringes have just vanished, and compute the angular magnitude of the object by using this coefficient. If we knew the distance to the object, we could calculate also its actual diameter.
The curve representing the clearness of the fringes as the slits approach is rather interesting. It varies with the form of the object viewed. In the case of a double star it falls very rapidly from its maximum to zero; then it rises again, and if the two slits themselves could possibly be infinitely narrow and the light perfectly homogeneous, it would rise to its original value. But because the slits themselves have a certain width, and because the observation is usually made with white light, this second maximum is usually less than the first.
If the source is a single point of light, then the fringes are equally distinct, no matter what the distance between the slits; whereas, when the source is a disc of appreciable angular width, the fringes fade out as the distance between the slits increases, so that there is no possibility of a doubt as to whether we are looking at a point or a source of appreciable size.
Suppose we are looking at a disc of a given diameter through such a pair of slits which are close together. If we gradually increase the distance between the slits, the visibility becomes smaller and smaller until the fringes disappear entirely. As the distance between the slits increases again, the clearness increases, and so on; i. e., there are subsequent maxima and minima which may be measured, if it be considered desirable. It is necessary, however, to measure this distance between the two slits at the time the fringes first disappear; we may measure this distance at the subsequent disappearances if we choose, but it is not essential, for we are able to find the diameter of the object (the distance between two objects in the case of the double star) if we know the distance between the slits at the first disappearance. If, however, we do not know the shape of the source, we must observe at least one more disappearance.
In Fig. 99 the visibility curves which characterize a slit, a uniformly illuminated disc, and a disc whose intensity is greater at the center, are shown. The full curve corresponds to a slit, the dotted one to a disc, and the dashed one to the disc which is brighter at the center. It will be noted that in the case of the slit the distances between the zero points are all alike. In the case of the disc the curve is still of the same general form, but the distance to the first zero position is no longer equal to the others, but is 1.22 as great. Hence, if the distances between the zero points are equal, as shown in the figure for the full curve, we know the
FIG. 99 source is rectangular. But if the distance to the first zero point is 1.22 times as great as the distances between the succeeding zero points, we know that we are observing a uniformly illuminated circular object. The next interval would determine in this case, as in the first, the diameter of the object viewed.
In the case of the slit the distances between the zero points are rigorously equal, and it may be of interest to note that the visibility at the second maximum is something like one-fourth of the visibility at the first. So there is no possibility of deception in noting the point at which the fringes disappear; indeed, the disappearance can be so sharply determined that we may measure the corresponding distance between the slits to within 1 per cent. of its whole value, and so determine the width of the line source with a corresponding degree of accuracy.
The visibility curve shown in Fig. 100 represents the case in which the source is a double disc—a double star, for instance, in which the
FIG. 100 discs have appreciable magnitude. The envelope of the curve, which is drawn full, corresponds to the circular form of the separate discs, and from this curve we can determine the size of the separate discs, provided they are equal. The dotted curve tells us that we are dealing with a double object. Hence, if in observing a heavenly body we obtain a visibility curve of this form, we infer that we are dealing with a double star.
There is a difficulty in carrying out such observations, especially when we are observing a very small object or a very close double star. For in this case the slits have to be separated rather widely, and the angle between the rays from the two slits, when they come together, is rather large. Hence, the distance between the interference fringes is correspondingly small, as was shown in a previous lecture, and this distance becomes less and less as the angle becomes greater and greater. When we approach the limit of resolution of the telescope, the fringes are so small that a rather high power eyepiece must be used in order to see them, and the light is correspondingly feeble. We may overcome this difficulty in the same way as we did in our transformation of the microscope into the interferometer, by using mirrors to change the direction of the beam of light, instead of allowing it to pass through two apertures in front of the lens.
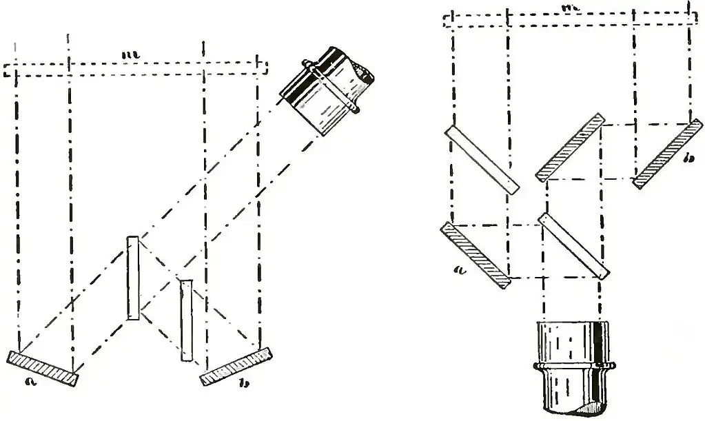
Fig. 101 represents two arrangements by which this may be accomplished. The light falls from above upon the two
FIG. 101 mirrors a and b, which correspond to the two slits. By these mirrors we can bend the light at any angle we choose, and bring the two beams together again at as small an angle as we wish, by means of the plane-parallel plate. Thus we can make the fringes as broad as we choose. In the second diagram we have a rather more complex arrangement of mirrors, but the effect is the same. The paths of the two rays can be easily traced in the diagrams.
If we wish to observe with such an arrangement a body of the size of a small satellite, we should have to construct the instrument so that the distance between the two mirrors could be altered, because these mirrors correspond to the two slits whose distance apart must be changed. This can be done by mounting the mirror a and the mirror b on a right- and left-handed screw. On turning the screw the two mirrors would move in opposite directions through equal distances, leaving everything else unchanged. Such an instrument is represented in Fig. 102. The light falls from below upon the two mirrors a and b, which are mounted on carriages which can be moved in opposite directions by the right- and left-handed screw.

Fig. 103 represents an actual instrument which was used in making laboratory experiments to test the method. The artificial double stars, or star discs, were pinholes made in a sheet of platinum. These holes were as small as it was possible to make them, of such a diameter as to test the resolution of the telescope, with a bright source of light behind them. The left-hand figure represents the double slit. It is mounted on a right- and left-handed screw and can be operated by the observer. The slits can thus be moved by a measurable quantity, and their distance apart when the fringes disappear can be determined.
After making a series of such experiments in the laboratory, I was invited to spend a few weeks at the Lick Observatory at Mount Hamilton to test the method on Jupiter's satellites. These satellites have angular magnitudes of something like one second of arc, so that they should be measurable by this method. The actual micrometric measurements which have been made of these satellites with the largest telescopes give results which vary considerably among themselves. Hence the interest in trying the interferometer method. The apparatus used was similar to that shown in Fig. 103, i. e., it consisted of two movable slits in front of the objective of the eleven-inch glass at the Lick Observatory.
The atmospheric conditions at Mount Hamilton while the work was in progress were not altogether favorable, so that
FIG. 103 out of the three weeks' sojourn there there were only four nights which were good enough to use, though one of these nights was almost perfect; and on this one night most of the measurements were made. The results obtained, together with those of four determinations which have been made by the ordinary micrometer method, using the largest telescopes available, are given in the following table:
| Number of Satellite | A. A. M. | Eng. | St. | Ho. | Bu. | ||
|
1.02 | 1.08 | 1.02 | 1.11 | 1.11 | ||
|
0.94 | 0.91 | 0.91 | 0.98 | 1.00 | ||
|
1.37 | 1.54 | 1.49 | 1.78 | 1.78 | ||
|
1.31 | 1.28 | 1.27 | 1.46 | 1.61 |
The numbers in the column marked A. A. M. are the results in seconds of arc obtained by the interference method. The other columns contain the results obtained by the ordinary method by Engelmann, Struve, Hough, and Burnham respectively. The important point to be noted is that the results by the interference method are near the mean of the other results, and that the results obtained by the other method differ widely among themselves.
It is also important to note that, while an eleven-inch glass was used for the observations by the interference method, the distance between the slits at which the fringes disappear was very much less than eleven inches; on the average, something like four inches. Now, with a six-inch glass one can easily put two slits at a distance of four inches. Hence a six-inch glass can be used with the same effectiveness as the eleven-inch, and gives results by the interference method which are equal in accuracy to those obtained by the largest telescopes known. If this same method were applied to the forty-inch glass of the Yerkes Observatory, it would certainly be possible to obtain measurements of objects only one-sixth as large as the satellites of Jupiter.
The principal object of the method which has been described was not, however, to measure the diameter of the planets and satellites, or even of the double stars, though it seems likely now that this will be one rather important object that may be accomplished by it; for some double stars are so close together that it is impossible to separate them in the largest telescope. A more ambitious problem, which may not be entirely hopeless, is that of measuring the diameter of the stars themselves. The nearest of these stars, as before stated, is so far away that it takes several years for light from it to reach us. They are about 100,000 times as far away as the sun. If they were as large as the sun, the angle they would subtend would be about one-hundredth of a second. A forty-inch telescope can resolve angles of approximately one-tenth of a second, so that, if we were to attempt to measure, or to observe, a disc of only one-hundredth of a second, it would require an objective whose diameter is of the order of forty feet—which, of course, is out of the question. It is, however, not altogether out of the question to construct an interference apparatus such that the distance between its mirrors would be of this order of magnitude.
But it is not altogether improbable that even some of the nearer stars are considerably larger than the sun, and in that case the angle which they subtend would be considerably larger. Hence it might not be necessary to have an instrument with mirrors forty feet apart. In addition it may be noted that it is not absolutely necessary to observe the disappearance of the fringes in order to show that the object has definite magnitude; for if the visibility of the fringes varies at all, we know that the source is not a point. For, suppose we observe the visibility curve of a star which is so far away that we know it has no appreciable disc. The visibility curve would correspond to a straight line. There would be no appreciable difference in distinction of fringes as the distance between the slits was increased indefinitely. If we now observe a star which has a diameter of one-hundredth of a second, we need only to observe that the visibility for a large distance between the slits is less than in the case of the distant star, in order to know that the second object has an appreciable disc, even if the instruments were not large enough to increase the distance sufficiently to make the fringes disappear. From the difference between two such visibility curves we might calculate rather roughly the actual magnitude of the stars.
SUMMARY
1. The investigation of the size and structure of the heavenly bodies is limited by the resolving power of the observing telescope. When the bodies are so small or so distant that this limit of resolution is passed, the telescope can give no information concerning them.
2. But an observation of the visibility curves of the interference fringes due to such sources, when made by the method of the double slit or its equivalent, and properly interpreted, gives information concerning the size, shape, and distribution of the components of the system. Even in the case of a fixed star, which may subtend an angle of less than one-hundredth of a second, it may not be an entirely hopeless task to attempt to measure its diameter by this means.
- ↑ This ignores the diffraction bands parallel to the shorter sides of the rectangle, which are usually inconspicuous.