1911 Encyclopædia Britannica/Strength of Materials
STRENGTH OF MATERIALS, that part of the theory of engineering which deals with the nature and effects of stresses in the parts of engineering structures. Its principal object is to determine the proper size and form of pieces which have to bear given loads, or, conversely, to determine the loads which can be safely applied to pieces whose dimensions and arrangement are already given. It also treats of the relation between the applied loads and the changes of form which they cause. The subject comprises experimental investigation of the properties of materials as to strength and elasticity, and mathematical discussion of the stresses in ties, struts, beams, shafts and other elements of structures and machines.
Stress is the mutual action between two bodies, or between two parts of a body, whereby each of the two exerts a force upon the other. Thus, when a stone lies on the ground there is at the surface of contact a stress, one aspect of which is the force directed downwards with which the stone pushes the ground, and the other aspect is the equal force directed upwards with which the ground pushes the stone. A body is said to be in a state of stress when there is a stress between the two parts which lie on opposite sides of an imaginary surface of section. A pillar or block supporting a weight is in a state of stress because at any cross section the part above the section pushes down against the part below, and the part below pushes up against the part above. A stretched rope is in a state of stress, because at any cross section the part on each side is pulling the part on the other side with a force in the direction of the rope's length. A plate of metal that is being cut in a shearing machine is in a state of stress, because at the place where it is about to give way the portion of metal on either side of the plane of shear is tending to drag the portion on the other side with a force in that plane.
Normal and Tangential Stress.—In a solid body which is in a state of stress the direction of stress at an imaginary surface of division may be normal, oblique or tangential to the surface. When oblique it is conveniently treated as consisting of a normal and a tangential component. Normal stress may be either push (compressive stress) or pull (tensile stress). Stress which is tangential to the surface is called shearing stress. Oblique stress may be regarded as so much push or pull along with so much shearing stress. The amount of stress per unit of surface is called the intensity of stress. Stress is said to be uniformly distributed over a surface when each fraction of the area of surface bears a corresponding fraction of the whole stress. If a stress P is uniformly distributed over a plane surface of area S, the intensity is P/S. If the stress is not uniformly distributed, the intensity at any point is δP/δS, where δP is the amount of stress on an indefinitely small area δS at the point considered. For practical purposes intensity of stress is usually expressed in tons weight per square inch, pounds weight per square inch, or kilogrammes weight per square millimetre or per square centimetre.
Simple Longitudinal Stress.—The simplest possible state of stress is that of a short pillar or block compressed by opposite forces applied at its ends, or that of a stretched rope or other tie. In these cases the stress is wholly in one direction, that of the length. These states may be distinguished as simple longitudinal push and simple longitudinal pull. In them there is no stress on planes parallel to the direction of the applied forces.
Compound Stress.—A more complex state of stress occurs if the block is compressed or extended by forces applied to a pair of opposite sides, as well as by forces applied to its ends—that is to say, if two simple longitudinal stresses in different directions act together. A still more complex state occurs if a third stress be applied to the remaining pair of sides. It may be shown (see Elasticity) that any state of stress which can possibly exist at any point of a body may be produced by the joint action of three simple pull or push stresses in three suitably chosen directions at right angles to each other. These three are called principal stresses.and their directions are called the axes of principal stress. These axes have the important property that the intensity of stress along one of them is greater, and along another it is less, than in any other direction. These are called respectively the axes of greatest and least principal stress.
Resolution of Stress.—Returning now to the case of a single simple longitudinal stress, let AB (fig. 1) be a portion of a tie or a strut which is being pulled or pushed in the direction of the axis AB with a total stress P. On any plane CD taken at right angles to the axis we have a normal pull or push of intensity p = P/S, S being the area of the normal cross-section. On a plane EF whose normal is inclined to the axis at an angle 6 we have a stress still in the direction of the axis, and therefore oblique to the plane EF, of intensity P/S′, where S′ is the area of the surface EF, or S/cos θ. The whole stress P on EF may be resolved into two components, one normal to EF, and the other a shearing stress tangential to EF. The normal component (Pn fig. 2) is P cos θ: the tangential component (Pt) is P sin θ. Hence the intensity of normal pull or push on EF, or p n , is p cos 2 θ, and the intensity of shearing stress EF, or pt, is p sin θ cos θ. This expression makes pt a maximum when θ = 45°: surfaces inclined at 45° to the axis are called surfaces of maximum shearing stress; the intensity of shearing stress on them is 1/2p.

Fig. 1.

Fig. 2.

Fig. 3.
Combination of Two Simple Pull or Push Stresses at Right Angles to One Another.—Suppose next that there are two principal stresses: in other words that in addition to the simple pull or push stress of fig. I there is a second pull or push stress acting at right angles to it as in fig. 3. Call these Px and Py respectively. On any inclined surface EF there will be an in- tensity of stress whose normal component p n and tangential component pt are found by summing up the effects due to Px and Py separately. Let px and py be the intensities of stress produced by Px and Py respectively on planes perpendicular to their own directions. Then
- pn=(Px cos2 θ+py sin2 θ,
- pt=(px − py) sin θ cos θ,
θ being the angle which the normal to the surface makes with the direction of P,.
The tangential stress pt becomes a maximum when θ is 45°, and its value then is
Max. pt=1/2 (px−py).
If in addition there is a third principal stress Pz, it will not produce any tangential component on planes perpendicular to the plane of the figure. Hence the above expression for the maximum tangential stress will still apply, and it is easy to extend this result so as to reach the important general proposition that in any condition of stress whatever the maximum intensity of shearing stress is equal to one-half the difference between the greatest and least principal stresses and occurs on surfaces inclined at 45° to them.

Fig. 4.
State of Simple Shear.—A special case of great importance occurs when there are two principal stresses only, equal in magnitude and opposite in sign; in other words, when one 5 is a simple push and the other a simple pull. Then on surfaces inclined at 45° to the axes of pull and push there is nothing but tangential stress, for pn=0 and this intensity of tangential stress is numerically equal to px or to py. This condition of stress is called a state of simple shear.
Figs. 3, 4, 5, 6, 15, 16, 17, 18, 19, 20, 23, 24 and 25 are from Ewing's Strength of Materials, by permission of the Cambridge University Press.
The state of simple shear may also be arrived at in another way. Let an elementary cubical part of any solid body (fig. 4) have tangential stresses QQ applied to one pair of opposite faces, A and B, and equal tangential stresses applied to a second pair of faces C and D, as in the figure. The effect is to set up a state of simple shear. On all planes parallel to A and B there is nothing but tangential stress, and the same is true of all planes parallel to C and D. The intensity of the stress on both systems of planes is equal throughout to the intensity of the stress which was applied to the face of the block.

Fig. 5.
To see the connexion between these two ways of specifying a state of simple shear consider the equilibrium of the parts into which the block may be divided by ideal diagonal planes of section. To balance the forces QQ (fig. 5), there must be normal pull on the diagonal plane, the amount of which is P = Q√2. But the area of the surface over which P acts is greater than that of the surface over which Q acts in the proportion which P bears to Q, and hence the intensity of P is the same as the intensity of Q.

Fig. 6.
Again, taking the other diagonal plane (fig. 6), the same argument applies except that here the normal force P required for equilibrium is a push instead of a pull. Thus the state of stress represented in fig. 4 admits of analysis into two equal principal stresses, one of push and one of pull, acting in directions at right angles to one another and inclined at 45° to the planes of shear stress.
Equality of Shearing Stress in Two Directions.—No tangential stress can exist in one direction without an equal intensity of tangential stress existing in another direction at right angles to the first. To prove this it is sufficient to consider the equilibrium of the elementary cube of fig. 4. The tangential forces acting on two sides A and B produce a couple which tends to rotate the cube. No arrangement of normal stresses on any of the three pairs of sides of the cube can balance this couple ; that can be done only by equal tangential forces on C and D.
Fluid Stress.—Another important case occurs when there are three principal stresses all of the same sign and of equal intensity p. The tangential components on any planes cancel each other: the stress on every plane is wholly normal and its intensity is p. This is the only state of stress that can exist in a fluid at rest because a fluid exerts no statical resistance to shear. For this reason the state is often spoken of as a fluid stress.
Strain is the change of shape produced by stress. If the stress is a simple longitudinal pull, the strain consists of lengthening in the direction of the pull, accompanied by contraction in both directions at right angles to the pull. If the stress is a simple push, the strain consists of shortening in the direction of the push and expansion in both directions at right angles to that; the stress and the strain are then exactly the reverse of what they are in the case of simple pull. If the stress is one of simple shearing, the strain consists of a distortion such as would be produced by the sliding of layers in the direction of the shearing stresses.
A material is elastic with regard to any applied stress if the strain disappears when the stress is removed. Strain which persists after the stress that produced it is removed is called permanent set. For brevity, it is convenient to speak of strain which disappears when the stress is removed as elastic strain.
Limits of Elasticity.—Actual materials are generally very perfectly elastic with regard to small stresses, and very imperfectly elastic with regard to great stresses. If the applied stress is less than a certain limit, the strain is in general small in amount, and disappears wholly, or almost wholly when the stress is removed. If the applied stress exceeds this limit, the strain is, in general, much greater than before, and most of it is found, when the stress is removed, to consist of permanent set. The limits of stress within which strain is wholly or almost wholly elastic are called limits of elasticity.
For any particular mode of stress the limit of elasticity is much more sharply defined in some materials than in others. When well denned it may readily be recognized in the testing of a sample from the fact that after the stress exceeds the limit of elasticity the strain begins to increase in a much more rapid ratio to the stress than before. This characteristic goes along with the one already mentioned, that up to the limit the strain is wholly or almost wholly elastic.
Hooke’s Law.—Within the limits of elasticity the strain produced by a stress of any one kind is proportional to the stress producing it. This is Hooke's law, enunciated by him in 1676.
In applying Hooke’s law to the case of simple longitudinal stress—such as the case of a bar stretched by simple longitudinal pull—we may measure the state of strain by the change of length per unit of original length which the bar undergoes when stressed. Let the original length be I, and let the whole change of length be δl when a stress is applied whose intensity p is within the elastic limit. Then the strain is measured by δl/l, and this by Hooke's law is proportional to p. This may be written
where E is a constant for the particular material considered. The same value of E applies to push and to pull, these modes of stress being essentially continuous, and differing only in sign.
Young's Modulus.—This constant E is called the modulus of longitudinal extensibility, or Young’s modulus. Its value, which is expressed in the same units as are used to express intensity of stress, may be measured directly by exposing a sample of the material to longitudinal pull and noting the extension, or indirectly by measuring the flexure of a loaded beam of the material, or by experiments on the frequency of vibrations. It is frequently spoken of by engineers simply as the modulus of elasticity, but this name is too general, as there are other moduli applicable to other modes of stress. Since E = pl/δl, the modulus may be defined as the ratio of the intensity of stress p to the longitudinal strain δl/l.
Modulus of Rigidity.—In the case of simple shearing stress, the strain may be measured by the angle by which each of the four originally right angles in the square prism of fig. 3 is altered by the distortion of the prism. Let this angle be φ in radians; then by Hooke's law p/φ = C, where p is the intensity of shearing stress and C is a constant which measures the rigidity of the material. C is called the modulus of rigidity, and is usually determined by experiments on torsion.
Modulus of Cubic Compressibility.—When three simple stresses of equal intensity p and of the same sign (all pulls or all pushes) are applied in three directions, the material (provided it be isotropic, that is to say, provided its properties are the same in all directions) suffers change of volume only, without distortion of form. If the volume is V and the change of volume δV, the ratio of the stress p to the strain SV/V is called the modulus of cubic compressibility, and will be denoted by K.
Of these three moduli the one of most importance in engineering applications is Young’s modulus E. When a simple longitudinal pull or push of intensity p is applied to a piece, the longitudinal strain of extension or compression is p/E. This is accompanied by a lateral contraction or expansion, in each transverse direction, whose amount may be written p/σE, where σ is the ratio of longitudinal to lateral strain. It is shown in the article Elasticity, that for an isotropic material
E=9CK/3K+C and σ=2(3K+C)/3K−2C.
Plastic Strain.—Beyond the limits of elasticity the relation of strain to stress becomes very indefinite. Materials then exhibit, to a greater or less degree, the property of plasticity. The strain is much affected by the length of time during which the stress has been in operation, and reaches its maximum, for any assigned stress, only after a long (perhaps an indefinitely long) time. Finally, when the stress is sufficiently increased, the ratio of the increment of strain to the increment of stress becomes indefinitely great if time is given for the stress to take effect. In other words, the substance then assumes what may be called a completely plastic state; it flows under the applied stress like a viscous liquid.
Ultimate Strength.—The ultimate strength of a material with regard to any stated mode of stress is the stress required to produce rupture. In reckoning ultimate strength, however, engineers take, not the actual intensity of stress at which rupture occurs, but the value which this intensity would have reached had rupture ensued without previous alteration of shape. Thus, if a bar whose original cross-section is 2 sq. in. breaks under a uniformly distributed pull of 60 tons, the ultimate tensile strength of the material is reckoned to be 30 tons per square inch, although the actual intensity of stress which produced rupture may have been much greater than this, owing to the contraction of the section previous to fracture. The convenience of this usage will be obvious from an example. Suppose that a piece of material of the same quality be used in a structure under conditions which cause it to bear a simple pull of 6 tons per square inch; we conclude at once that the actual load is one-fifth of thar which would cause rupture, irrespective of the extent to which the material might contract in section if overstrained. The stresses which occur in engineering practice are, or ought to be, in all cases within the limits of elasticity, and within these limits the change of cross-section caused by longitudinal pull or push is so small that it may be neglected in reckoning the intensity of stress.
Ultimate tensile strength and ultimate shearing strength are well defined, since these modes of stress (simple pull and simple shearing stress) lead to distinct fracture if the stress is sufficiently increased. Under compression some materials yield so continuously that their ultimate strength to resist compression can scarcely be specified ; others show so distinct a fracture by crushing that their compressive strength may be determined with some precision.
Some of the materials used in engineering, notably timber and wrought iron, are so far from being isotropic that their strength is widely different for stresses in different directions. In the case of wrought iron the process of rolling develops a fibrous structure on account of the presence of streaks of slag which become interspersed with the metal in puddling; and the tensile strength of a rolled plate is found to be considerably greater in the direction of rolling than across the plate. Steel plates, being rolled from a nearly homogeneous ingot, have nearly the same strength in both directions, provided the process of rolling is completed at a temperature high enough to allow recrystallization to take place in cooling. Cold-rolled or cold-drawn metal is not isotropic because the crystals of which it is made up have been elongated in one direction by the process: but isotropy may be restored by heating the piece sufficiently to allow the crystals to re-form.
Permissible Working Stress.—In applying a knowledge of the strength of materials to determine the proper sizes of parts in an engineering structure we have to estimate a permissible working stress. This is based partly on special tests and partly on experience of the behaviour of the material when used in similar structures. The working stress is rarely so much as one-third of the ultimate strength; it is more commonly one-fourth or one-fifth and in some cases, especially where the loads to be borne are liable to reversal or to much change, it may be prudent to make the working stress even less than this.
Factor of Safety.—The ratio of the ultimate strength to the working stress is called the factor of safety. The factor should in general be such as to bring the working stress within the limit of elasticity and even to leave within that limit a margin which will be ample enough to cover such contingencies as imperfection in the theory on which the calculation of the working stress is founded, lack of uniformity in the material itself, uncertainty in the estimation of loads, imperfections of workmanship which may cause the actual dimensions to fall short of those that have been specified, alterations arising from wear, rust and so forth. An important distinction has to be drawn in this connexion between steady or “dead” loads and loads which are subject to variation and especially to reversal. With the former the working stress may reach or pass the elastic limit without destroying the structure; but in a piece subject to reversals a stress of the same magnitude would lead inevitably to rupture, and hence a larger margin should be left to ensure that in the latter case the elastic limit shall not even be approached.
It is in fact the elastic limit rather than the ultimate strength of the material on which the question mainly depends of how high the working stress may safely be allowed to rise in any particular conditions as to mode of loading, and accordingly it becomes a matter of much practical importance to determine by tests the amount of stress which can be borne without permanent strain. From an engineering point of view the structural merit of a material, especially when variable loads and possible shocks have to be sustained, depends not only on the strength but also on the extent to which the material will bear deformation without rupture. This characteristic is shown in tests made to determine tensile strength by the amount of ultimate elongation, and also by the contraction of the cross-section which occurs through the flow of the metal before rupture. It is often, tested in other ways, such as by bending and unbending bars in a circle of specified radius, or by examining the effect of repeated blows. Tests by impact are generally made by causing a weight to fall through a regulated distance on a piece of the material supported as a beam.
Tests of Strength.—Ordinary tests of strength are made by submitting the piece to direct pull, direct compression, bending or torsion. Testing machines are frequently arranged so that they may apply any of these four modes of stress; tests by direct tension are the most common, and next to them come tests by bending. When the samples to be tested for tensile strength are mere wires, the stress may be applied directly by weights; for pieces of larger section some mechanical multiplication of force becomes necessary. Owing to the plasticity of the materials to be tested, the applied loads must be able to follow considerable change of form in the test-piece: thus in testing the tensile strength of wrought iron or steel provision must be made for taking up the large extension of length which occurs before fracture. In most modern forms of large testing machines the loads are applied by means of hydraulic pressure acting on a piston or plunger to which one end of the specimen is secured, and the stress is measured by connecting the other end to a lever or system of levers provided with adjustable weights. In small machines, and also in some large ones, the stress is applied by screw gearing instead of by hydraulic pressure. Springs are sometimes used instead of weights to measure the stress, and another plan is to make one end of the specimen act on a diaphragm forming part of a hydrostatic pressure gauge.
![]() | |
| Fig. 7. | Fig. 8. |
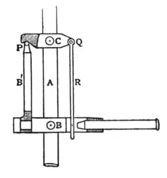
Single-lever Testing Machine.—Figs. 7 and 8 show an excellent form of single-lever testing machine designed by J. H. Wicksteed (Proc. Inst. Mech. Eng., August 1882) in which the stress is applied by an hydraulic plunger and is measured by a lever or steelyard and a movable weight. The illustration shows a 30-ton machine, but machines of similar design are in common use which exert a force of 100 tons or more. AA is the lever, on which there is a graduated scale. The stress on the test-piece T is measured by a weight W of 1 ton (with an attached vernier scale), which is moved along. the lever by a screw-shaft S; this screw-shaft is driven by a belt from a parallel shaft R, which takes its motion, through bevel-wheels and a Hooke’s joint in the axis of the fulcrum, from the hand-wheel H. (The Hooke’s joint in the shaft R is shown in a separate sketch above the lever in fig. 8.) The holder for the upper end of the sample hangs from a knife-edge 3 in. from the fulcrum of the lever. The lower holder is jointed to a cross-head C, which is connected by two vertical screws to a lower cross-head B, upon which the hydraulic plunger shown in section in fig. 7 exerts its thrust. G is a counterpoise which pushes up the plunger when the water is allowed to escape. Hydraulic pressure may be applied to the plunger by pumps or by an accumulator. In the present instance it is applied by means of an auxiliary plunger Q, which is pressed by screw gearing into an auxiliary cylinder. Q is driven by a belt on the pulley D. This puts stress on the specimen, and the weight W is then run out along the lever so that the lever is just kept floating between the stops E, E. Before the test -piece is put in the distance between the holders is regulated by means of the screws connecting the upper and lower cross-heads C and B, these screws being turned by a handle applied at F. The knife edges are made long enough to prevent the load on them from ever exceeding 5 tons to the linear inch. To adapt a machine of this class for tests in compression, a small platform is suspended like a stirrup by four rods from the weigh-beam, and hangs below the cross-head, which is pulled down when the hydraulic cylinder is put in action. The arrangement is that of two stirrups linked with one another, so that when the two pull against each other a block of material placed between them becomes compressed. For tests in bending one of the stirrups, namely, the platform which hangs from the weigh-beam, is made some 4 or 5 ft. long, and carries two knife-edge supports at its ends on which the ends of the piece that is to be bent rest, while the cross-head presses down upon the middle of the piece. In both cases the force which is exerted is measured by means of the weigh-beam and travelling weight, just as in the tension tests. To apply the force continuously, without shock, and either quickly or slowly at will, a very convenient plan is to use an hydraulic intensifier, consisting of a large hydraulic piston operating a much smaller one. By gradually admitting water to the large piston from any convenient source under moderate pressure, such as the town water mains, a progressively increased pressure is produced in the fluid on which the small piston acts, and this fluid is admitted to the straining cylinder of the. machine. One of the advantages of the vertical type of machine, with its single horizontal lever, is the facility with which the correctness of its readings may be verified. The two things to be tested are (1) the distance between the knife-edges, one of Which forms the fulcrum of the weigh-beam and from the other of which the shackle holding the upper end of the specimen is hung, and (2) the weight of the travelling poise. The weight of the poise is readily ascertained by using a supplementary known weight to apply a known moment to the beam, and measuring how far the poise' has to be moved to restore equilibrium. The distance between the knife-edges is then found by hanging a known heavy weight from the shackle, and again observing how far the poise has to be moved. Another example of the single-lever type is the Werder testing machine, much used on the continent of Europe. In it the specimen is horizontal; one end is fixed, the other is attached to the short vertical arm of a bell-crank lever, whose fulcrum is pushed out horizontally by an hydraulic ram.[1]
Multiple-lever Testing Machines.—In many other testing machines a system of two, three or more levers is employed to reduce the force between>the specimen and the measuring weight. In most cases the fulcrums are fixed, and the stress is applied to one end of the specimen by hydraulic power or by screw gearing, which takes up the stretch, as in the single-lever machines already described. David Kirkaldy, who was one of the earliest as well as one of the most assiduous workers in this field, applied in his 1,000,000!b machine a horizontal hydraulic press directly to one end of the horizontal test-piece. The other end of the piece was connected to the short vertical arm of a bell-crank lever; the long arm of this lever was horizontal, and was connected to a second lever to which weights were applied.
Machines have been employed in which one end of the specimen is held in a fixed support; an hydraulic press acts on the other end, and the stress is calculated from the pressure of fluid in the press, this being observed by a pressure-gauge. Machines of this class are open to the obvious objection that the friction of the hydraulic plunger causes a large and very uncertain difference between the force exerted by the fluid on the plunger and the force exerted by the plunger on the specimen. It appears, however, that in the ordinary conditions of packing the friction is very nearly proportional to the fluid pressure, and its effect may therefore be allowed for with some exactness. The method is not to be recommended for work requiring precision, unless the plunger be kept in constant rotation on its own axis during the test, in which case the effects of friction are almost entirely eliminated.
Diaphragm Testing Machines.—In another class of testing machines the stress (applied as before to one end of the piece, by gearing or by hydraulic pressure) is measured by connecting the other end to a flexible diaphragm, on which a liquid acts whose pressure is determined by a gauge. Fig. 9 shows

Fig. 9.
Thomasset's testing machine, in which one end of the specimen is pulled by an hydraulic press A. The other end acts through a bell-crank lever B on a horizontal diaphragm C, consisting of a metallic plate and a flexible ring of india-rubber. The pressure on the diaphragm causes a column of mercury to rise in the gauge-tube D. The same principle is applied in the remarkable testing machine of Watertown. arsenal, built in 1879 by the U.S. government to the designs of A. H. Emery. This is a horizontal machine, taking specimens of any length up to 30 ft., and exerting a pull of 360 tons or a push of 480 tons by an hydraulic press at one end. The stress is taken at the other end by a group of four large vertical diaphragm presses, which communicate by small tubes with four similar small diaphragm presses in the scale case. The pressure of these acts on a system of levers which terminates in the scale beam. The joints and bearings of all the levers are made frictionless by using flexible steel connecting-plates instead of knife-edges. The total multiplication at the end of the scale beam is 420,000.[2] Stress-strain Diagrams. â€" The results of tests are very commonly exhibited by means of stress-strain diagrams, or diagrams showing the relation of strain to stress. A few typical diagrams for wrought iron and steel in tension are given in fig. 10, the data for which are taken from tests of long rods by Kirkaldy.[3] Up to the elastic limit these diagrams show sensibly the same rate of extension for all the materials to which they refer. Soon after the limit of elasticity is passed, a point, which has been called by Sir A. B. W. Kennedy the yield-point, is reached,

Fig. 10.
which is marked by a very sudden extension of the specimen. After this the extension becomes less rapid; then it continues at a fairly regular and gradually increasing rate; neat the point of rupture the metal again begins to draw out rapidly. When this stage is reached rupture will occur through the flow of the metal, even if the load be somewhat decreased. The diagram may in this way be made to come back towards the line of no load, by withdrawing a part of the load as the end of the test is approached.
Fig. 11 is a stress-strain diagram for cast iron in extension and compression, taken from Eaton Hodgkinson's experiments.[4] The extension was measured on a rod 50 ft. long; the compression was also measured on a long rod, which

Fig. 11.
was prevented from buckling by being supported in a trough with partitions. The full line gives the strain produced by loading; it is continuous through the origin, showing that Young’s modulus is the same for pull and push. (Similar experiments on wrought iron and steel in extension and compression have given the same result.) The broken line shows the set produced by each load. Hodgkinson found that some set could be detected after even the smallest loads had been applied. This is probably due to the existence of initial internal stress in the metal, produced by unequally rapid cooling in different portions of the cast bar. A second loading of the same piece showed a much closer approach to perfect elasticity. The elastic limit is, at the best, ill defined; but by the time the ultimate load is reached the set has become a more considerable part of the whole strain. The pull curves in the diagram extend to the point of rupture; the compression curves are drawn only up to a stage at which the bar buckled (between the partitions) so much as to affect the results.
Autographic Recorders.—Testing machines are sometimes fitted with autographic appliances for drawing strain diagrams. When the load is measured by a weight travelling on a steelyard, the diagram may be drawn by connecting the weight with a drum by means of a wire or cord, so that the drum is made to revolve through angles proportional to the travel of the weight. At the same time another wire, fastened to a clip near one end of the specimen, and passing over a pulley near the other end, draws a pencil through distances proportional to the strain, and so traces a diagram of stress and strain on a sheet of paper stretched round the drum.[5] In Wicksteed’s autographic recorder the stress is determined by reference, not to the load on the lever, but to the pressure in the hydraulic cylinder by which stress is applied. The main cylinder is in communication with a small auxiliary hydraulic cylinder, the plunger of which is kept rotating to avoid friction at its packing. This plunger abuts against a spring, so that the distance through which it is pushed out varies with the pressure in the main cylinder. A drum covered with paper moves with the plunger under a fixed pencil, and is also caused to rotate by a wire from the specimen through distances proportional to the strain. The scale of loads is calibrated by occasional reference to the weighted lever.[6] In Kennedy's apparatus autographic diagrams are drawn by applying the stress to the test-piece through an elastic master-bar of larger section. The master-bar is never strained beyond its elastic limit, and within that limit its extension furnishes an accurage measure of the stress; this gives motion to a pencil, which writes on a paper moved by the extension of the test- piece.[7] In R. H. Thurston's pendulum machine for torsion tests, a cam attached to the pendulum moves a pencil through distances proportional to the stress, while a paper drum attached to the other end of the test-piece turns under the pencil through distances proportional to the angle of twist.[8]
Strain beyond the Elastic Limit: Influence of Time.—In testing a plastic material such as wrought-iron or mild steel it is found that the behaviour of the metal depends very materially on the time rate at which stress is applied. When once the elastic limit is passed the full strain corresponding to a given load is reached only after a perceptible time, sometimes even a long time. If the load be increased to a value exceeding the elastic limit, and then kept constant, the metal will be seen to draw out (if the stress be one of pull), at first rapidly and then more slowly. When the applied load is considerably less than the ultimate strength of the piece (as tested in the ordinary way by steady increment of load) it appears that this process of slow extension comes at last to an end. On the other hand, when the applied load is nearly equal to the ultimate strength, the flow of the metal continues until rupture occurs. Then, as in the former case, extension goes on at first quickly, then slowly, but finally, instead of approaching an asymptotic limit, it quickens again as the piece approaches rupture. The same phenomena are observed in the bending of timber and other materials when in the form of beams. If, instead of being subjected to a constant load, a test-piece is set in a constant condition of strain, it is found that the stress required to maintain this constant strain gradually decreases.
The gradual flow which goes on under constant stress—approaching a limit if the stress is moderate in amount, and continuing without limit if the stress is sufficiently great—will still go on at a diminished rate if the amount of stress be reduced. Thus, in the testing of soft iron or mild steel by a machine in which the stress is applied by hydraulic power, a stage is reached soon after the limit of elasticity is passed at which the metal begins to flow with great rapidity. The pumps often do not keep pace with this, and the result is that, if the lever is to be kept floating, the weight on it must be run back. Under this reduced stress the flow continues, more slowly than be- fore, until presently the pumps recover their lost ground and the increase of stress is resumed. Again, near the point of rupture, the flow again becomes specially rapid; the weight on the lever has again to be run ' back, and the specimen finally breaks under a diminished load. These features are well shown by fig. 12, which is copied from the autographic diagram of a test of mild steel.

Fig. 12.
Hardening Effect of Permanent Set.—But it is not only through what we may call the viscosity of materials that the time rate of loading affects their behaviour under test. In iron and steel, and probably in some other metals, time has another effect of a very remarkable kind. Let the test be carried to any point a (fig. 13) past the original limit of elasticity. Let the load then be removed; during the first stages of this removal the material continues to stretch slightly, as has been explained above. Let the load then be at once replaced and loading continued. It will then be found that there is a new yield-point b at or near the value of the load formerly reached. The full line be in fig. 13 shows the subsequent behaviour of the piece. But now let the experiment be repeated on another sample, with this difference, that an interval of time, of a few hours or more, is allowed to elapse after the load is removed and before it is replaced. It will then be found that a process of hardening has been going on during this interval of rest; for when the loading is continued the new yield-point appears, not at b as formerly, but at a higher load d. Other evidence that a change has taken place is afforded by the fact that the ultimate extension is reduced and the ultimate strength is increased (e, fig. 13).
A similar and even more marked hardening occurs when a load (exceeding the original elastic limit), instead of being removed and replaced, is kept on for a sufficient length of time without change. When loading is resumed a new yield-point is found only after a considerable addition has been made to the load. The result is, as in the former case, to give greater ultimate strength and less ultimate elongation. Fig. 14 exhibits two experiments of this kind, made with annealed iron wire. A
![]() |
|
| Fig. 13. | Fig. 14. |
load of 23½ tons per square inch was reached in both cases; ab shows the result of continuing to load after an interval of five minutes, and acd after an interval of 45½ hours, the stress of 23½ tons being maintained during the interval in both cases.[9]
It may be concluded that, when a piece of metal has in any way been overstrained by stress exceeding its limits of elasticity, it is hardened, and (in some cases at least) its physical properties go on slowly changing for days or even months. Instances of the hardening effect of permanent set occur when plates or bars are rolled cold, hammered cold, or bent cold, or when wire is drawn. When a hole is punched in a plate the material contiguous to the hole is severely distorted by shear, and is so much hardened in consequence that when a strip containing the punched hole is broken by tensile stress the hardened portion, being unable to extend so much as the rest, receives an undue proportion of the stress, and the strip breaks with a smaller load than it would have -borne had the stress been uniformly distributed. This bad effect of punching is especially noticeable in thick plates of mild steel. It disappears when a narrow ring of material surrounding the hole is removed by means of a rimer, so that the material that is left is homogeneous. Another remarkable instance of the same kind of action is seen when a mild-steel plate which is to be tested by bending has a piece cut from its edge by a shearing machine. The result of the shear is that the metal close to the edge is hardened, and, when the plate is bent, this part, being unable to stretch like the rest, starts a crack or tear which quickly spreads across the plate on account of the fact that in the metal at the end of the crack there is an enormously high local intensity of stress. By the simple expedient of planing off the hardened edge before bending the plate homogeneity is restored, and the plate will then bend without damage.
Annealing.—The hardening effect of overstrain is removed by the process of annealing, that is, by heating to redness and cooling slowly. In the ordinary process of rolling plates or bars of iron or mild steel the metal leaves the rolls at so high a temperature that it is virtually annealed, or pretty nearly so. The case is different with plates and bars that are rolled cold: they, like wire supplied in the hard-drawn state (that is, without being annealed after it leaves the draw-plate), exhibit the higher strength and greatly reduced plasticity which result from permanent set.
Extensometers.—Much attention has been paid to the design of extensometers, or apparatus for observing the small deformation which a test-piece in tension or compression undergoes before its limit of elasticity is reached. Such observations afford the most direct means of measuring the modulus of longitudinal elasticity of the material, and they serve also to determine the limits within which the material is elastic. In such a material as wrought iron the elastic extension is only about 1/12000 of the length for each ton per square inch of load, and the whole amount up to the elastic limit is perhaps 1/1000 of the length; with a length of 8 in., which is usual in tensile tests, it is desirable to read the extension to, say, 1/50000 in. if the modulus of elasticity is to be found with fair accuracy, or if the limits of proportionality between strain to stress are under examination. Measurements taken between marks on one side of the bar only are liable to be affected by bending of the piece, and it is essential either to make independent measurements on both sides or to measure the displacement between two pieces which are attached to the bar in such a manner as to share equally the strain on both sides.
In experiments carried out by Bauschinger, independent measurements of the strains on both sides of the bar were made by using mirror micrometers ot the type illustrated diagrammatically in fig. 15. Two clips a and b clasp the test-piece at the place between

Fig. 15.
which the extension is to be measured. The clip b carries two small rollers d1 d2 which are free to rotate on centres fixed in the clip. These rollers press on two plane strips c1 c2 attached to the other clip. When the specimen is stretched the rollers consequently turn through angles proportional to the strain, and the amount of turning is read by means of small mirrors g1 and g2, fixed to the rollers, which reflect the divisions of a fixed scale f into the reading telescopes e1 e2 . In Martens's extensometer each of the rollers is replaced by a rhombic piece of steel with sharp edges, one of which bears against the test-piece, while the other rests in a groove formed in the spring projecting parallel to the test-piece from the distant clip. Much

Fig. 16.
excellent work has been done by extensometers of this class, but in point of convenience of manipulation it is of great advantage to have the apparatus self-contained. J. A. Ewing has introduced a microscope extensometer of the self-contained type which is shown in fig. 16; its action will be seen by reference to the diagram fig. 17. Two clips B and C are secured on the bar, each by means of a pair of opposed set-screws. Between the two is a rod B′ which is hinged to B and has a blunt pointed upper end which makes a ball-and-socket joint with C at P. Another bar R hangs from C, and carries a mark which is read by a microscope attached to B. Hence, when the specimen stretches, the length of B′ being fixed, the bar R is pulled up relatively to the microscope, and the amount of the movement

Fig. 17.
is measured by a micrometer scale in the eyepiece. A screw at P serves to bring the mark on R into the field of view, and also to calibrate the readings of the micrometer scale. The scale allows readings to be taken to be taken in to 1/50000 in., by estimating tenths of the actual divisions. The arms CP and CQ are equal, and hence the movement of Q represents twice the extension of the bar under test. In another form of the instrument adapted to measure the elastic compression of short blocks the arm CQ is four times the length of CP, and consequently there is a mechanical magnification of five besides the magnification afforded by the microscope.
When the behaviour of specimens of iron, steel, or other materials possessing plasticity, is watched by means of a sensitive extensometer during the progress of a tensile test, it is in general observed that a very close proportionality between the load and the extension holds during the first stages of the loading, and that during these stages there is little or no "creeping" or supplementary extension when any particular load is left in action for a long time. The strain is a linear function of the stress, almost exactly, and disappears when the stress is removed. In other words, the material obeys Hooke's law. This is the stage of approximately perfect elasticity, and the elastic limit is the point rather vaguely defined by observations of the strain, at which a tendency to creep is first seen, or a want of proportionality between strain and stress. "Creeping" is usually the first indication that it has been reached. As the load is further augmented, there is in general a clearly marked yield-point, at which a sudden large extension ensues. In metals which have been annealed or in any way brought into a condition which is independent of the effects of earlier applications of stress, this clastic stage is well marked, and the limit of elasticity is as a rule sharply defined. But if the metal has been previously overstrained, without having had its elasticity restored by annealing or other appropriate treatment, a very different

Fig. 18.
behaviour is exhibited. The yield-point may be raised, as, for instance, in wire which has been hardened by stretching, but the elasticity is much impaired, and it is only within very narrow limits, if at all, that proportionality between stress and strain is found. Subsequent prolonged rest gradually restores the elasticity, and after a sufficient number of weeks or months the metal is found to be elastic up to a point which may be much higher than the original elastic limit.[10] It has been shown by J. Muir[11] that the rate at which this recovery of elasticity occurs depends on the temperature at which the piece is kept, and that complete recovery may be produced in iron or steel by exposure of the overstrained specimen for a few minutes to the tempera-ture of boiling water. Figs. 18 and 19 illustrate interesting points in Muir's experiments. In these figures the geometrical device is adopted of shearing back the curves which show extension in relation to load by reducing each of the observed extensions by an amount proportional to the load, namely, by one unit of extension for each 4 tons per square inch of load. The effect is to contract the width of the diagrams, and to make any want of straightness in the curves more evident than it would otherwise be. To escape confusion, curves showing successive operations are drawn from separate origins. In the experiment of figs. 18 and 19 the material under test was a medium steel, containing about 0·4% of carbon, which when tested in the usual way showed a breaking strength of 39 tons per square inch with a well-marked elastic limit at about 22 tons. In fig. 18 the line A relates to a test of this material in its primitive condition; the loading was raised to 35 tons so as to produce a condition of severe overstrain. The load was then removed, and in a few minutes it was reapplied. The line B exhibits the effect of this application. Its curved form shows plainly that all approach to perfect elasticity has disappeared, as a consequence of the overstraining. There is now no elastic limit, no range of stress within which Hooke's law applies. With the lapse of time the curve gradually recovers its straightness, and the material, if kept at ordinary atmospheric temperature, would show almost complete recovery in a month or two. But in this instance the recovery was hastened by immersing the piece for four minutes in boiling water, and line C shows that this treatment restored practically perfect elasticity up to a limit as high as the load by which the previous overstraining had been effected. The loading in C was continued past a new yield-point; this made the elasticity again disappear, but it was restored in the same way as before, namely, by a few minutes' exposure to 100° C, and the line D shows the final test, in which the elastic limit has been raised in this manner to 45 tons. Other tests have shown that a temperature of even 50° C. has a considerable influence in hastening the recovery of elasticity after overstrain.
In the non-elastic condition which follows immediately on overstrain the metal shows much hysteresis in the relation of

Fig. 19.
strain to stress during any cyclic repetition of a process of loading. This is illustrated in fig. 19, where the arrows indicate the sequence of the operations.
When a piece of iron or steel which has been overstrained in tension is submitted to compression, it shows, as might be expected, no approach to conformity with Hooke's law until recovery has been brought about either by prolonged rest at ordinary temperature or by exposure for a short time to some higher temperature. After recovery has taken place the elastic limit in compression is found to have been lowered; that is to say, it occurs at a lower load than in a normal piece of the same metal. But it appears from Muir's experiments that the amount of this lowering is not at all equal to the amount by which the elastic limit has been raised in tension. In other, words, the general effect of hardening by overstrain, followed by recovery of elasticity, is to widen the range within which a practically complete proportionality between strain and stress holds good.
Contraction of Section at Rupture.—The extension which occurs when a bar of uniform section is pulled is at first general, and is distributed with some approach to uniformity over the length of the bar. Before the bar breaks, however, a large additional amount of local extension occurs at and near the place of rupture. The material flows in that neighbourhood much more than in other parts of the bar, and the section is much more contracted there than elsewhere. The contraction of area at fracture is frequently stated as one of the results of a test, and is a useful

Fig. 20.
index to the quality of materials. If a flaw is present sufficient to determine the section at which rupture shall occur the contraction of area will in general be distinctly diminished as compared with the contraction in a specimen free from flaws, although little reduction may be noted in the total extension of the piece. Local extension and contraction of area are almost absent in cast iron and hard steel; on the other hand, they are specially prominent in wrought iron, mild steel and other metals that combine plasticity with high tensile strength. An example is shown in fig. 20, which is copied from a photograph of a broken test-piece of Whitworth mild fluid-compressed steel. The piece was of uniform diameter before the test.
Experiments with long rods show that the general extension which occurs in parts of the bar not near the break is somewhat irregular;[12] it exhibits here and there incipient local stretching, which has stopped without leading to rupture. This is, of course, due in the first instance to want of homogeneity. It may be supposed that when local stretching begins at any point in the earlier stages of the test it is checked by the hardening effect of the strain, until, finally, under greater load, a stage is reached in which the extension at one place goes on so fast that the hardening effect cannot keep pace with the increase in intensity of stress which results from diminution of area; the local extension is then unstable, and rupture ensues. Even at this stage a pause in the loading, and an interval of relief from stress, may harden the locally stretched part enough to make rupture occur somewhere else when the loading is continued.
Influence of Local Stretching on Total Elongation.—Local stretching causes the percentage of elongation which a test-piece exhibits before rupture (an important quantity in engineers' specifications) to vary greatly with the length and section of the piece tested. It is very usual to specify the length which is to exhibit an assigned percentage of elongation. This, however, is not enough; the percentage obviously depends on the relation of the transverse dimensions to the length. A fine wire 8 in. long will stretch little more in proportion to its length than a very long wire of the same quality. An 8-in. bar, say 1 in. in diameter, will show something like twice as much the percentage of elongation as a very long rod. The experiments of Barba[13] show that, in material of uniform quality, the percentage of extension is constant for test -pieces of similar form, that is to say, for pieces of various size in which the transverse dimensions are varied in the same proportion as the length. It is to be regretted that in ordinary testing it is not practicable to reduce the pieces to a standard form with one proportion of transverse dimensions to length, since tests in which the relation of length to cross-section differ give results which are incapable of direct comparison with one another.
Influence on Strength.—The form chosen for test-pieces in tension tests affects not only the extension but also the ultimate strength. In the first place, if there is a sudden or rapid change in the area of cross-section at any part of the length under tension (as at AB, fig. 21), the stress will not be uniformly distributed there. The intensity will be greatest at the edges A and B, and the piece will, in consequence, pass its elastic limit at a less value of the total load than would be the case if the change from the larger to the smaller section were gradual. In a non-ductile material rupture will for the same reason take place at AB, with a less total load than would otherwise be borne. On the other hand, with a sufficiently ductile material, although the section AB is the first to be permanently deformed, rupture will preferably take place at some section not near AB, because at and near AB the contraction of

Fig. 21.
sectional area which precedes rupture is partly prevented by the presence of the projecting portions C and D. Hence, too, with a ductile material samples such as those of fig. 22, in

Fig. 22.
which the part of smallest section between the shoulders or enlarged ends of the piece is short, will break with a greater load than could be borne by long uniform rods of the same section. In good wrought iron and mild steel the flow of metal preceding rupture and causing local contraction of section extends over a length six or eight times the width of the piece; and, if the length throughout which the section is uniform be materially less than this, the process of flow will be rendered more difficult and the breaking load of the sample will be raised.[14]
These considerations have, of course, a wider application than to the mere interpretation of special tests. An important practical case is that of riveted joints, in which the metal left between the rivet holes is subjected to tensile stress. It is found to bear, per square inch, a greater pull than would be borne by a strip of the same plate if the strip were tested in the usual way with uniform section throughout a length great enough to allow complete freedom of local flow.[15]
Fracture by Tension.—In tension tests rupture may occur by direct separation over a surface which is nearly plane and normal to the line of stress. This is not uncommon in hard steel and other comparatively non-ductile materials. But in ductile materials under tension the piece generally gives way by shearing on an inclined surface. Very often the effect is a more or less perfect ring-shaped crater on one side of the break and a truncated cone on the other.
| Fig. 23. |
Fracture by Compression.—In compression tests of a plastic material, such as mild steel, a process of flow may go on without limit; the piece (which must of course be short, to avoid buckling) shortens and bulges out in the form of a cask. This is illustrated by fig. 23 (from one of Sir W. Fairbairn’s experiments), which shows the compression of a round block of steel (the original height and diameter of which are shown by the dotted lines) by a load equal to 100 tons per sq. in. of original sectional area. The surface over which the stress is distributed becomes enlarged, and the total load must be increased in a corresponding degree to maintain the process of flow.[16] The bulging often produces longitudinal cracks, as in the figure, especially when the material is fibrous as well as plastic (as in the case of wrought iron). A brittle material, such as cast iron, brick or stone, yields by shearing on inclined planes as in figs. 24 and 25, which are taken from
![]() |
|
| Fig. 24. | Fig. 25. |
Hodgkinson’s experiments on cast iron.[17] The simplest fracture of this kind is exemplified by fig. 24, where a single surface (approximately a plane) of shear divides the compressed block into two wedges. With cast iron the slope of the plane is such that this simplest mode of fracture can take place only if the height of the block is not less than about 3/2 the width of the base. When the height is less the action is more complex. Shearing must then take place over more than one plane, as in fig. 25, so that cones or wedges are formed by which the surrounding portions of the block are split off. The stress required to crush the block is consequently greater than if the height were sufficient for shearing in a single plane.
Plane of Shear.—The inclination of the surfaces of shear, when fracture takes place by shearing under a simple stress of pull or push, is a matter of much interest, throwing some light on the question of how the resistance which a material exerts to stress of one kind is affected by the presence of stress of another kind—a question scarcely touched by direct experiment. At the shorn surface there is, in the case of tension tests, a normal pull as well as a shearing stress, and in the case of compression tests a normal push as well as shearing stress. If this normal component were absent the material (assuming it to be isotropic) would shear in the surface of greatest shearing stress, which, as has already been shown, is a surface inclined at 45° to the axis. In fact, however, it does not shear on this surface. Hodgkinson’s experiments on the compression of cast iron give surfaces of shear whose normal is inclined at about 55° to the axis of stress, and Kirkaldy’s, on the tension of steel, show that when rupture of a rod under tension takes place by shear the normal to the surface is inclined at about 25° to the axis. These results show that normal pull diminishes resistance to shearing and normal push increases resistance to shearing. In the case of cast iron under compression, the material prefers to shear on a section where the intensity of shearing stress is only 0·94 of its value on the surface of maximum shearing stress (inclined at 43°), but where the normal push is reduced to 0·66 of the value which it has on the surface of maximum shearing stress.
Lüders’s Lines.—It is interesting to refer in this connexion to the phenomenon observed in 1859 by W. Lüders[18] of Magdeburg and afterwards studied more fully by L. Hartmann.[19] When a bar of plastic metal such as mild steel, preferably flat and with a polished surface, is extended a little beyond its elastic limit, markings appear on the surface in the form of narrow bands running transversely across it. These bands are regions within which a shearing deformation has taken place, resulting from the tension, as has been explained with reference to fig. 1, and they are distinguished from the remainder of the bar because in the early stages of plastic strain the yielding is local. For the reason that has just been explained in speaking of surfaces of rupture, Lüders’s lines in a rod strained by direct pull are found to be inclined, not at 45°, but at an angle more nearly normal to the axis of pull (making about 65° with it). Their inclination shows that the metal prefers to elongate by shearing on a section where p t the shearing stress is not at its maximum, because pn the normal component—which is a pull—is greater there, and this can only mean that the presence of a normal component of the nature of a pull at any section reduces the resistance to yielding under the shearing stress which acts at that section, while similarly the presence of a normal component of the nature of a push increases the resistance to shear.
Yielding under Compound Stress.—A question of much theoretical interest and also of some practical importance is, what determines the yielding of a piece when it is subjected not to a simple pull or push alone but to a stress combined of two or of three principal stresses? According to one view, which in the absence of experimental data appears to have been taken by W. J. M. Rankine, the material yields when the greatest principal stress reaches a certain limit, irrespective of the existence of the other principal stresses. According to another view (Barre de Saint-Venant), it yields when the maximum strain reaches a certain limit, and as the strain depends in part on each of the three principal stresses this gives a different criterion. Neither the maximum stress theory nor the maximum strain theory can be regarded as satisfactory, and probably a much sounder view is that the material yields when the greatest shearing stress reaches a certain limit. Even this, however, requires some qualification in the light of what has just been said about the inclination of surfaces of shear and Luders’s lines, for it is clear from these experimental indications that resistance to shear is affected by the presence of normal stress on the plane of shear, and conse- quently a theory which takes account of shearing stress only as the criterion of yielding cannot be completely correct. Accord- ing to the greatest shearing stress theory the yielding under compound stress depends directly on the difference between the greatest and least principal stress. In such cases of compound stress as have to be dealt with in engineering design this furnishes a criterion which though imperfect is certainly to be preferred to the criterion furnished by calculating the greatest principal stress.
Experiments on Compound Stress.—In experiments carried out by J. J. Guest (Phil. Mag., 1900, vol. 50) the action of combined stresses in causing yielding was investigated by sub- jecting thin tubes to (1) tension alone, (2) tension and torque, (3) tension and internal (fluid) pressure, and (4) torque and internal pressure, while measurements were made of the axial strain and the twist so as to detect the first failure of elasticity. The general result of the experiments, so far as they went, was to support the view that yielding depends primarily on the greatest shearing stress, that is to say, on the difference between the greatest and least principal stresses.
Fatigue of Metals.—A matter of great practical as well as scientific interest is the destructive action which materials
may suffer through repeated changes in their state of stress. It appears that in some if not in all materials a limited amount of stress-variation may be repeated time after time without appre- ciable deterioration in the strength of the piece; in the balance- spring of a watch, for instance, tension and compression succeed each other some 150 millions of times in a year, and the spring works for years without apparent injury. In such cases the stresses lie well within the elastic limits. On the other hand, the toughest bar breaks after a small number of bendings to and fro, when these pass the elastic limits, although the stress may have a value greatly short of the normal ultimate strength. A laborious research by A. Wohler, 1 extending over twelve years, gave much important information regarding the effects on iron and steel of very numerous repeated alternations of stress from positive to negative, or between a higher and a lower value with- out change of sign. By means of ingeniously-contrived machines he submitted test -pieces to direct pull, alternated with complete or partial relaxation from pull, to repeated bending in one direction and also in opposite directions, and to repeated twisting towards one side and towards opposite sides. The results show that a stress greatly less than the ultimate strength (as tested in the usual way by a single application of load continued to rupture) is sufficient to break a piece if it be often enough re- moved and restored, or even alternated with a less stress of the same kind. In that case, however, the variation of stress being less, the number of repetitions required to produce rupture is greater. In general, the number of repetitions required to produce rupture is increased by reducing the range through which the stress is varied, or by lowering the upper limit of that range. If the greatest stress be chosen small enough, it may be reduced, removed, or even reversed many million times without destroying the piece. Wohler's results are best shown by quoting a few figures selected from his experiments. The stresses are stated in centners per square zoll; 2 in the case of bars subjected to bending they refer to the top and bottom sides, which are the most stressed parts of the bar. I. Iron bar in direct tension: —
Stress.
Number of Applications
Stress.
Number of Applications
Max. Min.
causing Rupture.
Max. Mm
causing Rupture.
480
800
320
10,141,645
440
106,001
400
340,853
440 200
2.373,424
360
480,852
440 240
Not broken with 4 millions.
II. Iron
bar bent by transverse
load : —
Stress.
Number of Bendings
Stress.
Number of Bendings
Max. Min.
causing Rupture.
Max. Min.
causing Rupture.
550
169.750
400
1,320,000
500
420,000
350
4.035,400
450
481,950
300
Not broken with 48 millions.
III. Steel bar bent by transvers
e load : —
Stress.
Number of Bendings
Stress.
Number of Bendings
Max. Min.
causing Rupture.
Max. Min
causing Rupture.
OOO
72,450
900 400
225.300
000 200
81.200
000 500
764,900 — mean of two trials.
qoo 300
156,200
000 600
Not broken with 33 £ millions-
IV. Iron
bar bent by supportin
g at one end, the other end being
loaded; alternations of stress fron
1 pull to
Dush caused by rotating
the bar: —
Stress.
Number of Rotations
Stress.
Number of Rotations
From -T- to —
causing Rupture.
From + to
— causing Rupture.
320
56.430
220
3,632.588
300
99,000
200
4,917,902
2S0
183,145
180
ig,i86,79i_
260
479,400
160
Not broken with 1321 millions.
240
909,810
From these and other experiments Wohler concluded that the wrought iron to which the tests refer could probably bear an indefinite number of stress changes between the limits stated (in round numbers) in the following table (the ultimate tensile strength was about 192 tons per sq. in.): — â–
Stress in Tons per Sq. In.
From pull to push +7 to —7
From pull to no stress 13 to o
From pull to less pull 19 to 10J
1 Die Festigkeits-Versuche mit Eisen und Stahl (Berlin, 1870), or Zeitschr. fiir Bamvesen (1860-1870); see also Engineering (1871), vol. xi. For early experiments by Fairbairn on the same subject, see Phil. Trans. (1864).
- According to Bauschinger the centner per square zoll in which Wohler gives his results is equivalent to 6837 kilos per sq. cm., or 00434 t° n P er sq. in.
Hence it appears that the actual strength of this material varies in a ratio which may be roughly given as 3 : 2 : 1 in the three cases of (a) steady pull, (b) pull alternating with no stress, very many times repeated, and (c) pull alternating with push, very many times repeated. For steel Wohler obtained results of a generally similar kind. His experiments were repeated by L. Spangenberg, who extended the inquiry to brass, gun-metal and phosphor-bronze.? A considerable amount of light has been thrown on the nature of fatigue in metals by miscroscopic investigations, which will be referred to presently.
Resilience. — A useful application of diagrams showing the relation of strain to stress is to determine the amount of work done in straining a piece in any assigned way. The term " resilience " is conveniently used to specify the amount of work done when the strain just reaches the corresponding elastic limit. Thus a rod in simple tension or simple compression has a re- silience per unit of volume = phE, where /is the greatest elastic pull or push. A blow whose energy exceeds the resilience (reckoned for the kind of stress to which the blow gives rise) must in the most favourable case produce a permanent set; in less favourable cases local permanent set will be produced although the energy of the blow is less than the resilience, in consequence of the strain being unequally distributed. In a plastic material a strain exceeding the limit of elasticity absorbs a relatively large amount of energy, and generally increases the resilience for subsequent strains. Fracture under successive blows, as in the testing of rails by placing them as beams on two supports, and allowing a weight to fall in the middle from a given height, results from the accumulated set which is brought about by the energy of each blow exceeding the resilience.
Internal Stress. — Professor James Thomson 4 pointed out that the effect of any externally applied load depends, to a very material extent, on whether there is or is not initial internal stress, or, in other words, whether the loaded piece is initially in what Professor Karl Pearson has called a state of ease. Internal stress existing without the application of force from without the piece must satisfy the condition that its resultant vanishes over any complete cross-section. It may exist in consequence of set caused by previously applied forces (a case of which instances are given below), or in consequence of previous temperature changes, as in cast iron, which is thrown into a state of internal stress by unequally rapid cooling of the mass. Thus in (say) a spherical casting an outside shell solidifies first, and has become partially contracted by cooling by the time the inside has become solid. The inside then contracts, and its contraction is resisted by the shell, which is thereby compressed in a tangential direction, while the metal in the interior is pulled in the direction of the radius. Allusion has already been made to the fact, pointed out by J. Thomson, that the defect of elasticity under small loads which Hodgkinson discovered in cast iron is probably due to initial stress. In plastic metal a nearly complete state of ease is brought about by annealing; even annealed pieces, however, sometimes show, in the first loading, small defects of elasticity, which are probably due to initial stress, as they disappear when the load is reapplied.
Microscopic Examination. — Of all recent aids to a knowledge of the structure of metals, of their behaviour under stress, and of the nature of plastic strain, perhaps the most important is microscopic examination. The microscopic study of metals was initiated by H. C. Sorby as early as 1864 (see Brit. Assoc. Rep.
3 Ueber das Verhallen der Metalle bei iviederholten Anstrengungen (Berlin, 1875). For interesting notices of the fatigue of metals in railway axles, bridge ties, &c, and results of experiments showing reduced plasticity in fatigued metal, see Sir B. Baker's address to the Mechanical Section of the British Association (1885). In many of the cases where the fatigue of metals occurs in engineering practice the phenomenon is complicated by the occurrence of blows or shocks whose energy is absorbed in producing strains often exceeding the elastic limits, sometimes of a very local character in consequence of the inertia of the strained pieces. Such shocks may cause an accumulation of set which finally leads to rupture in a way that is not to be confused with ordinary fatigue of strength. The effects of the accumulation may be removed by annealing.
4 Camb. and Dub. Math. J own. (Nov. 1848).
for that year) . After a period of neglect, it has been pursued with much energy by a large number of observers, and has yielded results which are of fundamental importance in relation to the strength of materials. For the purpose of microscopic examina- tion it is usually necessary to bring a small piece of the metal to a state of high surface polish, the final stage of which is per- formed by rubbing on a surface of wash-leather charged with a thin paste of rouge and water (see also Metallography). The specimen is then lightly etched in dilute acid or treated with a staining medium, such as liquorice or cocoa, to make the structure visible. When the surface is examined under a lens of suitable power it is seen to be made up of irregular areas with well-defined boundaries. The areas into which the surface is divided differ in apparent texture, and when illuminated obliquely it is found that some of them shine out brightly while others are dark ; by changing the direction of the incident light other areas become bright and those previously bright become dark. These areas are the sections of crystalline grains which constitute the mass of the metal. Each grain is a crystal, the elementary portions of which are all oriented one way, but the orientation changes as we pass from grain to grain. The irregular boundaries are the chance surfaces in which one grain meets another during the progress of its crystalline growth. Etching a polished surface develops a multitude of facets which have the same orientation over any one grain, and therefore give it a uniform texture and a uniform brightness in reflecting light of any particular incidence. The size of the grains depends very much upon the previous thermal treatment to which the metal has been subjected. Sudden cooling from a high temperature tends to make the grains small, slow cooling tends to keep them large; and protracted exposure to moderately high temperature has been observed in some cases to favour the growth of very large grains.
When the metal is strained in any manner beyond its limit of elasticity the grains are found to have altered their shape, becoming lengthened in the direction in which stretch has occurred. Subsequent exposure to a temperature which is high enough to remove the mechanical hardness produced by overstraining is found to bring about a reconstruction of the grains; the original pattern is not reproduced, but the reformed grains show no direction of predominating length. Researches by J. A. Ewing and W. Rosenhain (" The Crystalline Structure of Metals," Phil. Trans., 1900) showed that metals retain their crystalline character even when so severely strained as to exhibit qualities of plasticity which are at first sight inconsistent with the idea of crystalline structure. The manner in which a metal yields when the strain exceeds the elastic limit is by slips which occur in the cleavage or " gliding " planes of the individual crystals. These slips are seen under the microscope as sharply defined lines which appear on the polished surface of each grain as soon as the yield-point in any process of straining has been . _- . t
'"/ ' '//- / 7/ '"/'"//// '/// / A a s -a\n n \\\\\\\\\\\\\\\\\v^
"/, ', 'I, ,, , ",l'l","i,X iV^A\**^\W\W«'
Before straining
.':'//,
â– < V
After straining
Fig. 26.
reached. Seen under normal illumination the lines are dark; seen under oblique illumination they may be made to appear as bright lines on a dark ground. The appearance of each line shows that it is a narrow step produced by the slipping of one part of the crystalline grain over another part. The diagram fig. 26 represents a section between two contiguous surface grains, having cleavage or gliding planes as indicated by the dotted lines, AB being a part of the polished surface. When straining beyond
the elastic limit takes place, as by a pull in the direction of the arrows, yielding occurs by finite amounts of slip at a limited number of places, as at a, b, c, d, e. This exposes short steps, which are portions of cleavage surfaces, and which, when viewed under normally incident light, appear black because they return no light to the microscope. They consequently appear as dark lines or narrow bands extending over the polished surface in directions which depend on the intersection of that surface with the planes of slip. Many such lines appear as the process of straining goes on; they are spaced at more or less regular inter- vals, and in general three systems of them may be observed intersecting one another. With three independent systems of slips it is clear that the grain may take any shape in the process of straining; in many cases four systems of slips are seen. In this way severe deformations occur without affecting the crystal- line character of the structure, although the shape of each crystal undergoes much change. A bar of iron which has been rolled cold from a large to a small section shows, when it is polished and etched, a structure in which each grain has all the characteristics of a crystal, although the grains have been distorted into forms very different from those which are found in bars which are rolled at a red heat or are annealed after rolling. It appears that the process of straining has occurred through movements which preserve the parallelism of all the portions of each individual grain so long as continuity of the parts of the grain is preserved. In many metals, however, a further effect of severe strain is to develop twin crystals, and this implies a rotation of one group of elements through a definite angle with respect to the other elements of the same grain. Excessively severe straining, as, for instance, the squeezing of a block of lead into a thin flat plate, is found to produce a crystalline structure in which the grains have a greatly reduced size; the slips have in that case gone so far as to cause divisions and interpenetrations of the crystals.
Growth of Crystals. — Microscopic examination further shows that after severe straining the structure of a metal is far from stable, a fact which connects itself with what is observed in re- spect to mechanical quality. In some metals at least , and notably in lead, severe straining is followed, even at atmospheric temper- atures, by a protracted crystalline growth which results in the formation of crystals which are relatively very large. A piece of ordinary sheet lead shows the effects of this growth well; it will be found, when etched, to consist in general of crystals enormously larger than any that could have survived the process of manufacture by rolling. A similar growth may readily be traced from day to day or week to week in a piece of lead which is kept under observation after being severely strained. The process of growth is greatly accelerated by raising the temperature. That some process more or less analogous to this goes on in iron and steel during the change which occurs when elastic recovery takes place after overstraining may be conjectured, though there is as yet no direct evidence on the point. The growth of large crystals which is seen to occur in lead at very moderate temperatures has perhaps a more direct relation to the changes which occur in iron or steel at temperatures high enough to produce annealing. The structure of steel as exhibited by the microscope has received much attention, notably at the hands of F. Osmond and J. O. Arnold. Microscopic examination of the low or medium carbon steel used for structural purposes shows it to consist of grains of iron (ferrite) , interspersed with grains which have in general a laminated structure and are composed of alternate bands of two constituents, namely, iron and carbide of iron (Fe» C). To these laminated grains the name of pearlite has been given. In steel such as is used for rails, containing about 0-4 or 0'5% of carbon, the grains of pearlite occupy about as large a volume of the specimen as the grains of unlaminated ferrite; but when the proportion of carbon is increased to about 0-9% the whole is a mass of pearlite having an exceedingly intimate mixture of the two constituents. This appears to be a eutectic alloy, and the same intimately blended structure is characteristic of eutectic alloys generally. Important variations in the visible structure result from quenching, annealing, and
other varieties of thermal treatment, as well as from the presence of other constituents in the steel, but to discuss these would be beyond the scope of the present article.
In experiments by Ewing and J. C. W. Humfrey (" The Fracture of Metals under repeated Alternations of Stress," Phil. Trans., 1903) the microscope was employed to examine the process by which metals break through " fatigue " when sub- jected to repeated reversals of stress. The test-pieces were short rods overhanging from a revolving mandrel and loaded at the end so as to produce a bending moment. A part near the support, where the stresses due to bending were greatest, was polished beforehand for observation in the microscope. After a certain number of reversals the surface was examined, and the examination was repeated at intervals as the process continued. The material was Swedish iron following Hooke's law (in ten- sion) up to 13 tons per sq. in. and having a well-marked yield- point at 14- 1 tons per sq. in. It was found that the material suffered no damage from repeated reversals of a stress of 5 tons per sq. in., but that when the greatest stress was raised to 7 tons per sq. in. incipient signs of fatigue began to be apparent after many reversals, though the piece was still intact after the number of reversals had reached three millions. With a stress of 9 tons per sq. in., or more, repeated reversals brought about fracture. The first sign of fatigue as detected in the microscope was that slip lines began to appear on one or more of the crystals in the region of greatest stress: as the process went on these became more distinct and tended to broaden, and at length some of them developed into cracks which were identified as such because they did not disappear when the surface was repolished. Once a crack had formed it quickly spread, and finally the piece broke with a sharp fracture, showing practically no plastic change of form before rupture.
It may be concluded that under repeated alternations of stress fatigue, leading to fracture, is liable to occur if, and only if, the stress is such as to produce slips in some of the crystals: in other words if, and only if, the limit of elasticity is locally exceeded; but the limit for particular crystals may be consider- ably lower than what is usually taken as the limit for the metal as a whole. The resistance to slip in any one crystal depends on three things: (1) the inherent strength of its own substance,
(2) the amount of support it receives from its neighbours, and
(3) the orientation of the crystal with respect to the surfaces of maximum shearing stress. It may be inferred that even in the most homogeneous metal some crystals have a liability to develop slips more readily than others, and that it is with them we are concerned in dealing with the safe limits of alternating stress. The same considerations have a bearing on certain effects of heat treatment. It is well known that in steel which has been over- heated (by unnecessarily prolonged exposure to a high tempera- ture) a somewhat gross crystalline structure is developed, showing large ferrite areas not broken up by intermixture with pearlite. The resistance to slip in the large ferrite crystals is comparatively small, and hence the overheated metal has a low elastic limit and shows but little power of resisting alternating stress. By suitable heat treatment, on the other hand, it is possible to bring the metal into a state in which the crystals are small and the ferrite and pearlite are so intimately blended that there is much mutual support: the elastic limit is high and the metal is well adapted to endure stresses which would otherwise cause fatigue.
It may be asked, How is the crystal constituted to admit of elastic and plastic strain? How can slip take place without destroying the adhesion between the faces until that is destroyed by many back and forth rubbings at the surface of slip? _ J. A. Ewing has endeavoured to picture a molecular constitution in which the molecules are assumed to possess polar quality along three axes, and to be free to turn except in so far as they are constrained by the mutual forces between the pole of each molecule and those of its neighbours. This theory, which was developed by its author in his presidential address to the engineering section of the British Association in 1906, accords
well with many of the obscure phenomena of elastic and plastic strain, with what is known of fatigue, and with the loss of elasticity after overstrain and its subsequent recovery.
Influence of Foreign Matter. — It is a well-known characteristic of metals that small quantities of foreign matter may produce an altogether disproportionately large influence on their mechanical and other properties. The effect of small quantities of carbon in iron, of nickel in iron, of aluminium in copper, are important practical instances where a highly beneficial effect, in respect of strength and ductility, is produced. The wide and varied range of qualities possessed in steel from pure iron at one end to tool steel at the other is due to quantities of carbon which lie, for the most part, under 1%. The addition of about 3 or 4% of nickel to mild steel has given ah important new structural material possessing increased strength and a high elastic limit, and retain- ing ample capacity for plastic strain. The presence of manganese in small quantities is known to be an essential condition of strength in mild steel. The addition of from 15 to 3% of chromium enables steel to acquire, under suitable heat treat- ment, the excessive hardness desirable in armour plate and armour-piercing shell. Small quantities of vanadium added to steel improve it sufficiently to be advantageous in certain applications where saving of weight is important, notably in steel for motor carriage engines, notwithstanding the extra cost.
Data as to Strength of Steel. — A few figures may be quoted as to the strength and plasticity of steel, some of which are taken from the reports of the Engineering Standards Committee (1906-1907) specifying tests to which the material should conform.
Ordinary plates and bars of mild steel for structural purposes (bridges, ships, &c), containing as a rule not more than 2% of carbon, have a tensile strength of 28 to 32 tons per sq. in., and an 8-in. specimen with a cross-section of from | to l| sq. in. should stretch at least 20%. They should stand being bent cold through 180 on a radius i| times the thickness of the specimen, the test- piece for bending being not less than l| in. wide. Rivet bars, of somewhat softer steel, have a tensile strength of 26 to 30 tons, with 25% of elongation on 8 in. Steel rails, containing 0-4 or 0-5% of carbon, have a tensile strength of 38 to 48 tons and stretch 15% on a 2-in. length, the area of section of the test-piece being i sq. in. Steel for axles has a tensile strength of 35 to 40 tons and stretches 25 to 30% on the 2-in. length. The elastic limit should be at least 50 % of the breaking load. Steel for tires may in some cases have a tensile strength as high as 60 tons with about 8 to 10 % extension in 2 in. Steel castings commonly range in tensile strength from 26 to 35 tons, with about 15% extension in 2 in. The strength of steel wire is considerably higher than that of bar or plates: 70 to 100 tons per sq. in. is not unusual, and in steel pianoforte wire it may be as high as 150 tons per sq. in.
Steel for guns, containing generally 0-3 to 0-4 % of carbon, has a tensile strength of 33 to 44 tons per sq. in., with at least 17 % extension in 2 in., the test-piece having the usual cross-section of i sq. in. Nickel steel for guns, containing 0-4% of carbon and 4% nickel, has a strength of 45 to 55 tons and an extension of at least 16% in 2 in. Much the same figures apply to nickel-chrome steel for the same purpose, with I % of chromium, 4 % of nickel and 0-3 % of carbon. Flat specimens of gun steel f in. wide and 0375 in. thick stand bending cold through 180 on a radius of ii in. All these tests of gun steel are made after forging and after the normal heat treatment, which consists first of oil-hardening by plunging the steel at a temperature not lower than 1500 F. into a bath of oil, and then tempering, by reheating to a temperature generally about 900 to 1000° F. This heat treatment brings the metal into a condition in which the granular structure is minute and the constituents are very thoroughly intermixed, with the result of giving a high elastic limit. Tests made on gun steel containing about 0-35 % of carbon show that the yield-point occurred at 18 tons per sq. in. before the heat treatment, and at 25 tons after it, the extension remaining practically unchanged at 30 % in 2 in. In nickel steel the yield-point is initially higher, but in it too .the heat treatment effects a considerable improvement in this respect without reducing the extension.
It is remarkable that though the strength of wrought iron and steel may range from 20 tons per sq. in., or even less, up to 150 tons, the moduli which measure its elastic quality are nearly the same in all grades. Young's modulus E ranges from about 12,500 to 14,000 tons per sq. in., and the modulus of rigidity C from 5000 to 5700 tons per sq. in.
Graphic Representation of Distributed Stress. — Space admits of no more than a short and elementary account of some of the more simple straining actions that occur in machines and engineering structures. The stress which acts on any plane surface AB (fig. 27), such as an imaginary cross-section of a strained piece, may be represented

Fig. 27.
by a figure formed by setting up ordinates Aa, Bb, &c., from points on the surface, the length of these being made proportional to the intensity of stress at each point. This gives an ideal solid, which may be called the stress figure, whose height shows the distribution of stress over the surface which forms its base. A line drawn from g, the centre of gravity of the stress figure, parallel to the ordinates Aa, &c., determines the point c, which is called the centre of stress, and is the point through which the resultant of the distributed stress acts. In the case of a uniformly distributed stress, ab is a plane surface parallel to AB, and c is the centre of gravity of the surface AB. When a bar is subjected to simple pull applied axially—that is to say, so that the resultant stress passes through the centre of gravity of every cross-section—the stress may be taken as (sensibly) uniformly distributed over any section not near a place where the form of the cross-section changes, provided the bar is homogeneous in respect of elastic quality and is initially in a state of ease and the stress is within the limits of elasticity.
Uniformly Varying Stress.—Uniformly varying stress is illustrated by fig. 28. It occurs (in each case for stresses within the elastic limit) in a bent

Fig. 28.
beam, in a tie subjected to non-axial pull, and in a long strut or column where buckling makes the stress become non-axial. In uniformly varying stress B the intensity p at any point P is proportional to the distance of P from a line MN, called the neutral axis, which lies in the plane of the stressed surface and at right angles to the direction AB, which is assumed to be that in which the intensity of stress varies most rapidly. There is no variation of stress along lines parallel to MN. If MN passes

Fig. 29.
through C, the centre of gravity of the surface, as in fig. 29, it may easily be shown that the total pull stress on one side of the neutral axis is equal to the total push stress on the other side, whatever be the form of the surface AB. The resultant of the whole stress on AB is in that case a couple, whose moment may be found as follows. Let dS be an indefinitely small part of the surface at a distance x from the neutral axis through C, and let p be the intensity of stress on dS. The moment of the stress on dS is xpdS. But p = p1x/x1 = p2x/x2 (see fig. 29). The whole moment of the stress on AB is ∫xpdS = (p1x1)∫x2dS = p1I/x1 or p2I/x2, where I is the moment of inertia of the surface AB about the neutral axis through C.
A stress such as that shown in fig. 28 or fig. 30 may be regarded as a uniformly distributed stress of intensity p0 (which is the intensity at the centre of gravity of the surface C) and a stress of the kind shown in fig. 29. The resultant is p0S, where S is the whole area of the surface, and it acts at a distance CD from C such that the moment p0S.CD = (p2 - p0)I/x1 = (p1+p0)I/x2. Hence p2 = p0(1+x2S.CD/I), and p1=p0(1-x1S.CD/I).

Fig. 30.
Simple bending occurs when a beam is in equilibrium under equal and opposite couples in the plane of the beam. Thus if a beam (fig.

Fig. 31.
31), supported at its ends, be loaded at two points so that W1l1 = W2l2, the portion of the beam lying between W1 and W2 is subjected

Fig. 32.
to a simple bending stress. On any section AB the only stress consists of pull and push, and has for its resultant a couple whose moment M = W1l1 = W2l2. This is called the bending moment at the section. If the stress be within the elastic limits it will be distributed as in fig. 32, with the neutral axis at the centre of gravity of the section. The greatest intensities of push and of pull, at the top and bottom edge respectively, are p1 = My1/I and p2 = My2/I, and the intensity at any point at a distance y above or below C is p = My/I.
Bending beyond Elastic Limits.—Let the bending moment now be increased; non-elastic strain will begin as soon as either p1 or p2 exceeds the corresponding limit of elasticity, and the distribution of stress will be changed in consequence of the fact that the outer layers of the beam are taking set while the inner layers are still following Hooke's law. As a simple instance we may, consider the case of a material strictly elastic up to a certain stress, and then so plastic that a relatively very large amount of strain is produced without further change of stress, a case not very far from being realized by soft wrought iron and mild steel. The diagram of stress will now take the form sketched in fig. 33. If the elastic limit is (say) less for compression than for tension, the diagram will be as in fig. 34, with the neutral axis shifted towards the tension side. When the beam is relieved from external load it will be left in a state of internal stress, represented, for the case of fig. 33. by the dotted lines in that figure.
![]() |
|
| Fig. 33. | Fig. 34. |
In consequence of the action which has been illustrated by these figures, the moment required to break the beam cannot be calculated by taking for f the value of the ultimate tensile or compressive strength of the material in the formula M =fI/y, because the distribution of stress which is assumed to exist in finding this relation ceases as soon as overstraining begins.

Fig. 35.
Strain produced by Bending.—The strain produced by bending stress in a bar or beam is, as regards any imaginary filament taken along the length of the piece, sensibly the same as if that filament were directly pulled or compressed by itself. The resulting deformation of the piece consists, in the first place and chiefly, of curvature in the direction of the length, due to the longitudinal extension and compression of the filaments, and, in the second place, of transverse flexure, due to the lateral compression and extension which go along with the longitudinal extension and compression. Let l1 (fig. 35) be a short portion of the length of a beam strained by a bending moment M (within the limits of elasticity). The beam, which we assume to be originally straight, bends in the direction of its length to a curve of radius R, such that R/l=y1/dl, dl being the change of l by extension or compression at a distance y1 from the neutral axis. But dl = lp1/E, and p1 = My1/I. Hence R = EI/M. The transverse flexure is not, in general, of practical importance. The centre of curvature for it is on the opposite side from the centre for longitudinal flexure, and the radius is Rσ, where σ is the ratio of longitudinal extension to lateral contraction under simple pull.
Ordinary Bending of Beams.—Bending combined with shearing is the mode of stress to which beams are ordinarily subject, the loads, or externally applied forces, being applied at right angles to the direction of the length. Let HK (fig. 36) be any cross-section of a beam in equilibrium. The portion B of the beam, which lies on one side of HK, is in equilibrium under the joint action of the external

Fig. 36.
forces F1, F2, F3, &c., and the forces which the other portion A exerts en B in consequence of the state of stress at HK. The forces F1, F2, F3 , &c, may be referred to HK by introducing couples whose moments are Fjsci, F 2 xs, F»*i, &c. Hence the stress at HK must equilibrate, first, a couple whose moment is ΣFx, and, second, a force whose value is ΣF, which tends to shear B from A. In these summations regard must of course be had to the sign of each force; in the diagram the sign of F« is opposite to the sign of Fi, Fj and F». Thus the stress at HK may be regarded as that due to a bending moment M equal to the sum of the moments about the section of the externally applied forces on one side of the section (ΣFx), and a shearing force equal to the sum of the forces about one side of the section (ΣF). It is a matter of convenience only whether the forces on B or on A be taken in reckoning the bending moment and the shearing force. The bending moment causes a uniformly varying normal stress on HK of the kind already discussed; the shearing force causes a shearing stress in the plane of the section, the distribution of which will be investigated later. This shearing stress in the plane of the section is necessarily accompanied by an equal intensity of shearing stress in horizontal planes parallel to the length of the beam.
The stress due to the bending moment, consisting of longitudinal push in filaments above the neutral axis and longitudinal rjull in filaments below the neutral axis, is the thing chiefly to be considered in practical problems relating to the strength of beams. The general formula pi = M Vi/I becomes, for a beam of rectangular section of breadth b and depth h, pi = 6M/bh 2 =6M/Sh, S being the area of section. For a beam of circular section it becomes pi = 32M/irA 3 = 8M/SA. The material of a beam is disposed to the greatest advantage as regards resistance to bending when the form is that of a pair of flanges or booms at top and bottom, held apart by a thin but stiff web or by cross-bracing, as in J beams and braced trusses. In such cases sensibly the whole bending moment is taken by the flanges; the intensity of stress over the section of each flange is very nearly uniform, and the areas of section of the tension and compression flanges (Si and Sj respectively) should be proportioned to the value of the ultimate strengths in tension and compression ft and fc , so that S1ft=S2fc - Thus for cast-iron beams Hodgkinson recommended that the tension flange should have six times the sectional area of the compression flange. The intensity of longitudinal stress on the two flanges of an I beam is approximately M/S1h and M/S2h, h being the depth from centre to centre of the flanges.
Diagrams of Bending Moment and Shearing Force.—In the examination of loaded beams it is convenient to represent graphically the bending moment and the shearing force at various sections by setting up ordinates to represent the values of these quantities, and so drawing curves of bending moment and shearing force.
The area enclosed by the curve of shearing force, up to any ordinate, is equal to the bending moment at the same section. For let
- be increased to x+bx, the bending moment changes to 2F(*-r-8x),
or 4M=4*ZF. Hence the shearing force at any section is equal to the rate of change of the bending moment there per unit of the length, and the bending moment is the integral of the shearing force with respect to the length. In the case of a continuous distribution of load, it should be observed that, when x is increased to x+Sx, the moment changes by an additional amount which depends on (δx)2 and may therefore be neglected.
Distribution of Shearing Stress.—To examine the distribution of shearing stress over any vertical section of a beam, we may consider two closely adjacent sections AB and DE (fig. 37), on which the bending moments are M and M +δM respectively. The resultant horizontal fores due to the bending stresses on a piece ADHG enclosed be- tween the adjacent sections, and bounded by the horizontal plane GH at a distance y0 from the neutral axis, is shown by the shaded figure. This must be equilibrated by the horizontal shearing stress on GH, which is the only other horizontal force acting on the piece. At any height y the intensity of resultant horizontal stress due to the difference of the bending moments is ySm/l, and the whole horizontal force on

Fig. 37.
GH is δM
â– fyzdy.
z being the breadth. If q be the intensity of
horizontal shearing stress on the section GH, whose breadth is zo, we
have
« aM Cyi , qzo&x=-j- I *yzdy.
But δM/δx is the whole shearing force Q on the section of the beam. Hence
and this is also the intensity of vertical shearing stress at the distance y0 from the neutral axis. This expression may conveniently be written q = QAy/z0I, where A is the area of the surface AG and y the distance of its centre of gravity from the neutral axis. The intensity q is a maximum at the neutral axis and diminishes to zero at the top and bottom of the beam. In a beam of rectangular section the value of the shearing stress at the neutral axis is a max. =3/2Q/bh. In other words, the maximum intensity of shearing stress on any section is 3/2 of the mean intensity. Similarly, in a beam of circular section the maximum is 4/3 of the mean. This result is of some importance in application to the pins of pin-joints, which may be treated as very short beams liable to give way by shearing.
In the case of an I beam with wide flanges and a thin web, the above expression shows that in any vertical section q is nearly constant in the web and insignificantly small in the flanges. Practically all the shearing stress is borne by the web, and its intensity is very nearly equal to Q divided by the area of section of the web.
Principal Stresses in a Beam.—The foregoing analysis of the stresses in a beam, which resolves them into longitudinal pull and push, due to bending moment, along with shear in longitudinal and transverse planes, is generally sufficient in the treatment of practical cases. If, however, it is desired to find the direction and magnitude of the principal stresses at any point we may proceed thus:—
Let AC (fig. 38) be an indefinitely small portion of the horizontal section of a beam, on which there is only shearing stress, and let AB be an indefinitely small portion of the vertical section at the same place, on which there is shearing and normal stress. Let q be the intensity of the shearing stress, which is the same on AB and AC, and let p be the intensity of normal stress on AB : it is required to find a third plane BC, such that the stress on it is wholly normal, and to find r, the intensity of that stress. Let θ be the angle (to be determined) which BC makes with AB. Then the equilibrium of the triangular wedge ABC requires that
rBC cos0 = £.AB+g.AC, and rBC sin0 = g.AB;
or (r—p) cos 0=q sin 6, and r sin = g cos 0.

Fig. 38.
Hence,
q2=r(r−p),
P), tan 28 = 2q/p,
r = i^,= t V(g 2 +iP 2 ). The positive value of r is the greater principal stress, and is of the same sign as p. The negative value is the lesser principal stress which occurs on a plane at right angles to the former. The equation for 6 gives two values corresponding to the two planes of principal stress. The greatest intensity of shearing stress occurs on the pair of planes inclined at 45 to the planes of principal stress, and its value is V(g 2 + y> 2 ).
Deflexion of Beams.—The deflexion of beams is due partly to the distortion caused by shearing, but chiefly to the simple bending which occurs at each vertical section. As regards the second, which in most cases is the only important cause of deflexion, we have seen that the radius of curvature R at any section, due to a bending moment M, is EI/M, which may also be written Eyi/pi. Thus beams of uniform strength and depth (and, as a particular case, beams of uniform section subjected to a uniform bending moment) bend into a circular arc. In other cases the form of the bent beam, and the resulting slope and deflexion, may be determined by integrating the curvature throughout the span, or by a graphic process, which consists in drawing a Curve to represent the beam with its curvature greatly exaggerated, after the radius of curvature has been determined for a sufficient number of sections. In all practical cases the curvature is so small that the arc and chord are of sensibly the same length. Calling i the angle of slope, and u the dip or deflexion from the chord, the equation to the curve into which an originally straight beam bends may be written
(Pu <M EI - dx 2 "dx = M'
Integrating this for a beam of uniform section, of span L, supported at its ends and loaded with a weight W at the centre, we have, for the greatest slope and greatest deflexion, respectively, t'i=WL 2 /i6EI, Mi=WL'/48EI. If the load W is uniformly distributed over L, i1 = WL s /24EI and « t = 5WL»/384EI.
The additional slope which shearing stress produces in any originally horizontal layer is g/C, where g is, as before, the intensity of shearing stress and C is the modulus of rigidity. In a round or rectangular bar the additional deflexion due to shearing is scarcely appreciable. In an I beam, with a web only thick enough to resist shear, it may be a somewhat considerable proportion of the whole.
Torsion of Solid and Hollow Shafts.—Torsion occurs in a bar to which equal and opposite couples are applied, the axis of the bar being the axis of the couples, and gives rise to shearing stress » planes- perpendicular to the axis. Let AB (fig. 39) be a uniform circular shaft held fast at the end A, and twisted by a couple applied in the plane BB. Assuming the strain to be within the limit* of elasticity, a radius CD turns round to CD', and a line AD drawn at any distance r froin the axis, and originally straight, changes into the helix AD'. Let be the angle which this helix makes with lines parallel to the axis, or in other words the angle of shear at the distance

Fig. 39.
r from the axis, and let i be the angle of twist DCD'. Taking two sections at a distance dx from one another, we have^ the arc Odx = rdi. Hence q, the intensity of shearing stress in a plane of cross-section, varies as r, since q = C0 = Cr di/dx. The resultant moment of the whole shearing stress on each plane of cross-section is equal to the twisting moment M. Thus
J2xr 2 gdr = M. Calling ri the outside radius (where the shearing stress is greatest) and 91 its intensity there, we have g = rgi/n, and hence, for a solid shaft, Si = 2M/nTi s . For a hollow shaft with a central hole of radius U the same reasoning applies : the limits of integration are now n and ri, and
2Mn 91 -*<n« -ftf)- The lines of principal stress are obviously helices inclined at 45 to the axis.
If the shaft has any other form of section than a solid or sym- metrical hollow circle, an originally straight radial line becomes warped when the shaft is twisted, and the shearing stress is no longer proportional to the distance from the axis. The twisting of shafts of square,- triangular and other sections has been investigated by Saint- Venant. In a square shaft (side = Js) the stress is greatest at the middle of each side, and its intensity there is g, = M/o-28ifc 3 .
For round sections the angle of twist per unit of length is
in hollow shafts.
Oi 2M . ... . 2M
- = cV, = 7U;* m solld and «C<r,«-fi«)
In what has been said above it is assumed that the stress is within the limit of elasticity. When the twisting couple is increased so that this limit is passed, plastic yielding begins in the outermost layer, and a larger proportion of the whole stress falls to be borne by layers nearer the centre. The case is similar to that of a beam bent beyond the elastic limit, described above. If we sup- pose the process of twisting to be continued, and that after passing the limit of elasticity the material is capable of much distortion without further increase of shearing stress, the distribution of stress on any cross section will finally have an approximately uniform value q', and the moment of torsion will be
f r i l 2*r>q'dr = WW-ri i ).
In the case of a solid shaft this gives for M a value greater than it has when the stress in the outermost layer only reaches the intensity g', in the ratio of 4 to 3. It is obvious from this consideration that the ultimate strength of a shaft to resist torsion is no more deducible from a knowledge of the ultimate shearing strength of the material than the ultimate strength of a beam to resist bending is deducible from a knowledge of the tensile and crushing strength. It should be noticed also that as regards ultimate strength a solid shaft has an important advantage over a hollow shaft of the same elastic strength, or a hollow shaft so proportioned that the greatest working intensity of stress is the same as in the solid shaft.
Twisting Combined with Bending.—This important practical case is realized in a crank-shaft (fig. 40). Let a force P be applied at the crank-pin A at right angles to the plane of the crank. At any section of the shaft C (between the crank and the bearing) there is a twisting moment M1 = P.AB and a bending moment M2 = P.BC. There is also a direct shearing force P, but this does not require to be taken into account in calculating the stress at points at the top or bottom of the circumference (where the intensity is greatest), since the direct shearing stress is distributed

Fig. 40.
so that its intensity is zero at these points. The stress there is consequently made up of longitudinal normal stress (due to bending), pt =4M 2 /irri 3 , and shearing stress (due to torsion), gi = 2Mi/xn 3 . Combining these, as in § 64, we find for the prin- cipal stresses r = 2JM 8 ±V(Mi 2 -r-M s 2 )}/irri 3 ,orr = 2P(BC±AC)/irn 3 . The greatest shearing stress is2P. ACjirri 3 , and the axes of principal stress are inclined so that tan 20 =Mi/M 2 = AB/BC. The axis of greater principal stress bisects the angle ACB.
Long Columns and Struts : Compression and Bending. — A long strut or pillar, compressed by forces P applied at the ends in the direction of the axis, becomes unstable as regards flexure when P exceeds a certain value. Under no circumstances can this value of P be exceeded in loading a strut. But it may happen that the intensity of stress produced by smaller loads exceeds the safe com- pressive strength of the material, in which case a lower limit of load must be chosen. If the applied load is not strictly axial, if the strut is not initially straight, if it is subject to any deflexion by transverse forces, or if the modulus of elasticity is not uniform over each cross- section — then loads smaller than the limit which causes instability will produce a certain deflexion which increases with increase of load, and will give rise to a uniformly varying stress of the kind illustrated in figs. 28 and 30. We shall first consider the ideal case in which the forces at the ends are strictly axial, the strut perfectly straight and free from transverse loads and perfectly symmetrical as to elasticity. Two conditions have to be distinguished — that in which the ends are held by pins or sockets which leave them free to rock, and that in which the ends are held fixed. Suppose in the first place that the ends are free to rock. The value of the load which causes instability will be found by considering what force P applied to each end would suffice to hold an originally straight strut in a bent state, supposing it to have received a small amount of elastic curvature in any way. It is shown by Euler that the force required to maintain the strut in its curved state is P=ir s EI/L 2 , and is independent of the deflexion. This means that with this particular value of P (which for brevity we shall write Pi) the strut will be in neutral equilibrium when bent; with a value of P less than Pi it will be stable; with a greater value it will be unstable. Hence a load exceeding Pi will certainly cause rupture. The value 7r 2 EI/L 2 applies to struts with ends free to rock. If the ends are fixed the effective length for bending is reduced by one half, so that Pi then is 4«^EI/L 2 . When one end is fixed and the other is free to rock Pi has an intermediate value, probably about 9VEI/4L 2 .
The above theory assigns Pi as a limit to. the strength of a strut on account of flexural instability; but a stress less than Pi may cause direct Crushing. Let S be the area of section, and f c the strength of the material to resist crushing. Thus a strut which conforms to the ideal conditions specified above will fail by simple crushing if / e S is less than P^ but by bending if f c S is greater than Pi. Hence with a given material and form of section the ideal strut will fail by direct crushing if the length is less than a certain multiple of the least breadth (easily calculated from the expression for Pi) , and in that case its strength will be independent of the length ; when the length is greater than this the strut will yield by bending, and its strength diminishes rapidly as the length is increased.
But the conditions which the above theory assumes are never realized in practice. The load is never strictly axial, nor the strut absolutely straight to begin with* nor the elasticity uniform. The result is that the strength is in all cases less than either / C S or Pi, and the results of experiments are best expressed by means of a formula, which is in part empirical, giving continuous values for struts of any length. For very short struts we have seen that the ideal breaking load is fjS, and for Very long struts it is ir 2 EI/L 2 . If we write P=/ e S/(i+/cSL 2 /ir 2 EI), we have a formula which gives correct values in these two extreme cases, and intermediate values for struts of medium length. By writing this P=/S/(i-fcSL 2 /I), and treating /and c as empirical constants, we have a practical formula which fits in well with experimental results and is applicable to struts of any length when the ends are free to rock. For fixed ends \c is to be taken in place of c.

Fig. 41.
Bursting Strength of Circular Cylinders and Spheres.— Space remains for the consideration of only one other mode of stress, of great importance from its occurrence in boilers, pipes, hydraulic and steam cylinders and guns. The material of a hollow cylinder, subjected to pressure from within, is thrown into a stress of circumferential pull. When the thickness t is small compared with the radius R, we may treat this stress as uniformly distributed over the thickness. Let p be the intensity of fluid pressure within a hollow circular cylinder, and let f be the intensity of circumferential stress. Consider the forces on a small rectangular plate (fig. 41), with its sides parallel and perpendicular to the direction of the axis, of length l and width R50, 89 being the small angle it.subtends at the axis. Whatever forces act on this plate in the direction of the axis are equal and opposite. The remaining forces, which are in equilibrium, are P, the total pressure from within, and a force T at each side due to the circumferential stress. P = plR&6 and T=flt. But by the triangle of forces (fig. 42) P = T80. Hence f=pR/t.
The ends of the cylinder may or may not be held together by longitudinal stress in the cylinder sides; if they are, then, whatever

Fig. 42.
be the form of the ends, a transverse section, the area of whch is 2irRt, has to bear a total force pirR?. Hence, if /' be the intensity of longitudinal stress, f =pR/2t = if.
A thin hollow sphere under internal pressure has equal circumferential pull in all directions. To find its value consider the plate of fig. 42. There are now four equal forces T, on each of the four sides, to equilibrate the radial force P. Hence P = 2TS# and f=pR/2t.
Thick Cylinder.—When the thickness is not small compared with the radius, the radial pressure is transmitted from layer to layer with reduced intensity, and the circumferential pull diminishes towards the outside. In the case of a thick cylinder with free ends[20] we have to deal at any point with two principal stresses, radial and circum- ferential, which may be denoted by p and p' respectively. Sup- posing (as we may properly do in dealing with a cylinder which is not very short) that a transverse section originally plane remains plane, the longitudinal strain is uniform. Since there is no longi- tudinal stress this strain is due entirely to the lateral action of the stresses p and p', and its amount is (p+p')/<rE. Hence at all points p-\-p' = constant.[21] Further, by considering the equilibrium of any thin layer, as we have already considered that of a thin
cylinder, we have j~(pr) =p'.
These two equations give by integration, p = C-\-C'/r 2 , and p'^C-C'lrK
If ri be the external and ri the internal radius, and po the pressure on the inner surface, the conditions that p = po when r = r 2 and p = o when r = n give C = — p<r?/(ri 2 — r 2 2 ) and C = — O1 2 . Hence the circumferential stress at any radius r is p' — — pcfi ! (i+ri*/r 2 )!(r i 2 — ri ! ). At the inside, where this is greatest, its value is — pc(ri'+r 2 2 )/(ri 2 — r 2 2 ) — a quantity always greater than po, however thick the cylinder is.
In the construction of guns various devices have been used to equalize the circumferential tension. With cast guns a chilled core has been employed to make the inner layers solidify and cool first, so that they are afterwards compressed by the later contrac- tion of the outer layers. In guns built up of wrought-iron or steel hoops the hoops are bored small by a regulated amount and are shrunk on over the barrel or over the inner hoops. In J. A. Long- ridge's system, largely used for heavy ordnance, the jgun is made by winding steel wire or ribbon, with suitable initial tension, on a central steel tube.
The circumferential stress at any point of a thick hollow sphere exposed to internal fluid pressure is found, by a process like that of the last paragraph, to be — pon 3 (l+ri 3 /2r 3 )/(n* — r 2 3 ), which gives, for the greatest tension, the value
-Pt(r 1 >+2r,»)l2(.r 1 >-r t *). (J. A. E.)
- ↑ Maschine zum Prüfen d. Festigkeit d. Materialen, &c. (Munich, 1882).
- ↑ See Report of the U.S. Board appointed to test Iron, Steel and other Metals (2 vols., 1881). For full details of the Emery machine, see Report of the U.S. Chief of Ordnance (1883), app. 24.
- ↑ Experiments on the Mechanical Properties of Steel by a Committee of Civil Engineers (London, 1868 and 1870).
- ↑ Report of the Commissioners on the Application of Iron to Railway Structures (1849).
- ↑ For descriptions of these and other types of autographic recorder, see a paper by Professor W. C. Unwin, “On the Employment of Autographic Records in Testing Materials,” Journ. Soc. Arts (Feb., 1886) ; also Sir A. B. W. Kennedy's paper, “On the Use and Equipment of Engineering Laboratories,” Proc. Inst. Civ. Eng. (1886), which contains much valuable information on the whole subject of testing and testing machines. On the general subject of tests see also Adolf Martens's Handbook of Testing Materials, trans, by G. C. Henning.
- ↑ Proc. Inst. Mech. Eng. (1886). An interesting feature of this apparatus is a device for preventing error in the diagram through motion of the test-piece as a whole.
- ↑ Proc. Inst. Mech. Eng. (1886); also Proc. Inst. Civ. Eng. vol. Uxxviii. pi. 1 (1886).
- ↑ Thurston's Materials of Engineering, pt. ii. For accounts of work done with this machine, see Trans. Amer. Soc. Civ. Eng. (from 1876); also. Report of the American Board, cited above.
- ↑ J. A. Ewing, Proc. Roy. Soc. (June, 1880).
- ↑ See experiments by Johann Bauschinger, Mitt. aus dem mech-tech. Lab. in München (1886), and by the writer, Proc. Roy. Soc., vol. xlviii. (1895). A summary of Bauschinger's conclusions will be found in Martens's book, cited above, and in Uawin's Testing of Materials.
- ↑ Muir, "On the Recovery of Iron from Overstrain," Phil. Trans. A, vol. 193 (1900).
- ↑ See Kirkaldy's Experiments on Fagersta Steel (London, 1873).
- ↑ Mém. de la soc. des ing. civ. (1880); see also a paper by W. Hackney, "On the Adoption of Standard Forms of Test-Pieces," Proc. Inst. Civ. Eng. (1884).
- ↑ The greater strength of nicked or grooved specimens seems to have been first remarked by Kirkaldy (Experiments on Wrought Iron and Steel, p. 74, also Experiments on Fagersta Steel, p. 27). See also a paper by E. Richards, on tests of mild steel, Journ. Iron and Steel Inst. (1882).
- ↑ See Kennedy's "Reports on Rivetted Joints," Proc. Inst. Mech. Eng. (1881-1885). In the case of mild-steel plates a drilled strip may have as much as 12% more tensile strength per square inch than an undrilled strip. With punched holes, on the other hand, the remaining metal is much weakened, for the reason referred to in the text.
- ↑ For examples, see Fairbairn’s experiments on steel, Brit. Assoc. Rep. (1867).
- ↑ Report of the Royal Commissioners on the Application of Iron to Railway Structures (1849); see also Brit. Assoc. Rep. (1837).
- ↑ Dineler’s Polytech. Journ. (i860), 155, p. 18.
- ↑ Bulletin de la société d’encouragement (1896 and 1897).
- ↑ This condition is realized in practice when the fluid causing internal pressure is held in by a piston, and the stress between this piston and the other end of the cylinder is taken by some other part of the structure than the cylinder sides.
- ↑ The solution which follows in the text is applicable even when there is longitudinal stress, provided that the longitudinal stress is uniformly distributed over each transverse section. If we call this stress p", the longitudinal strain is p"IE + (p+p')/oE. Since the whole strain is uniform, and p" is uniform, the sum of p and p' is constant at all points, as in the case where the ends are free.







