1911 Encyclopædia Britannica/Oil Engine

OIL ENGINE, Oil engines, like gas engines (q.v.), are internal combustion motors in which motive power is produced by the explosion or expansion of a mixture of inflammable material and air. The inflammable fluid used, however, consists of vapour produced from oil instead of permanent gas. The thermodynamic operations are the same as in gas engines, and the structural and mechanical differences are due to the devices required to vaporize the oil and supply the measured proportion of vapour which is to mix with the air in the cylinders.

Light and heavy oils are used; light oils may be defined as those which are readily volatile at ordinary atmospheric temperatures, while heavy oils are those which require special heating or spraying processes in order to produce an inflammable vapour capable of forming explosive mixture to be supplied to the cylinders. Of the light oils the most important is known as petrol. It is not a definite chemical compound. It is a mixture of various hydrocarbons of the paraffin and olefine series produced from the distillation of petroleum and paraffin oils. It consists, in fact, of the lighter fractions which distil over first in the process of purifying petroleums or paraffins.

The specific gravity of the standard petrols of commerce generally ranges between 0·700 to about 0·740; and the heat value on complete combustion per 1/10 gallon burned varies from 14,240 to 14,850 British thermal units. The thermal value per gallon thus increases with the density, but the volatility diminishes. Thus, samples of petrol examined by Mr Blount of from ·700 to ·739 specific gravity showed that 98% of the lighter sample distilled over below 120° C. while only 88% of the heavier came over within the same temperature range. The heavier petrol is not so easily converted into vapour. The great modern development of the motor car gives the light oil engine a most important place as one of the leading sources of motive power in the world. The total petrol power now applied to cars on land and to vessels on sea amounts to at least two million H.P. The petrol engine has also enabled aeroplanes to be used in practice.

The earliest proposal to use oil as a means to produce motive power was made by an English inventor—Street—in 1794, but the first practical petroleum engine was that of Julius Hock of Vienna, produced in 1870. This engine, like Lenoir’s gas engine, operated without compression. The piston took in a charge of air and light petroleum spray which was ignited by a flame jet and produced a low-pressure explosion. Like all non-compression engines, Hock’s machine was very cumbrous and gave little power. In 1873, Brayton, an English engineer, who had settled in America, produced a light oil engine working on the constant pressure system without explosion. This appears to have been the earliest compression engine to use oil fuel instead of gas.

Shortly after the introduction of the “Otto” gas engine in 1876, a motor of this type was operated by an inflammable vapour produced by passing air on its way to the cylinder through the light oil then known as gasolene. A further air supply was drawn into the cylinder to form the required explosive mixture, which was subsequently compressed and ignited in the usual way. The Spiel petroleum engine was the first Otto cycle motor introduced into practice which dispensed with an independent vaporizing apparatus. Light hydrocarbon of a specific gravity of not greater than 0·725 was injected directly into the cylinder on the suction stroke by means of a pump. In entering it formed spray mixed with the air, was vaporized, and on compression an explosion was obtained just as in the gas engine.

Until the year 1883 the different gas and oil engines constructed were of a heavy type rotating at about 150 to 250 revolutions per minute. In that year Daimler conceived the idea of constructing very small engines with light moving parts, in order to enable them to be rotated at such high speeds as 800 and 1000 revolutions per minute. At that time engineers did not consider it practicable to run engines at such speeds; it was supposed that low speed was necessary to durability and smooth running. Daimler showed this idea to be wrong by producing his first small engine in 1883. In 1886 he made his first experiment with a motor bicycle, and on the 4th of March 1887 he ran for the first time a motor car propelled by a petrol engine. Daimler deserves great credit for realizing the possibility of producing durable and effective engines rotating at such unusually high speeds; and, further, for proving that his ideas were right in actual practice. His little engines contained nothing new in their cycles of operation, but they provided the first step in the startlingly rapid development of petrol motive power which we have seen in the last twenty years. The high speed of rotation enabled motors to be constructed giving a very large power for a very small weight.

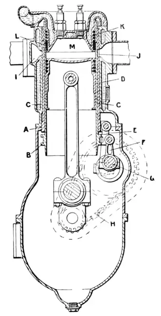
Fig. 1 is a diagrammatic section of an early Daimler motor. A is the cylinder, B the piston, C the connecting rod, and D the crank, which is entirely enclosed in a casing. A small fly-wheel is carried by the crank-shaft, and it serves the double purpose of a flywheel and a clutch, a is the combustion space, E the single port, which serves both for inlet of the charge and for discharge of exhaust. W is the exhaust valve, F the charge inlet valve, which is automatic in its action, and is held closed by a spring f, G the carburettor, H the igniter tube, I the igniter tube lamp, K the charge inlet passage, L the air filter chamber, and M an adjustable air inlet cap for regulating the air inlet area. The light oil—or petrol, as it is commonly called—is supplied to the float chamber N of the vaporizer by means of the valve O. So long as the level of the petrol is high, the float n, acting by levers about it, holds the valve O closed against oil forced by air pressure along the pipe P When the level falls, however, the valve opens and more petrol is admitted. When the piston B makes its suction stroke, air passes from the atmosphere by the passage K through the valve F, which it opens automatically. The pressure falls within the passage K, and a spurt of petrol passes by the jet G¹, separate air at the same time passing by the passage K¹ round the jet. The petrol breaks up into spray by impact against the walls of the passage K, and then it vaporizes and passes into the cylinder A as an inflammable mixture. When the piston B returns it compresses the charge into a, and upon compression the incandescent igniter tube H fires the charge. H is a short platinum tube, which is always open to the compression space. It is rendered incandescent by the burner I, fed with petrol from the pipe supplying the vaporizer.


Fig. 1.

The open incandescent tube is found to act well for small engines, and it does not ignite the charge until the compression takes place, because the inflammable mixture cannot come into contact with the hot part till it is forced up the tube by the compression. The engine is started by giving the crank-shaft a smart turn round by means of a detachable handle. The exhaust is alone actuated from the valve shaft. The shaft Q is operated by pinion and a spur-wheel Q² at half the rate of the crank-shaft. The governing is accomplished by cutting out explosions as with the gas engine, but the governor operates by preventing the exhaust valve from opening, so that no charge is discharged from the cylinder, and therefore no charge is drawn in. The cam R operates the exhaust valve, the levers shown are so controlled by the governor (not shown) that the knife edge S is pressed out when speed is too high, and cannot engage the recess T until it falls. The engine has a water jacket V, through which water is circulated. Cooling devices are used to economize water.

Benz of Mannheim followed close on the work of Daimler, and in France Panhard and Levassor, Peugeot, De Dion, Delahaye and Renault all contributed to the development of the petrol engine, while Napier, Lanchester, Royce and Austin were the most prominent among the many English designers.

The modern petrol engine differs in many respects from the Daimler engine just described both as to general design, method of carburetting, igniting and controlling the power and speed. The carburettor now used is usually of the float and jet type shown in fig. 1, but alterations have been made to allow of the production of uniform mixture in the cylinder under widely varying conditions of speed and load. The original form of carburettor was not well adapted to allow of great change of volume per suction stroke. Tube ignition has been abandoned, and the electric system is now supreme. The favourite type at present is that of the high-tension magneto. Valves are now all mechanically operated; the automatic inlet valve has practically disappeared. Engines are no longer controlled by cutting out impulses; the governing is effected by throttling the charge, that is by diminishing the volume of charge admitted to the cylinder at one stroke. Broadly, throttling by reducing charge weight reduces pressure of compression and so allows the power of the explosion to be graduated within wide limits while maintaining continuity of impulses. The object of the throttle control is to keep up continuous impulses for each cycle of operation, while graduating the power produced by each impulse so as to meet the conditions of the load.

Originally three types of carburettor were employed for dealing with light oil; first, the surface carburettor; second, the wick carburettor; and third, the jet carburettor. The surface carburettor has entirely disappeared. In it air was passed over a surface of light oil or bubbled through it; the air carried off a vapour to form explosive mixture. It was found, however, that the oil remaining in the carburettor gradually became heavier and heavier, so that ultimately no proper vaporization took place. This was due to the fractional evaporation of the oil which tended to carry away the light vapours, leaving in the vessel the oil, which produced heavy vapours. To avoid this fractionation the wick carburettor was introduced and here a complete portion of oil was evaporated at each operation so that no concentration of heavy oil was possible. The wick carburettor is still used in some cars, but the jet carburettor is practically universal. It has the advantage of discharging separate portions of oil into the air entering the engine, each portion being carried away and evaporated with all its fractions to produce the charge in the cylinder.

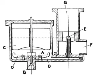
The modern jet carburettor appears to have originated with Butler, an English engineer, but it was first extensively used in the modification produced by Maybach as shown in fig. 1.

A diagrammatic section of a carburettor of the Maybach type is shown in a larger scale in fig. 2.

Fig. 2.

Petrol is admitted to the chamber A by the valve B which is controlled by the float C acting through the levers D, so that the valve B is closed when the float reaches a determined level and opened when it falls below it. The petrol flows into a jet E and stands at an approximately constant level within it. When the engine piston makes its suction stroke, the air enters from the atmosphere at F and passes to the cylinder through G. The pressure around the jet E thus falls, and the pressure of the atmosphere in the chamber A forces the petrol through E as a jet during the greater part of the suction stroke. An inflammable mixture is thus formed, which enters the cylinder by way of G. The area for the passage of air around the petrol jet E is constricted to a sufficient extent to produce the pressure fall necessary to propel the petrol through the jet E, and the area of the discharge aperture of the petrol jet E is proportioned to give the desired volume of petrol to form the proper mixture with air. The device in this form works quite well when the range of speed required from the engine is not great; that is, within limits, the volume of petrol thrown by the jet is fairly proportional to the air passing the jet. When, however, the speed range is great, such as in modern motors, which may vary from 300 to 1500 revolutions per minute under light and heavy loads, then it becomes impossible to secure proportionality sufficiently accurate for regular ignition. This implies not only a change of engine speed but a change of volume entering the cylinder at each stroke as determined by the position of the throttle. This introduces further complications. Throttle control implies a change of total charge volume per stroke, which change may occur either at a low or at a high speed. To meet this change the petrol jet should respond in such manner as to give a constant proportionality of petrol weight to air weight throughout all the variations—otherwise sometimes petrol will be present in excess with no oxygen to burn it, and at other times the mixture may be so dilute as to miss firing altogether. To meet these varying conditions many carburettors have been produced which seek by various devices to maintain uniformity of quality of mixture by the automatic change of throttle around the jet.

Fig. 3.

Fig. 3 shows in diagrammatic section one of the simplest of these contrivances, known as the Krebs carburettor. The petrol enters from the float chamber to the jet E; and, while the engine is running slowly, the whole supply of air enters by way of the passage F, mixes with the petrol and reaches the cylinders by way of the pipe G. The volume of charge entering the cylinder per stroke is controlled by the piston throttle valve H, operated by the rod I; and so long as the charge volume required remains small, air from the atmosphere enters only by F. When speed rises, however, and the throttle is sufficiently opened, the pressure within the apparatus falls and affects a spring-pressed diaphragm K, which actuates a piston valve controlling the air passages L, so that this valve opens to the atmosphere more and more with increasing pressure reduction, and additional air thus flows into the carburettor and mixes with the air and petrol entering through F. By this device the required proportion of air to petrol is maintained through a comparatively large volume range. This change of air admission is rendered necessary because of the difference between the laws of air and petrol flow. In order to give a sufficient weight of petrol at low speeds when the pressure drop is small, it is necessary to provide a somewhat large area of petrol jet. When suction increases owing to high speed, this large area discharges too much petrol, and so necessitates a device, such as that described, which admits more air.

A still simpler device is adopted in many carburettors—that of an additional air inlet valve, kept closed until wanted by a spring. Fig. 4 shows a diagrammatic section as used in the Vauxhall carburettor. Here the petrol jet and primary and secondary air passages are lettered as before.

The same effect is produced by devices which alter the area of the petrol jet or increase or diminish the number of petrol jets exposed as required. Although engine designers have succeeded in proportioning mixture through a considerable range of speed and charge demand, so as to obtain effective power explosions under all these conditions, yet much remains to be done to secure constancy of mixture at all speeds. Notwithstanding much which has been said as to varying mixture, there is only one mixture of air and petrol which gives the best results—that in which there is some excess of oxygen, more than sufficient to burn all the hydrogen and carbon present. It is necessary to secure this mixture under all conditions, not only to obtain economy in running but also to maintain purity of exhaust gases. Most engines at certain speeds discharge considerable quantities of carbonic oxide into the atmosphere with their exhaust gases, and some discharge so much as to give rise to danger in a closed garage. Carbonic oxide is an extremely poisonous gas which should be reduced to the minimum in the interests of the health of our large cities. The enormous increase of motor traffic makes it important to render the exhaust gases as pure and innocuous as possible. Tests were made by the Royal Automobile Club some years ago which clearly showed that carbonic oxide should be kept down to 2% and under when carburettors were properly adjusted. Subsequent experiments have been made by Hopkinson, Clerk and Watson, which clearly prove that in some cases as much as 30% of the whole heat of the petrol is lost in the exhaust gases by imperfect combustion. This opens a wide field for improvement, and makes it probable that with better carburettors motor cars would not only discharge purer exhaust gases but would work on very much less petrol than they do at present.

Fig. 4.

A.A. — Cylinders. M¹. — Oil Suction Pipe and Filler.
B.B. — Water Jackets. N. — Oil Channels.
G¹.— Oil Scoops on Big Ends. O.— Cam Shaft.
I.—Water Uptake. Q. — Throttle and Automatic Air Valve.
J.—Crank Chamber. R. — Main Mixture Pipe.
J¹.— Under Cover to Crank Chbr.  S. — Carburetter.
K. — Distribution Gear Case. U. — Magneto.
L.— Oil Sump. V. — Inlet Valve.
M. —Oil Pump. W.— Inlet Trunk.

Fig. 5.

Practically all modern petrol engines are controlled by throttling the whole charge. In the earlier days several methods of control were attempted: (1) missing impulses as in fig. 1 of the Daimler engines; (2) altering the timing of spark; (3) throttling petrol supply, and (4) throttling the mixture of petrol and air. The last method has proved to be the best. By maintaining the proportion of explosive mixture, but diminishing the total volume admitted to the cylinder per stroke, graduated impulses are obtained without any, or but few, missed ignitions. The effect of the throttling is to reduce compression by diminishing total charge weight. To a certain extent the proportion of petrol to total charge also varies, because the residual exhaust gases remain constant through a wide range. The thermal efficiency diminishes as the throttling increases; but, down to a third of the brake power, the diminution is not great, because although compression is reduced the expansion remains the same. At low compressions, however, the engine works practically as a non-compression engine, and the point of maximum pressure becomes greatly delayed. The efficiency, therefore, falls markedly, but this is not of much importance at light loads. Experiments by Callendar, Hopkinson, Watson and others have proved that the thermal efficiency obtained from these small engines with the throttle full open is very high indeed; 28% of the whole heat in the petrol is often given as indicated work when the carburettor is properly adjusted. As a large gas engine for the same compression cannot do better than 35%, it appears that the loss of heat due to small dimensions is compensated by the small time of exposure of the gases of explosion due to the high speed of rotation. Throttle control is very effective, and it has the great advantage of diminishing maximum

pressures to which the piston and cylinders are exposed while the engine is running at the lower loads. This is important both for smooth running and good wearing qualities. Theoretically, better results could be obtained from the point of view of economy by retaining a constant compression pressure, constant charge of air, and producing ignition, somewhat in the manner of the Diesel engine. Such a method, however, would have the disadvantage of producing practically the same maximum pressure for all loads, and this would tend to give an engine which would not run smoothly at slow speeds.

As has been said, tube ignition was speedily abandoned for electric ignition by accumulator, induction coil distributor and sparking plug. This in its turn was largely displaced by the low-tension magneto system, in which the spark was formed between contacts which were mechanically separated within the cylinders. The separable contacts gave rise to complications, and at present the most popular system of ignition is undoubtedly that of the high-tension magneto. In this system the ordinary high-tension sparking plugs are used, and the high-tension current is generated in a secondary winding on the armature of the magneto, and reaches the sparking plugs by way of a rotary distributor. In many cases the high-tension magneto system is used for the ordinary running of the engine, combined with an accumulator or battery and induction coil for starting the engine from rest. Such systems are called dual ignition systems. Sometimes the same ignition plugs are adapted to spark from either source, and in other cases separate plugs are used. The magneto systems have the great advantage of generating current without battery, and by their use noise is reduced to a minimum. All electrical systems are now arranged to allow of advancing and retarding the spark from the steering wheel. In modern magneto methods, however, the spark is automatically retarded when the engine slows and advanced when the speed rises, so that less change is required from the wheel than is necessary with battery and coil.

Sir Oliver Lodge has invented a most interesting system of electric ignition, depending upon the production of an extra oscillatory current of enormous tension produced by the combined use of spark gap and condenser. This extra spark passes freely even under water, and it is impossible to stop it by any ordinary sooting or fouling of the ignition plug.

The most popular engines are now of the four and six cylinder types.

Fig. 5 shows a modern four-cylinder engine in longitudinal and transverse sections as made by the Wolseley Company. A, A are the cylinders; B, B, water jackets; G¹, oil scoops on the large ends of the connecting-rods. These scoops take up oil from the crank chamber. Forced lubrication is used. The oil pump M is of the toothed wheel type, and it is driven by skew gearing. An oil sump is arranged at L, and the oil is pumped from this sump by the pump described. The overflow from the main bearings supplies the channels in the crank case from which the oil scoops take their charge. It will be seen that the two inside pistons are attached to cranks of coincident centres, and this is true of the two outside pistons also. This is the usual arrangement in four-cylinder engines. By this device the primary forces are balanced; but a small secondary unbalanced force remains, due to the difference in motion of the pistons at the up and down portions of their stroke. A six-cylinder engine has the advantage of getting rid of this secondary unbalanced force; but it requires a longer and more rigid crank chamber. In this engine the inlet and exhaust valves of each cylinder are placed in the same pocket and are driven from one cam-shaft. This is a very favourite arrangement; but many engines are constructed in which the inlet and exhaust valves operate on opposite sides of the cylinder in separate ports and are driven from separate camshafts. Dual ignition is applied to this engine; that is, an ignition composed of high-tension magneto and also battery and coil for starting. U is the high-tension magneto. Under the figure there is shown a list of parts which sufficiently indicate the nature of the engine.

An interesting and novel form of engine is shown at fig. 6. This is a well-known engine designed by Mr Knight, an American inventor, and now made by the Daimler and other companies. It will be observed in the figure that the ordinary lift valves are entirely dispensed with, and slide valves are used of the cylindrical shell type. The engine operates on the ordinary Otto cycle, and all the valve actions necessary to admit charge and discharge exhaust gases are accomplished by means of two sleeves sliding one within the other.

The outer sleeve slides in the main cylinder and the inner sleeve slides within the outer sleeve. The piston fits within the inner sleeve. The sleeves receive separate motions from short connecting links C and E, driven by eccentrics carried on a shaft W. This shaft is driven from the main crank-shaft by a strong chain so as to make half the revolutions of the crank-shaft in the usual manner of the Otto cycle. The inlet port is formed on one side of the cylinder and is marked I. The exhaust port is arranged on the other side and marked J. These ports are segmental. A water-jacketed cylinder head carries stationary rings L, K, which press outwards. These are clearly shown in the drawing. The inner sleeve ports run past the lower broad ring L when compression is to be accomplished, and the contents of the cylinder are retained within the cylinder and compression space by the piston rings and the fixed rings referred to.

Fig. 6.

The outer sleeve does not require rings at all. Its function is simply to distribute the gases so that the exhaust port is closed by the outer sleeve when the inlet port is open. The outer sleeve acts really as a distributor; the inner sleeve supplies the pressure tightness required to resist compression and explosion. The idea of working exhaust and inlet by two sleeves within which the main piston operates is very daring and ingenious; and for these small engines the sleeve valve system works admirably. There are many advantages; the shape of the compression space is a most favourable one for reducing loss by cooling. All the valve ports required in ordinary lift valve engines are entirely dispensed with; that is, the surface exposed to the explosion causing loss of heat is reduced to a minimum. The engines are found in use to be very flexible and economical.

The petrol engines hitherto described, although light compared to the old stationary gas engines, are heavy when compared with recent motors developed for the purpose of aeroplanes. Many of these motors have been produced, but two only will be noticed here—the Anzani, because Bleriot’s great flight across the Channel was accomplished by means of an Anzani engine, and the Gnome engine, because it was used in the aeroplane with which Paulhan flew from London to Manchester.

Fig. 7 shows transverse and longitudinal sections through the Anzani motor. Looking at the longitudinal section it will be observed that the cylinders are of the air-cooled type; the exhaust valves alone are positively operated, and the inlet valves are of the automatic lift kind. The transverse section shows that three radially arranged cylinders are used and three pistons act upon one crank-pin.

Fig. 7.
Fig. 7.

Fig. 7.

The Otto cycle is followed, so that two impulses are obtained for every three revolutions. The cylinders are spaced apart 60° and project from the upper side of the crank chamber. Although not shown in the drawing, the pistons overrun a row of holes at the out end of the stroke and the exhaust first discharges through these holes. This is a very common device in aeroplane engines, and it greatly increases the rapidity of the exhaust discharged and reduces the work falling upon the exhaust valve. The pistons and cylinders are of cast iron; the rings are of cast iron; the ignition is electric, and the petrol is fed by gravity. The engine used by Blériot in his Cross-Channel flight was 25 H.P., cylinders 105 mm. bore × 130 mm. stroke; revolutions, 1600 per minute; total weight, 145 ℔. The engine, it will be seen, is exceedingly simple, although air-cooling seems somewhat primitive for anything except short flights. The larger Anzani motors are water-cooled.

A diagrammatic transverse section of the Gnome motor is shown at fig. 8. In this interesting engine there are seven cylinders disposed radially round a fixed crank-shaft. The seven pistons are all connected to the same crank-shaft, one piston being rigidly connected to a big end of peculiar construction by a connecting-rod, while the other connecting-rods are linked on to the same big end by pins; that is, a hollow fixed crank-shaft has a single throw to which only one connecting-rod is attached; all the other connecting-rods work on pins let into the big end of that connecting-rod. The cylinders revolve round the fixed crank in the manner of the well-known engines first introduced to practice by Mr John Rigg. The explosive mixture is led from the carburettor through the hollow crank-shaft into the crank-case, and it is admitted into the cylinders by means of automatic inlet valves placed in the heads of the pistons. The exhaust valves are arranged on the cylinder heads. Dual ignition is provided by high tension magneto and storage battery and coil. The cylinders are ribbed outside like the Anzani, and are very effectively air-cooled by their rotation through the air as well as by the passage of the aeroplane through the atmosphere. The cylinders in the 35 H.P. motor are 110 mm. bore × 120 mm. stroke. The speed of rotation is usually 1200 revolutions per minute. The total weight of the engine complete is 180 ℔, or just over 5 ℔ per brake horse-power. The subject of aeroplane petrol engines is a most interesting one, and rapid progress is being made.


Fig. 8.


So far, only 4-cycle engines have been described, and they are almost universal for use in motor-cars and aeroplanes. Some motor cars, however, use 2-cycle engines. Several types follow the “Clerk” cycle (see Gas Engine) and others the “Day” cycle. In America the Day cycle is very popular for motor launches, as the engine is of a very simple, easily managed kind. At present, however, the two-cycle engine has made but little way in motor car or aeroplane work. It is capable of great development and the attention given to it is increasing.

So far, petrol has been alluded to as the main liquid fuel for these motors. Other hydrocarbons have also been used; benzol, for example, obtained from gas tar is used to some extent, and alcohol has been applied to a considerable extent both for stationary and locomotive engines. Alcohol, however, has not been entirely successful. The amount of heat obtained for a given monetary expenditure is only about half that obtained by means of petrol. On the continent of Europe, however, alcohol motors have been considerably used for public vehicles.

The majority of petrol motors are provided with water jackets around their cylinders and combustion spaces. As only a small quantity of water can be carried, it is necessary to cool the water as fast as it becomes hot. For this purpose radiators of various constructions are applied. Generally a pump is used to produce a forced circulation, discharging the hot water from the engine jackets through the radiator and returning the cooled water to the jackets at another place. The radiators consist in some cases of fine tubes covered with projecting fins or gills; the motion of the car forces air over the exterior of those surfaces and is assisted by the operation of a powerful fan driven from the engine. A favourite form of radiator consists of numerous small tubes set into a casing and arranged somewhat Like a steam-engine condenser. Water is forced by the pump round these tubes, and air passes from the atmosphere through them. This type of radiator is sometimes known as the “honeycomb” radiator. A very large cooling surface is provided, so that the same water is used over and over again. In a day’s run with a modern petrol engine very little water is lost from the system. Some engines dispense with a pump and depend on what is called the thermo-syphon. This is the old gas-engine system of circulation, depending on the different density of water when hot and cool. The engine shown at fig. 5 is provided with a water-circulation system of this kind. For the smaller engines the thermo-syphon works extremely well.

Heavy oil engines are those which consume oil having a flashing-point above 73° F.—the minimum at present allowed by act of parliament in Great Britain for oils to be consumed in ordinary illuminating lamps. Such oils are American and Russian petroleums and Scottish paraffins. They vary in specific gravity from ·78 to ·825, and in flashing-point from 75° to 152° F. Engines burning such oils may be divided into three distinct classes: (1) Engines in which the oil is subjected to a spraying operation before vaporization; (2) Engines in which the oil is injected into the cylinder and vaporized within the cylinder; (3) Engines in which the oil is vaporized in a device external to the cylinder and introduced into the cylinder in the state of vapour.

The method of ignition might also be used to divide the engines into those igniting by the electric spark, by an incandescent tube, by compression, or by the heat of the internal surfaces of the combustion space. Spiel’s engine was ignited by a flame igniting device similar to that used in Clerk’s gas engine, and it was the only one introduced into Great Britain in which this method was adopted, though on the continent flame igniters were not uncommon. Electrically-operated igniters have come into extensive use throughout the world.


Fig. 9.—Perfume Spray Producer.

The engines first used in Great Britain which fell under the first head were the Priestman and Samuelson, the oil being sprayed before being vaporized in both. The principle of the spray producer used is that so well and so widely known in connexion with the atomizers or spray producers used by perfumers. Fig. 9 shows such a spray producer in section. An air blast passing from the small jet A crosses the top of the tube B and creates within it a partial vacuum. The liquid contained in C flows up the tube B and issuing at the top of the tube through a small orifice is at once blown into very fine spray by the action of the air jet. If such a scent distributor be filled with petroleum oil, such as Royal Daylight or Russoline, the oil will be blown into fine spray, which can be ignited by a flame and will burn, if the jets be properly proportioned, with an intense blue non-luminous flame. The earlier inventors often expressed the idea that an explosive mixture could be prepared without any vaporization whatever, by simply producing an atmosphere containing inflammable liquid in extremely small particles distributed throughout the air in such proportion as to allow of complete combustion. The familiar explosive combustion of lycopodium, and the disastrous explosions caused in the exhaustion rooms of flour-mills by the presence of finely divided flour in the air, have also suggested to inventors the idea of producing explosions for power purposes from combustible solids. Although, doubtless, explosions could be produced in that way, yet in oil engines the production of spray is only a preliminary to the vaporization of the oil. If a sample of oil is sprayed in the manner just described, and injected in a hot chamber also filled with hot air, it at once passes into a state of vapour within that chamber, even though the air be at a temperature far below the boiling-point of the oil; the spray producer, in fact, furnishes a ready means of saturating any volume of air with heavy petroleum oil to the full extent possible from the vapour tension of the oil at that particular temperature. The oil engines described below are in reality explosion gas engines of the ordinary Otto type, with special arrangements to enable them to vaporize the oil to be used. Only such parts of them as are necessary for the treatment and ignition will therefore be described.

Fig. 10 is a vertical section through the cylinder and vaporizer of a Priestman engine, and fig. 11 is a section on a larger scale, showing the vaporizing jet and the air admission and regulation valve leading to the vaporizer.


Fig. 10.—Priestman Oil Engine (vertical section through cylinder and vaporizer).

Oil is forced by means of air pressure from a reservoir through a pipe to the spraying nozzle 𝑎, and air passes
Fig. 11.—Priestman Oil Engine
(section on a larger scale).
from an air-pump by way of the annular channel 𝑏 into the sprayer 𝑐, and there meets the oil jet issuing from 𝑎. The oil is thus broken up into spray, and the air charged with spray flows into the vaporizer E, which is heated up in the first place on starting the engine by means of a lamp. In the vaporizer the oil spray becomes oil vapour, saturating the air within the hot walls. On the out-charging stroke of the piston the mixture passes by way of the inlet valve H into the cylinder, air flowing into the vaporizer to replace it through the valve 𝑙 (fig. 11). The cylinder K is thus charged with a mixture of air and hydrocarbon vapour, some of which may exist in the form of very fine spray. The piston L then returns and compresses mixture, and when the compression is quite complete an electric spark is passed between the points M, and a compression explosion is obtained precisely similar to that obtained in the gas engine. The piston moves out, and on its return stroke the exhaust valve N is opened and the exhaust gases discharged by way of the pipe O, round the jacket P, enclosing the vaporizing chamber. The latter is thus kept hot by the exhaust gases when the engine is at work, and it remains sufficiently hot without the use of the lamp provided for starting. To obtain the electric spark a bichromate battery with an induction coil is used. The spark is timed by contact pieces operated by an eccentric rod, used to actuate the exhaust valve and the air-pump for supplying the oil chamber and the spraying jet. To start the engine a hand pump is worked until the pressure is sufficient to force the oil through the spraying nozzle, and oil spray is formed in the starting lamp; the spray and air mixed produce a blue flame which heats the vaporizer. The fly-wheel is then rotated by hand and the engine moves away. The eccentric shaft is driven from the crank-shaft by means of toothed wheels, which reduce the speed to one-half the revolutions of the crank-shaft. The charging inlet valve is automatic. Governing is effected by throttling the oil and air supply. The governor operates on the butterfly valve T (fig. 11), and on the plug-cock 𝑡 connected to it, by means of the spindle 𝑡′. The air and oil arc thus simultaneously reduced, and the attempt is made to maintain the charge entering the cylinder at a constant proportion by weight of oil and air, while reducing: the total weight, and therefore volume, of the charge entering. The Priestman engine thus gives an explosion on every second revolution in all circumstances, whether the engine be running light or loaded. The compression pressure of the mixture before admission is, however, steadily reduced as the load is reduced, and at very light loads the engine is running practically as a non-compression engine.

A test by Professor Unwin of a 41/2 nominal horse-power Priestman engine, cylinder 8·5 in, diameter, 12 in. stroke, normal speed 180 revolutions per minute, showed the consumption of oil per indicated horse-power hour to be 1·066 ℔ and per brake horse-power hour 1·243 ℔. The oil used was that known as Broxburn Lighthouse, a Scottish paraffin oil produced by the destructive distillation of shale, having a density of ·81 and a flashing-point about 152° F. With a 5 H.P. engine of the same dimensions, the volume swept by the piston per stroke being ·395 cub. ft. and the clearance space in the cylinder at the end of the stroke ·210 cub. ft., the principal results were:—

Daylight Oil. Russoline Oil.
Indicated horse-power  9·369  7·408
Brake horse-power  7·722  6·765
Mean speed (revolutions per minute) 204·33   207·73  
Mean available pressure (revolutions per minute) 53·2 41·38 
Oil consumed per indicated horse-power per hour    ·694 ℔   ·864 ℔
Oil consumed per brake horse-power per hour   ·842 ℔   ·946 ℔

With daylight oil the explosion pressure was 151·4 ℔ per square inch above atmosphere, and with Russoline 134·3 ℔. The terminal pressure at the moment of opening the exhaust valve with daylight oil was 35·4 ℔ and with Russoline 33·7 per square inch. The compression pressure with daylight oil was 35 ℔, and with Russoline 27·6 ℔ pressure above atmosphere. Professor Unwin calculated the amount of heat accounted for by the indicator as 18·8% in the case of daylight oil and 15·2 in the case of Russoline oil.

Fig. 12.—Hornsby-Ackroyd Fig. 13.—Hornsby-Ackroyd
Engine (section through Engine (section through valves,
vaporizer and cylinder). vaporizer and cylinder).

The Hornsby-Ackroyd engine is an example of the class in which the oil is injected into the cylinder and there vaporized. Fig. 12 is a section through the vaporizer and cylinder of this engine, and fig. 13 shows the inlet and exhaust valves also in section placed in front of the vaporizer and cylinder section. Vaporizing is conducted in the interior of the combustion chamber, which is so arranged that the heat of each explosion maintains it at a temperature sufficiently high to enable the oil to be vaporized by mere injection upon the hot surfaces. The vaporizer A is heated up by a separate lamp, the oil is injected at the oil inlet B, and the engine is rotated by hand. The piston then takes in a charge of air by the air-inlet valve into the cylinder, the air passing by the port directly into the cylinder without passing through the vaporizer chamber. While the piston is moving forward, taking in the charge of air, the oil thrown into the vaporizer is vaporizing and diffusing itself through the vaporizer chamber, mixing, however, only with the hot products of combustion left by the preceding explosion. During the charging stroke the air enters through the cylinder, and the vapour formed from the oil is almost entirely confined to the combustion chamber. On the return stroke of the piston air is forced through the somewhat narrow neck a into the combustion chamber, and is there mixed with the vapour contained in it. At first, however, the mixture is too rich in inflammable vapour to be capable of ignition. As the compression

proceeds, however, more and more air is forced into the vaporizer chamber, and just as compression is completed the mixture attains proper explosive proportions. The sides of the chamber are sufficiently hot to cause explosion, under the pressure of which the piston moves forward. As the vaporizer A is not water-jacketed, and is connected to the metal of the back cover only by the small section or area of cast-iron forming the metal neck a, the heat given to the surface by each explosion is sufficient to keep its temperature at about 700-800° C. Oil vapour mixed with air will explode by contact with a metal surface at a comparatively low temperature; this accounts for the explosion of the compressed mixture in the combustion chamber A, which is never really raised to a red heat. It has long been known that under certain conditions of internal surface a gas engine may be made to run with very great regularity, without incandescent tube or any other form of igniter, if some portion of the interior surfaces of the cylinder or combustion space be so arranged that the temperature can rise moderately; then, although the temperature may be too low to ignite the mixture at atmospheric temperature, yet when compression is completed the mixture will often ignite in a perfectly regular manner. It is a curious fact that with heavy oils ignition is more easily accomplished at a low temperature than with light oils. The explanation seems to be that, while in the case of light oils the hydrocarbon vapours formed are tolerably stable from a chemical point of view, the heavy oils very easily decompose by heat, and separate out their carbons, liberating the combined hydrogen, and at the moment of liberation the hydrogen, being in what chemists know as the nascent state, very readily enters into combination with the oxygen beside it. To start the engine the vaporizer is heated by a separate heating lamp, which is supplied with an air blast by means of a hand-operated fan. This operation should take about nine minutes. The engine is then moved round by hand, and starts in the usual manner. The oil tank is placed in the bed plate of the engine. The air and exhaust valves are driven by cams on a valve shaft. The governing is effected by a centrifugal governor which operates a by-pass valve, opening it when the speed is too high, and causes the oil pump to return the oil to the oil tank. At a test of one of these engines, which weighed 40 cwt. and was given as of 8 brake horse-power, with cylinder 10 in. in diameter and 15 in. stroke, according to Professor Capper’s report, the revolutions were very constant, and the power developed did not vary one quarter of a brake horse-power from day to day. The oil consumed, reckoned on the average of the three days over which the trial extended, was ·919 ℔ per brake horse-power per hour, the mean power exerted being 8·35 brake horse. At another full-power trial of the same engine a brake horse-power of 8·57 was obtained, the mean speed being 239·66 revolutions per minute and the test lasting for two hours; the indicated power was 10·3 horse, the explosions per minute 119·83, the mean effective pressure 28·9 per sq. in., the oil used per indicated horse-power per hour was ·81 ℔, and per brake horse-power per hour —·977 ℔. In a test at half power, the brake horse-power developed was 4·57 at 235·9 revolutions per minute, and the oil used per brake horse-power was 1·48 ℔. On a four hours’ test, without a load, at 240 revolutions per minute, the consumption of oil was 4·23 ℔ per hour. Engines of this class are those manufactured by Messrs Crossley Bros., Ltd., and the National Gas Engine Co., Ltd.


Fig. 14.—Crossley Oil Engine.

Figs. 14 and 15 show a longitudinal section and detail views of the operative parts of the Crossley oil engine. On the suction stroke, air is drawn into the cylinder by the piston A through the automatic inlet valve D, and oil is then pumped into the heated vaporizer C through the oil sprayer G, as seen in section at fig. 15. The vaporizer C is bolted to the water-jacketed part B; and, like the Hornsby, this vaporizer is first heated by lamp and then the heat of the explosions keeps up its temperature to a sufficiently high point to vaporize the oil when sprayed against it. On the compression stroke of the piston A the charge of air is forced into the combustion chamber B and the vaporizer chamber C, where it mixes with the oil vapour, and the mixture is ignited at the termination of the stroke by the ignition tube H. This tube is isolated to some extent from the vaporizer chamber C, and so it becomes hotter than the chamber C and is relied upon to ignite the mixture when formed at times when C would be too cold for the purpose. E is the exhaust valve, which operates in the usual way. The water circulation passes through the jacket by way of the pipes J and K. When the engine is running at heavy loads with full charges of oil delivered by the oil pump through the sprayer G, a second pump is caused to come into action, which discharges a very small quantity of water through the water sprayer valve F. This water passes into the vaporizer and combustion chamber, together with a little air, which enters by the automatic inlet valve, which serves as sprayer. This contrivance is found useful to prevent the vaporizer from overheating at heavy loads.


Fig. 15.—Crossley Oil Engine.

The principal difference between this engine and the Hornsby engine already described lies in the use of the separate ignition tube H and in the water sprayer F, which acts as a snifting valve, taking in a little air and water when the engine becomes hot. Messrs Crossley inform the writer that the consumption of either crude or refined oil is about ·63 of a pint per horse-power on full load. They also give a test of a small engine developing 7 B.H.P., which consumed ·601 pint per B.H.P. per hour of Rock Light refined lamp oil and only ·603 pint per B.H.P. per hour of crude Borneo petroleum oil.

Engines in which the oil is vaporized in a device external to the cylinder have almost disappeared, because of the great success of the Hornsby-Ackroyd type, where oil is injected into, and vaporized within, the cylinder. It has been found, however, that many petrol engines having jet carburettors will operate with the heavier oils if the jet carburettor is suitably heated by means of the exhaust gases. In some engines it is customary to start with petrol, and then when the parts have become sufficiently heated to substitute paraffin or heavy petroleum oil, putting the heavy oil through the same spraying process as the petrol and evaporating the spray by hot walls before entering the cylinder.

Mr Diesel has produced a very interesting engine which departs considerably from other types. In it air alone is drawn into the cylinder on the charging stroke; the air is compressed on the return stroke to a very high pressure generally to over 400 ℔ per sq. in. This compression raises the air to incandescence, and then heavy oil is injected into the incandescent air by a small portion of air compressed to a still higher point. The oil ignites at once as it enters the combustion space, and so a power impulse is obtained, but without explosion. The pressure does not rise above the pressure of air and oil injection. The Diesel engine thus embodies two very original features; it operates at compression pressures very much higher than those used in any other internal combustion engines, and it dispenses with the usual igniting devices by rendering the air charge incandescent by compression. The engine operates generally on the Otto cycle, but it is also built giving an impulse at every revolution. Mr Diesel has shown great determination and perseverance, and the engine has now attained a position of considerable commercial importance. It is made on the continent, in England and in America in sizes up to 1000 H.P., and it has been applied to many purposes on land and also to the propulsion of small vessels. The engine gives a very high thermal efficiency. The present writer has calculated the following values from a test of a 500 B.H.P. Diesel oil engine made by Mr Michael Longridge, M.Inst.C.E. The engine had three cylinders, each of 22·05 in. diameter and stroke 29·52 in., each cylinder operating on the “Otto” cycle. The main results were as follows:—

Indicated power 595 horse
Brake power 459  ,,
Mechanical efficiency  77%
Indicated thermal efficiency  41%
Brake thermal efficiency 31·7%

 (D. C.)